вконтакте

Контактный телефон: +7 (981) 121-46-93, +7 (800) 200-90-76 , Email: parts-katalog@yandex.ru, где купить

 
 

  Логин:

Пароль:

Регистрация

www.partskatalog.ru Все каталоги Запчасти Mercury Запчасти Suzuki Запчасти Tohatsu Запчасти Honda Контакты



УВАЖАЕМЫЕ КЛИЕНТЫ!
C 19 ДЕКАБРЯ 2025 ПО 02 МАРТА 2026 ГОДА ОТДЕЛ ЗАПЧАСТЕЙ И СЕРВИС РАБОТАТЬ НЕ БУДУТ
ПРОДАЖА ЛОДОЧНЫХ МОТОРОВ В ШТАТНОМ РЕЖИМЕ
ОБ ИЗМЕНЕНИЯХ В ГРАФИКЕ РАБОТЫ ЧИТАЙТЕ НА САЙТА




Выбрать другую модель

назад Раздел:   вперёд

вернуться к списку узлов и деталей

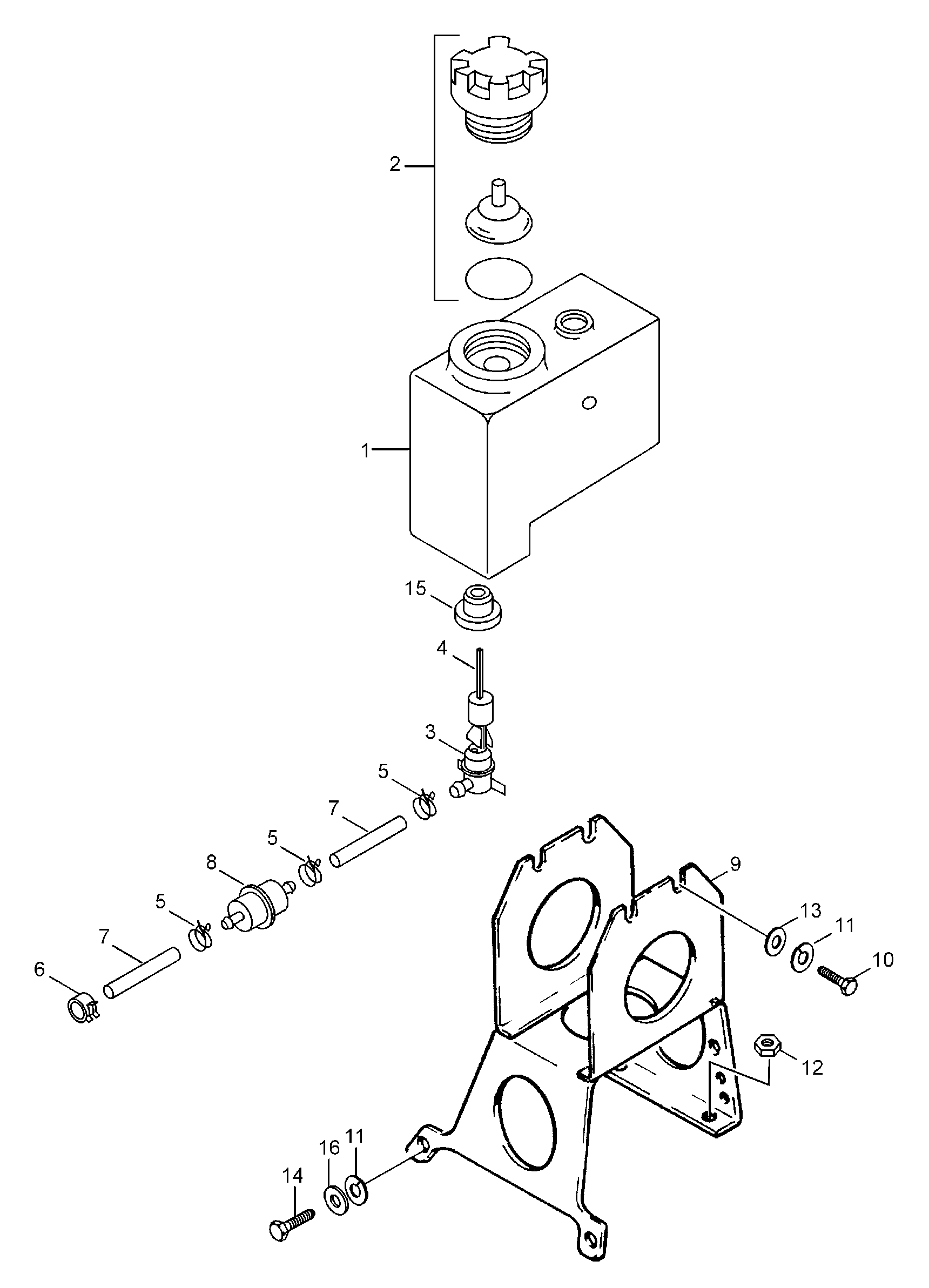
ДЕТАЛИРОВКА ДЛЯ МОДЕЛИ: LYNX Sport XR 500F, 1999


Snowmobile Лункс  - Масляный бак / Oil Tank

Номер на
рисунке
АртикулНаименованиеКол-во
на складе
Цена
1572091600

Масляный бак (Oil tank)

под заказпо запросу
1572106700

(последний код) RESERVOIR HUILE*TANK-OIL

под заказпо запросу
2572071000

Колпачок (Cap)

под заказ1930 руб.
2519000044

(последний код) BOUCHON *CAP

под заказ3350 руб.
207-288-01

     (не оригинальная запчасть) Крышка топливного/масляного бака BRP 07-288-01

под заказ660 руб.
3414681800

Oil level Датчик (Oil level sensor)

под заказпо запросу
3216818

(последний код) OIL LEVEL SENSOR 414681800 BBD

под заказпо запросу
4414681900

Поплавок для Датчик (Float for sensor)

под заказпо запросу
42196819

(последний код) KOHO SENSORILLE(USE 414681900)

под заказпо запросу
527119F

Пружина Зажим (Spring clip)

под заказпо запросу
6414420700

Пружина Зажим (Spring clip)

под заказ140 руб.
627414420700

(последний код) SPRING CLIP 414420700

под заказ110 руб.
739046

Шланг 11 / 8 (Hose 11/8)

под заказ1500 руб.
73999046

(последний код) HOSE 11/8 (USE 39046)

под заказ710 руб.
8414536500

Масляный фильтр (Oil filter)

под заказ310 руб.
807-246-05

     (не оригинальная запчасть) Фильтр масляный универсальный 07-246-05

под заказ370 руб.
807-246-06

     (не оригинальная запчасть) Фильтр масляный BRP 07-246-06

под заказ470 руб.
807-246-08

     (не оригинальная запчасть) Масляный фильтр 07-246-08

под заказ470 руб.
95344677

Oiltank sвышеport (Oiltank support)

под заказ2130 руб.
1040114

Винт M6x10 (Screw M6x10)

под заказ30 руб.
1120052

Шайба с блокировкой (Lock washer)

под заказ120 руб.
11234161471

(последний код) WASHER-LOCK BLACK DIN.127B

под заказ130 руб.
1233010

Гайка elastic M6 (Nut elastic M6)

под заказ20 руб.
12842042

(последний код) LOCKING NUT (USE 33010)

под заказ20 руб.
1320009

Шайба (Washer)

под заказпо запросу
13542376

(последний код) WASHER

под заказпо запросу
1440029

Винт M6x16 (Screw M6x16)

под заказ30 руб.
15570023000

Пыльник (Grommet)

под заказ580 руб.
152890230

(последний код) GROMMET (USE 570023000)

под заказ450 руб.
15SM-07403

     (не оригинальная запчасть) Уплотнительная втулка масляного бачка BRP SM-07403

под заказ140 руб.
16AT-08541

     (не оригинальная запчасть) Пыльник шрус AT-08541

под заказ1 460 руб.
16201-409F-01B.001

     (не оригинальная запчасть) Привод для Yamaha 201-409F-01B.001

под заказ17 260 руб.
16201-410R-01L.001

     (не оригинальная запчасть) Привод для Yamaha 201-410R-01L.001

под заказ17 260 руб.
16201-423R-01B.001

     (не оригинальная запчасть) Привод для Yamaha 201-423R-01B.001

под заказ17 260 руб.
16201-410R-01R.001

     (не оригинальная запчасть) Привод для Yamaha 201-410R-01R.001

под заказ17 260 руб.
16AT-08540

     (не оригинальная запчасть) Пыльник шрус AT-08540

под заказ1 390 руб.
16010-824PK

     (не оригинальная запчасть) Поршневой к-т Yamaha 1300R (номинал) 010-824PK

под заказ12 950 руб.
166A0-24421-01

     (не оригинальная запчасть) Клапаны в топливный насос Yamaha 6A0-24421-01

под заказнет данных
16AT-01100

     (не оригинальная запчасть) Реле стартера Yamaha AT-01100

под заказ2 810 руб.
16SM-01109

     (не оригинальная запчасть) Задний фонарь Yamaha SM-01109

под заказ3 300 руб.
166H3-11181-A0

     (не оригинальная запчасть) Прокладка под головку Yamaha 6H3-11181-A0

под заказнет данных
16010-495-01K

     (не оригинальная запчасть) Ремкомплект RAVE клапана BRP 787RFI 010-495-01K

под заказ19 400 руб.
16SM-01364

     (не оригинальная запчасть) Статор BRP SM-01364

под заказ23 730 руб.
1618-3551

     (не оригинальная запчасть) Термостат Mercruiser 18-3551

под заказ1 990 руб.
16NW-40006

     (не оригинальная запчасть) Поршневой к-т Yamaha 1300R (номинал) NW-40006

под заказ10 870 руб.
16SM-07213

     (не оригинальная запчасть) Топливный насос BRP SM-07213

под заказ9 930 руб.
16SM-07214

     (не оригинальная запчасть) Топливный насос Yamaha SM-07214

под заказ6 890 руб.
16SM-03287

     (не оригинальная запчасть) Ремкомплект ведомого вариатора Arctic Cat SM-03287

под заказ3 130 руб.
16ATV-YA-804

     (не оригинальная запчасть) Привод для квадроцикла Yamaha ATV-YA-804

под заказ14 400 руб.
16ATV-YA-809

     (не оригинальная запчасть) Привод для квадроцикла Yamaha ATV-YA-809

под заказ14 400 руб.
16SC-GS090

     (не оригинальная запчасть) Прокладка под головку Yamaha SC-GS090

под заказ1 740 руб.
16ATV-YA-808

     (не оригинальная запчасть) Привод для Yamaha ATV-YA-808

под заказ14 400 руб.
16ATV-YA-803

     (не оригинальная запчасть) Привод для Yamaha ATV-YA-803

под заказ14 400 руб.
16SM-10108

     (не оригинальная запчасть) Ремкомплект помпы охлаждения Polaris SM-10108

под заказ10 800 руб.
16SM-10107

     (не оригинальная запчасть) Ремкомплект помпы охлаждения Polaris SM-10107

под заказ15 300 руб.
lynx

 
 

данный сайт носит информационный характер и не является публичной офертой

склад запчастей для водомоторной техники