вконтакте

Контактный телефон: +7 (981) 121-46-93, +7 (800) 200-90-76 , Email: parts-katalog@yandex.ru, где купить

 
 

  Логин:

Пароль:

Регистрация

www.partskatalog.ru Все каталоги Запчасти Mercury Запчасти Suzuki Запчасти Tohatsu Запчасти Honda Контакты



УВАЖАЕМЫЕ КЛИЕНТЫ!
C 19 ДЕКАБРЯ 2025 ПО 02 МАРТА 2026 ГОДА ОТДЕЛ ЗАПЧАСТЕЙ И СЕРВИС РАБОТАТЬ НЕ БУДУТ
ПРОДАЖА ЛОДОЧНЫХ МОТОРОВ В ШТАТНОМ РЕЖИМЕ
ОБ ИЗМЕНЕНИЯХ В ГРАФИКЕ РАБОТЫ ЧИТАЙТЕ НА САЙТА




Выбрать другую модель

назад Раздел:   вперёд

вернуться к списку узлов и деталей

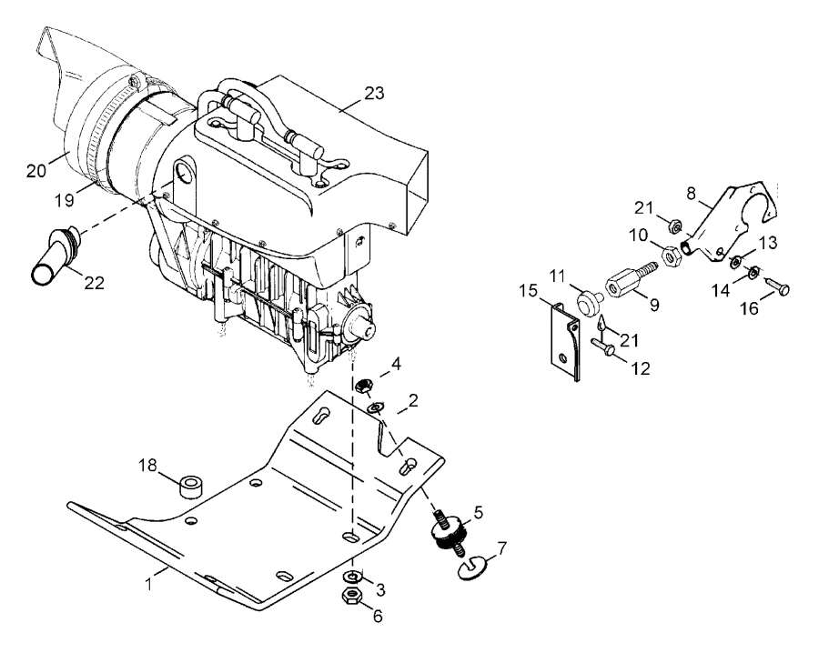
ДЕТАЛИРОВКА ДЛЯ МОДЕЛИ: LYNX Rave Snowcross, 1999


Snow mobile Lynx  - Fuel Tank / Топливный бак

Номер на
рисунке
АртикулНаименованиеКол-во
на складе
Цена
15243838

Топливный бак (Fuel tank)

под заказ14380 руб.
25442152

Air vent fitting a’ssy (Air vent fitting a’ssy)

под заказпо запросу
328037

Rubber (Rubber)

под заказ340 руб.
3

(последний код)

под заказпо запросу
427040

Струбцина (Clamp)

под заказ690 руб.
4605627005

(последний код) Clamp MINI ABA 13

под заказ760 руб.
6414872100

Топливный фильтр (Fuel filter)

под заказ1150 руб.
607-241-02

     (не оригинальная запчасть) Фильтр топливный в бак BRP/Polaris 07-241-02

под заказ720 руб.
739048

Fuel line 12.5 / 7.5 (Fuel line 12.5/7.5)

под заказ950 руб.
7513033332

(последний код) BOYAU *HOSE

под заказ1380 руб.
85341709

Angle adapter (Angle adapter)

под заказ980 руб.
8

(последний код)

под заказпо запросу
939046

Шланг 11 / 8 (Hose 11/8)

под заказ1500 руб.
93999046

(последний код) HOSE 11/8 (USE 39046)

под заказ710 руб.
10415119300

пластиковый T-fitting (Prime (Plastic T-fitting (Prime)

под заказ230 руб.
10414875200

(последний код) RACCORD EN T *FITTING-T

под заказ170 руб.
11414536500

Топливный фильтр (Fuel filter)

под заказ310 руб.
1107-246-05

     (не оригинальная запчасть) Фильтр масляный универсальный 07-246-05

под заказ370 руб.
1107-246-06

     (не оригинальная запчасть) Фильтр масляный BRP 07-246-06

под заказ470 руб.
1107-246-08

     (не оригинальная запчасть) Масляный фильтр 07-246-08

под заказ470 руб.
1228012

Трубопровод (Tubing)

под заказ440 руб.
12605356081

(последний код) Cover Tube (1pac=1M)

под заказ340 руб.
1327119F

Струбцина (Clamp)

под заказпо запросу
14572230500

Колпачок assembly (Cap assembly)

под заказпо запросу
14581108300

(последний код) BOUCHON RES.ESS*CAP-FUEL TANK

под заказпо запросу
14SM-07093

     (не оригинальная запчасть) Крышка топливного бака BRP SM-07093

под заказ1 730 руб.
14AT-07559

     (не оригинальная запчасть) Крышка топливного бака универсальная AT-07559

под заказ3 830 руб.
1740211

Винт M6x35 (Screw M6x35)

под заказ20 руб.
1833200

Гайка M6 (Nut M6)

под заказпо запросу
1833072

(последний код) NUT-FLANGE HEX. M6 DIN 6927 8.8 YIC

под заказпо запросу
19414479200

Primer (Primer)

под заказ2550 руб.
19415060500

(последний код) AMORCEUR *PRIMER

под заказ3850 руб.
2039035

AirШланг 5 / 3 (Airhose 5/3)

под заказ190 руб.
2121062

“T”fitting, fuel (“T”fitting, fuel)

под заказпо запросу
215493416

(последний код) T-FITTING, PRIMER

под заказпо запросу
22543230

Струбцина, primer hode (Clamp, primer hode)

под заказ500 руб.
23403901200

Топливный насос (Fuel pump)

под заказпо запросу
2439001

Fuel line 11 / 6 (Fuel line 11/6)

под заказ900 руб.
24415080200

(последний код) BOYAU POLYURE *POLYURETHANE HOSE

под заказ1150 руб.
25414420700

Пружина Зажим (Spring clip)

под заказ140 руб.
2527414420700

(последний код) SPRING CLIP 414420700

под заказ110 руб.
27549200

Gauge Наклейка, empty (Gauge decal, empty)

под заказпо запросу
29414554800

Пружина Струбцина (Spring clamp)

под заказ140 руб.
29414278600

(последний код) BRIDE A RESSORT*CLAMP-SPRING

под заказ110 руб.
3040193

Винт M6x50 (Screw M6x50)

под заказ80 руб.
3233200

Гайка M6 (Nut M6)

под заказпо запросу
3233072

(последний код) NUT-FLANGE HEX. M6 DIN 6927 8.8 YIC

под заказпо запросу
3539004

Fuel line 8 / 5 (Fuel line 8/5)

под заказ1500 руб.
35

(последний код)

под заказпо запросу
lynx

 
 

данный сайт носит информационный характер и не является публичной офертой

склад запчастей для водомоторной техники