вконтакте

Контактный телефон: +7 (981) 121-46-93, +7 (800) 200-90-76 , Email: parts-katalog@yandex.ru, где купить

 
 

  Логин:

Пароль:

Регистрация

www.partskatalog.ru Все каталоги Запчасти Mercury Запчасти Suzuki Запчасти Tohatsu Запчасти Honda Контакты


Выбрать другую модель

назад Раздел:   вперёд

вернуться к списку узлов и деталей

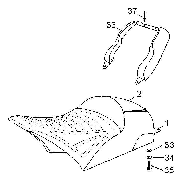
ДЕТАЛИРОВКА ДЛЯ МОДЕЛИ: LYNX Enduro 500, 1999


Snowmobiles lynx  - Body / Корпус

Номер на
рисунке
АртикулНаименованиеКол-во
на складе
Цена
15244397

Седло в сборе. Includes items 1 thru 2 (Seat assy. Includes items 1 thru 2)

под заказпо запросу
25344396

Седло Крышка (Seat cover)

под заказпо запросу
328354

Седло Buckle (Seat Buckle)

под заказпо запросу
420010

Шайба (Washer)

под заказ210 руб.
4234082410

(последний код) WASHER-FLAT DIN.9021B

под заказ270 руб.
520014

Шайба с блокировкой (Lock washer)

под заказ20 руб.
640047

Винт M8x30 (Screw M8x30)

под заказ60 руб.
640005

(последний код) HEX SCREW M8 X 30 DIN931M8.8ZNE

под заказ50 руб.
75443355

Инструмент box with Стандартный инструмент. Includes items 7 thru 8 (Tool box with tools. Includes items 7 thru 8)

под заказ6680 руб.
834015

Инструмент box (Tool box)

под заказпо запросу
95243388

Rear bumber guard (Rear bumber guard)

под заказ9970 руб.
1036036

Заклёпка (Rivet)

под заказ50 руб.
103699036

(последний код) RIVET NOIR *RIVET-BLACK

под заказ60 руб.
11AT-08541

     (не оригинальная запчасть) Пыльник шрус AT-08541

под заказ1 460 руб.
11201-409F-01B.001

     (не оригинальная запчасть) Привод для Yamaha 201-409F-01B.001

под заказ17 260 руб.
11201-410R-01L.001

     (не оригинальная запчасть) Привод для Yamaha 201-410R-01L.001

под заказ17 260 руб.
11201-423R-01B.001

     (не оригинальная запчасть) Привод для Yamaha 201-423R-01B.001

под заказ17 260 руб.
11201-410R-01R.001

     (не оригинальная запчасть) Привод для Yamaha 201-410R-01R.001

под заказ17 260 руб.
11AT-08540

     (не оригинальная запчасть) Пыльник шрус AT-08540

под заказ1 390 руб.
11010-824PK

     (не оригинальная запчасть) Поршневой к-т Yamaha 1300R (номинал) 010-824PK

под заказ12 950 руб.
116A0-24421-01

     (не оригинальная запчасть) Клапаны в топливный насос Yamaha 6A0-24421-01

под заказнет данных
11AT-01100

     (не оригинальная запчасть) Реле стартера Yamaha AT-01100

под заказ2 810 руб.
11SM-01109

     (не оригинальная запчасть) Задний фонарь Yamaha SM-01109

под заказ3 300 руб.
116H3-11181-A0

     (не оригинальная запчасть) Прокладка под головку Yamaha 6H3-11181-A0

под заказнет данных
11010-495-01K

     (не оригинальная запчасть) Ремкомплект RAVE клапана BRP 787RFI 010-495-01K

под заказ19 400 руб.
11SM-01364

     (не оригинальная запчасть) Статор BRP SM-01364

под заказ23 730 руб.
1118-3551

     (не оригинальная запчасть) Термостат Mercruiser 18-3551

под заказ1 990 руб.
11NW-40006

     (не оригинальная запчасть) Поршневой к-т Yamaha 1300R (номинал) NW-40006

под заказ10 870 руб.
11SM-07213

     (не оригинальная запчасть) Топливный насос BRP SM-07213

под заказ9 930 руб.
11SM-07214

     (не оригинальная запчасть) Топливный насос Yamaha SM-07214

под заказ6 890 руб.
11SM-03287

     (не оригинальная запчасть) Ремкомплект ведомого вариатора Arctic Cat SM-03287

под заказ3 130 руб.
11ATV-YA-804

     (не оригинальная запчасть) Привод для квадроцикла Yamaha ATV-YA-804

под заказ14 400 руб.
11ATV-YA-809

     (не оригинальная запчасть) Привод для квадроцикла Yamaha ATV-YA-809

под заказ14 400 руб.
11SC-GS090

     (не оригинальная запчасть) Прокладка под головку Yamaha SC-GS090

под заказ1 740 руб.
11ATV-YA-808

     (не оригинальная запчасть) Привод для Yamaha ATV-YA-808

под заказ14 400 руб.
11ATV-YA-803

     (не оригинальная запчасть) Привод для Yamaha ATV-YA-803

под заказ14 400 руб.
11SM-10108

     (не оригинальная запчасть) Ремкомплект помпы охлаждения Polaris SM-10108

под заказ10 800 руб.
11SM-10107

     (не оригинальная запчасть) Ремкомплект помпы охлаждения Polaris SM-10107

под заказ15 300 руб.
1236072

Заклёпка (Rivet)

под заказ80 руб.
12

(последний код)

под заказпо запросу
13534727

Snow guard (Snow guard)

под заказ4730 руб.
13

(последний код)

под заказпо запросу
145340584

Sвышеport (Support)

под заказ1230 руб.
lynx

 
 

данный сайт носит информационный характер и не является публичной офертой

склад запчастей для водомоторной техники