вконтакте

Контактный телефон: +7 (981) 121-46-93, +7 (800) 200-90-76 , Email: parts-katalog@yandex.ru, где купить

 
 

  Логин:

Пароль:

Регистрация

www.partskatalog.ru Все каталоги Запчасти Mercury Запчасти Suzuki Запчасти Tohatsu Запчасти Honda Контакты



УВАЖАЕМЫЕ КЛИЕНТЫ!
C 19 ДЕКАБРЯ 2025 ПО 02 МАРТА 2026 ГОДА ОТДЕЛ ЗАПЧАСТЕЙ И СЕРВИС РАБОТАТЬ НЕ БУДУТ
ПРОДАЖА ЛОДОЧНЫХ МОТОРОВ В ШТАТНОМ РЕЖИМЕ
ОБ ИЗМЕНЕНИЯХ В ГРАФИКЕ РАБОТЫ ЧИТАЙТЕ НА САЙТА




Выбрать другую модель

назад Раздел:   вперёд

вернуться к списку узлов и деталей

ДЕТАЛИРОВКА ДЛЯ МОДЕЛИ: LYNX Safari 400, 2001


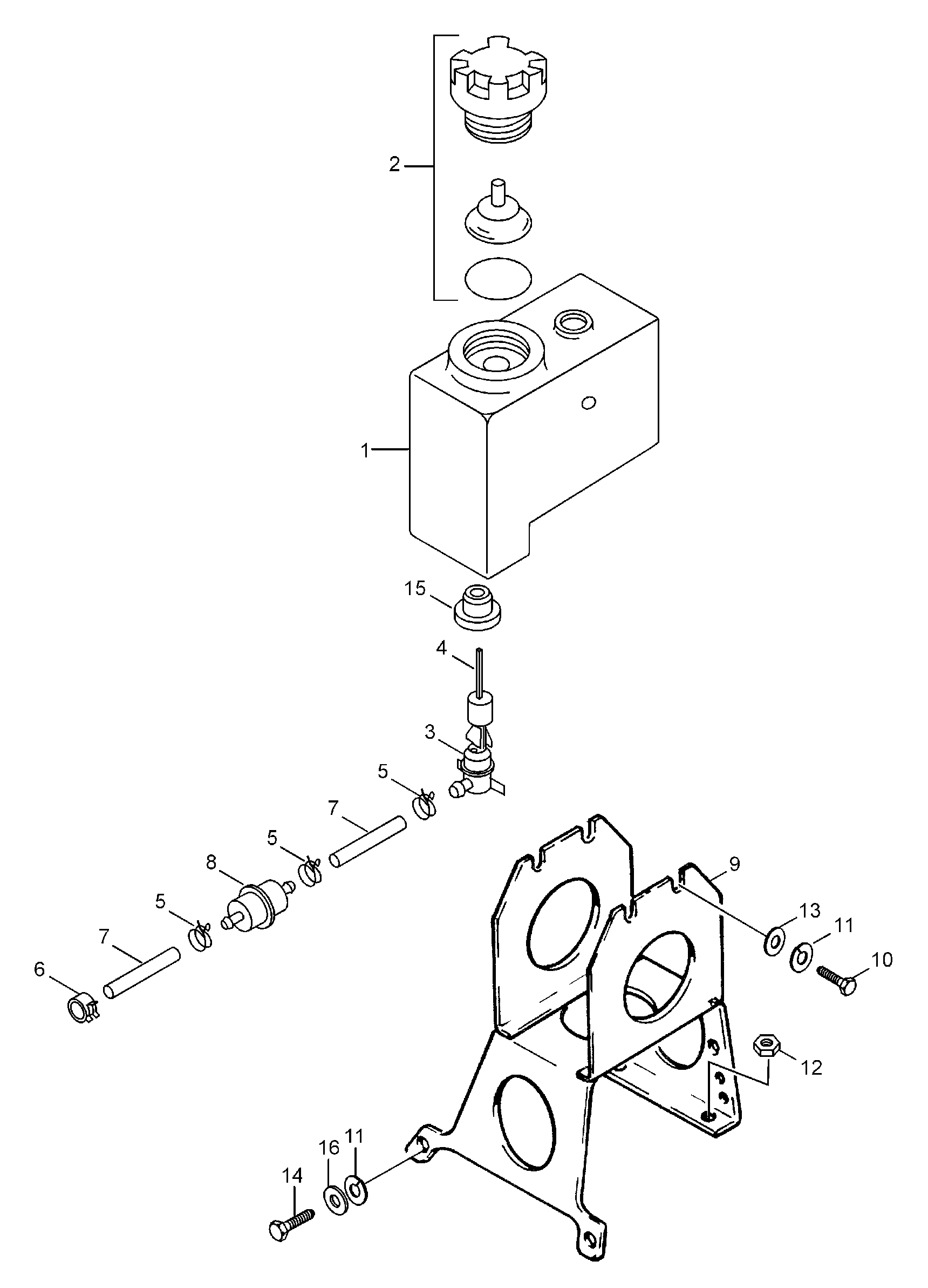
Snowmobiles lynx  - Oil Tank - Масляный бак

Номер на
рисунке
АртикулНаименованиеКол-во
на складе
Цена
1572106700

Масляный бак (Oil tank)

под заказпо запросу
1572091600

(последний код) RESERVOIR HUILE*TANK-OIL

под заказпо запросу
2517284700

Масляный бак sвышеport (Oil tank support)

под заказпо запросу
3572071000

Колпачок (Cap)

под заказ1930 руб.
3519000044

(последний код) BOUCHON *CAP

под заказ3350 руб.
307-288-01

     (не оригинальная запчасть) Крышка топливного/масляного бака BRP 07-288-01

под заказ660 руб.
4414536500

Масляный фильтр (Oil filter)

под заказ310 руб.
407-246-05

     (не оригинальная запчасть) Фильтр масляный универсальный 07-246-05

под заказ370 руб.
407-246-06

     (не оригинальная запчасть) Фильтр масляный BRP 07-246-06

под заказ470 руб.
407-246-08

     (не оригинальная запчасть) Масляный фильтр 07-246-08

под заказ470 руб.
5414420700

Струбцина (Clamp)

под заказ140 руб.
527414420700

(последний код) SPRING CLIP 414420700

под заказ110 руб.
620052

Пружинная шайба (Spring washer)

под заказ120 руб.
6234161471

(последний код) WASHER-LOCK BLACK DIN.127B

под заказ130 руб.
740114

Винт M6x10 (Screw M6x10)

под заказ30 руб.
827119F

Струбцина (Clamp)

под заказпо запросу
939046

Шланг 11 / 8 (Hose 11/8)

под заказ1500 руб.
93999046

(последний код) HOSE 11/8 (USE 39046)

под заказ710 руб.
10414940300

Пружина (Spring)

под заказ240 руб.
11570023000

Пыльник (Grommet)

под заказ580 руб.
112890230

(последний код) GROMMET (USE 570023000)

под заказ450 руб.
11SM-07403

     (не оригинальная запчасть) Уплотнительная втулка масляного бачка BRP SM-07403

под заказ140 руб.
12414454400

Rubber Шайба (Rubber washer)

под заказ310 руб.
12570123000

(последний код) ENTRETOISE CAOU*SPACER-RUBBER

под заказпо запросу
1333010

Гайка elastic M6 (Nut elastic M6)

под заказ20 руб.
13842042

(последний код) LOCKING NUT (USE 33010)

под заказ20 руб.
14414681900

Поплавок (Float)

под заказпо запросу
142196819

(последний код) KOHO SENSORILLE(USE 414681900)

под заказпо запросу
15414681800

Oil Рычаг Датчик (Oil lever sensor)

под заказпо запросу
15216818

(последний код) OIL LEVEL SENSOR 414681800 BBD

под заказпо запросу
lynx

 
 

данный сайт носит информационный характер и не является публичной офертой

склад запчастей для водомоторной техники