вконтакте

Контактный телефон: +7 (981) 121-46-93, +7 (800) 200-90-76 , Email: parts-katalog@yandex.ru, где купить

 
 

  Логин:

Пароль:

Регистрация

www.partskatalog.ru Все каталоги Запчасти Mercury Запчасти Suzuki Запчасти Tohatsu Запчасти Honda Контакты



УВАЖАЕМЫЕ КЛИЕНТЫ!
C 19 ДЕКАБРЯ 2025 ПО 02 МАРТА 2026 ГОДА ОТДЕЛ ЗАПЧАСТЕЙ И СЕРВИС РАБОТАТЬ НЕ БУДУТ
ПРОДАЖА ЛОДОЧНЫХ МОТОРОВ В ШТАТНОМ РЕЖИМЕ
ОБ ИЗМЕНЕНИЯХ В ГРАФИКЕ РАБОТЫ ЧИТАЙТЕ НА САЙТА




Выбрать другую модель

назад Раздел:   вперёд

вернуться к списку узлов и деталей

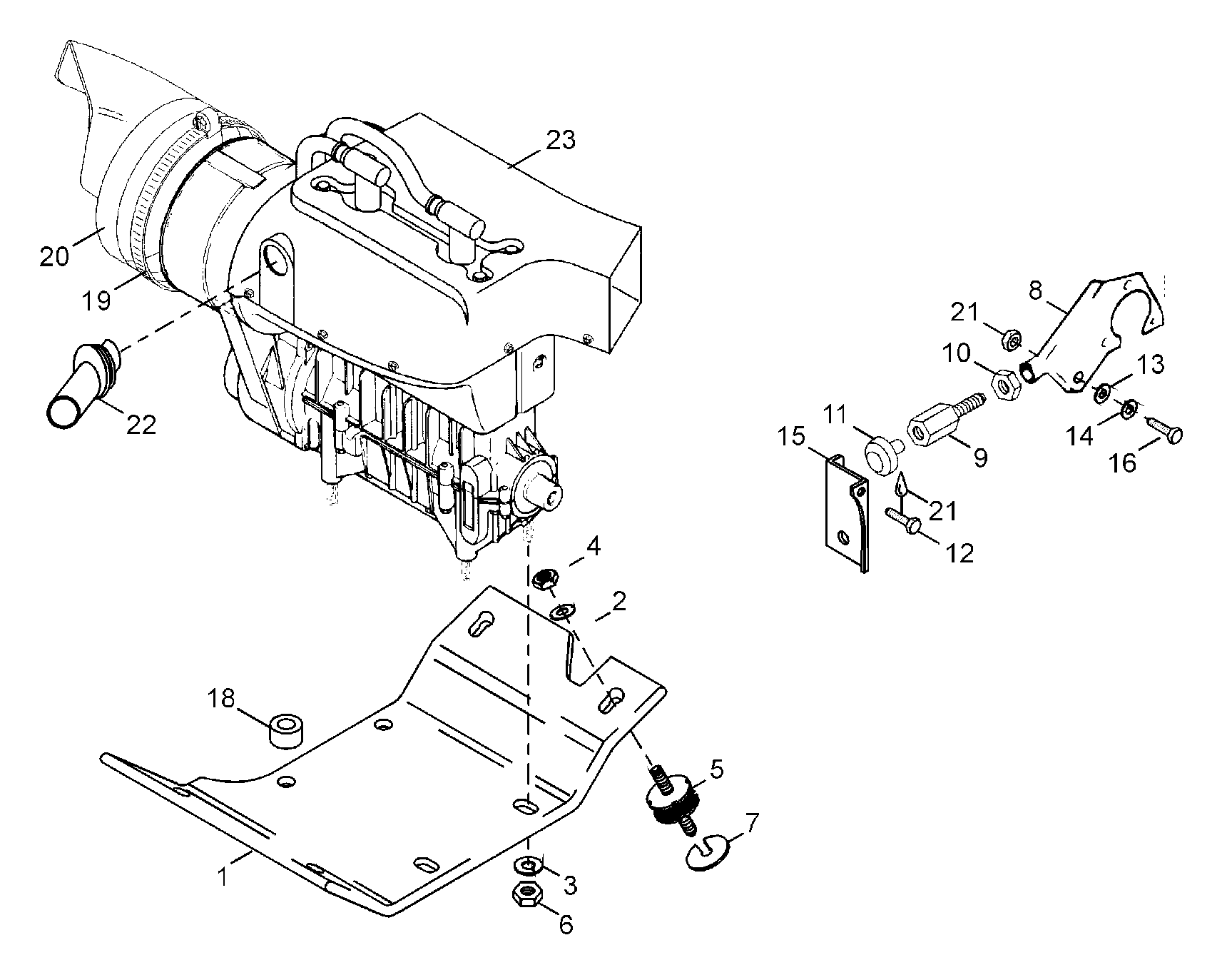
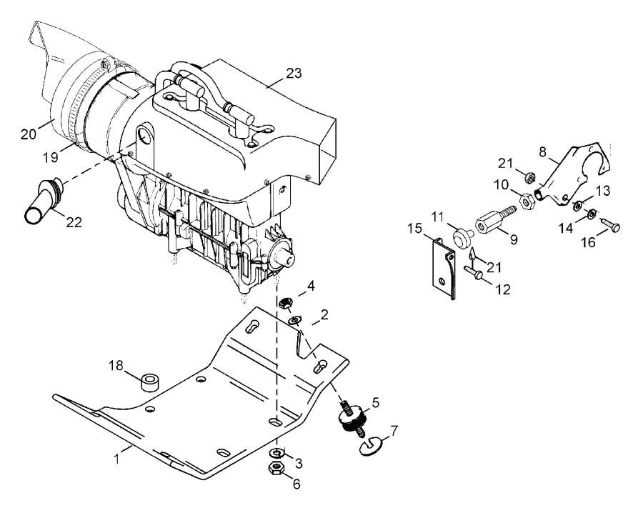
ДЕТАЛИРОВКА ДЛЯ МОДЕЛИ: LYNX Racing, 2002


Snowmobile Lynx  - Dpm / Dpm

Номер на
рисунке
АртикулНаименованиеКол-во
на складе
Цена
15348141

Катушка зажигания в сборе. Includes items 1 thru 6 (Ignition coil assy. Includes items 1 thru 6)

под заказ5980 руб.
1512059564

(последний код) BOBINE ALLUMAGE*COIL-IGNITION

под заказ7360 руб.
2512059499

Свеча зажигания Провод, 515 мм (Spark plug wire, 515mm)

под заказ4140 руб.
2512059500

Свеча зажигания Провод, 595 мм (Spark plug wire, 595mm)

под заказпо запросу
3410914600

пластиковый Зажим (Plastic clip)

под заказ580 руб.
442610

Male Клемма Корпус (Male terminal housing)

под заказ570 руб.
5278000632

Female Клемма (Female terminal)

под заказ290 руб.
642609

Male lock (2 circuits) (Male lock (2 circuits))

под заказ260 руб.
736489

Заклёпка (Rivet)

под заказ80 руб.
7

(последний код)

под заказпо запросу
8415107300

Insert (Insert)

под заказ680 руб.
8293450275

(последний код) AJOUT *INSERT

под заказ860 руб.
933200

Elastic Фланецd Гайка M6 (Elastic flanged nut M6)

под заказпо запросу
933072

(последний код) NUT-FLANGE HEX. M6 DIN 6927 8.8 YIC

под заказпо запросу
10278001739

Female Клемма housin (Female terminal housin)

под заказ6490 руб.
11278000738

Female lock (Female lock)

под заказ430 руб.
12293550004

Dielectric Смазка, 150g (Dielectric grease, 150g)

под заказ4740 руб.
12747018002

(последний код) GRAISSE *GREASE

под заказ3710 руб.
13512059476

Calibration module (Calibration module)

под заказпо запросу
14278000736

Female Клемма housin (Female terminal housin)

под заказ1590 руб.
15512059533

Свеча зажигания BR9ECS (Spark plug BR9ECS)

под заказ420 руб.
15512059552

(последний код) Spark Plug 593HO / 600RS / 693 / 793HO BR9ECS-5 NGK

под заказ720 руб.
16515175705

Female lock (6 circuits) (Female lock (6 circuits))

под заказ170 руб.
17516000986

Наклейка - свеча зажигания (Spark plug decal)

под заказ340 руб.
18515175673

Female Клемма housin (Female terminal housin)

под заказ1150 руб.
19409209200

Female Клемма housin (Female terminal housin)

под заказпо запросу
20409012100

Female Клемма (Female terminal)

под заказ430 руб.
21409012300

Сальник (Seal)

под заказ290 руб.
22710000045

Male Клемма housinh (Male terminal housinh)

под заказ3300 руб.
23409014800

Male Клемма (Male terminal)

под заказ430 руб.
24710000046

Male lock (Male lock)

под заказ860 руб.
25293000052

Сальникing Колпачок (Sealing cap)

под заказ290 руб.
26278000632

Female Клемма (Female terminal)

под заказ290 руб.
27544419

Гильза (Sleeve)

под заказ720 руб.
2840084

Винт M6x45 (Screw M6x45)

под заказ80 руб.
2920052

Пружинная шайба (Spring washer)

под заказ120 руб.
29234161471

(последний код) WASHER-LOCK BLACK DIN.127B

под заказ130 руб.
30570069700

Latch (Latch)

под заказ1030 руб.
30570048800

(последний код) LOQUET *LATCH

под заказ810 руб.
31515175678

Female lock (Female lock)

под заказ580 руб.
lynx

 
 

данный сайт носит информационный характер и не является публичной офертой

склад запчастей для водомоторной техники