вконтакте

Контактный телефон: +7 (981) 121-46-93, +7 (800) 200-90-76 , Email: parts-katalog@yandex.ru, где купить

 
 

  Логин:

Пароль:

Регистрация

www.partskatalog.ru Все каталоги Запчасти Mercury Запчасти Suzuki Запчасти Tohatsu Запчасти Honda Контакты



УВАЖАЕМЫЕ КЛИЕНТЫ!
C 19 ДЕКАБРЯ 2025 ПО 02 МАРТА 2026 ГОДА ОТДЕЛ ЗАПЧАСТЕЙ И СЕРВИС РАБОТАТЬ НЕ БУДУТ
ПРОДАЖА ЛОДОЧНЫХ МОТОРОВ В ШТАТНОМ РЕЖИМЕ
ОБ ИЗМЕНЕНИЯХ В ГРАФИКЕ РАБОТЫ ЧИТАЙТЕ НА САЙТА




Выбрать другую модель

назад Раздел:   вперёд

вернуться к списку узлов и деталей

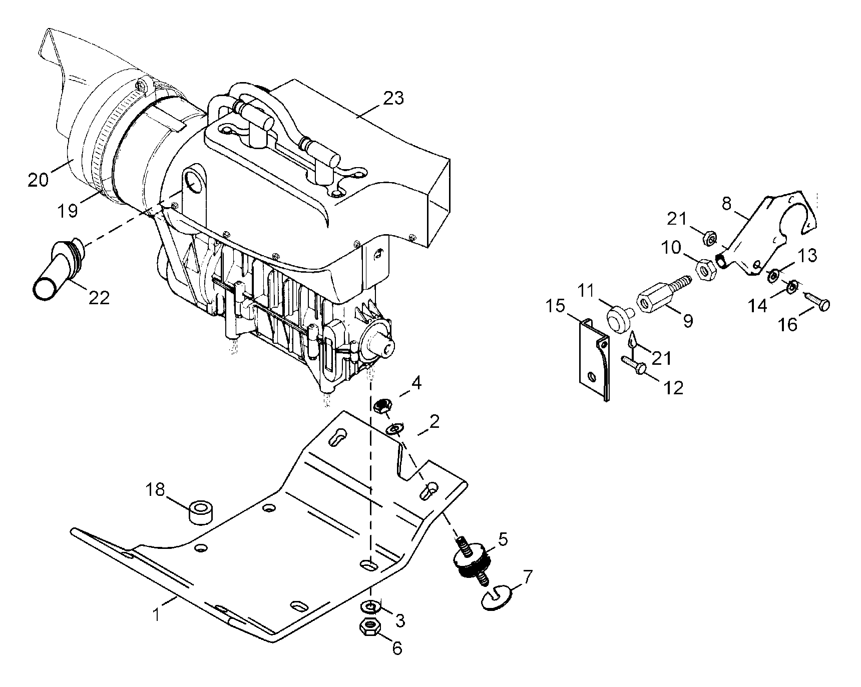
ДЕТАЛИРОВКА ДЛЯ МОДЕЛИ: LYNX Explorer 500, 2002


Снегоходы lynx  - Electric Starter Kit / Комплект для установки электростартера

Номер на
рисунке
АртикулНаименованиеКол-во
на складе
Цена
1515175656

Voltage Регулятор (Voltage regulator)

под заказ11570 руб.
1515175939

(последний код) VOLT REGULATOR

под заказ15290 руб.
1SM-01140

     (не оригинальная запчасть) Реле регулятор напряжения BRP SM-01140

под заказ8 360 руб.
240322

Винт M6x16 (Screw M6x16)

под заказ60 руб.
2

(последний код)

под заказпо запросу
340305

Allen Винт M8x20 (Allen screw M8x20)

под заказ60 руб.
3

(последний код)

под заказпо запросу
420014

Пружинная шайба (Spring washer)

под заказ20 руб.
5413707500

Lithium-Смазка (Lithium-grease)

под заказ1190 руб.
6515175642

Battery (Battery)

под заказ8080 руб.
6410301203

(последний код) BATTERY 18AMPS(WET) YTX20LBS(619660002)

под заказ12230 руб.
6FTX20L-BS

     (не оригинальная запчасть) Аккумулятор FTX20L-BS (YTX20L-BS)

под заказ8 580 руб.
6FHD20HL-BS-GEL

     (не оригинальная запчасть) Аккумулятор гелевый FHD20HL-BS-GEL (YTX20HL-BS, YTX20L-BS)

под заказ11 110 руб.
6A207161644

Винт M6x16 (Screw M6x16)

под заказ290 руб.
6A420241186

(последний код) SCREW-HEX.M6 X 16

под заказ230 руб.
6B391302100

Шайба (Washer)

под заказ130 руб.
6B399901500

(последний код) WASHER-FLAT

под заказ110 руб.
75446596

Battery Провод (Battery wire)

под заказпо запросу
8570151000

Колпачок protection (Cap protection)

под заказ1350 руб.
8673580

(последний код) CAPUCHON PROT. *CAP-PROTECTION

под заказ810 руб.
9515175483

Провод заземления (Ground wire)

под заказ1560 руб.
105347314

Rubber blanket (Rubber blanket)

под заказ540 руб.
1133200

Elastic Фланецd Гайка M6 (Elastic flanged nut M6)

под заказпо запросу
1133072

(последний код) NUT-FLANGE HEX. M6 DIN 6927 8.8 YIC

под заказпо запросу
125446894

Провод, Предохранитель-battery (Wire, fuse-battery)

под заказ980 руб.
13515175625

Battery sвышеport (Battery support)

под заказ4940 руб.
13515175848

(последний код) SUPPORT BATTER.*BATTERY SUPPORT

под заказ5390 руб.
1440247

Винт M5x16 (Screw M5x16)

под заказпо запросу
1533062

Elastic Фланецd Гайка M5 (Elastic flanged nut M5)

под заказ230 руб.
15233251434

(последний код) NUT-FLANGE ELASTIC DIN.6926

под заказ290 руб.
16515175643

Защита (Protector)

под заказ1440 руб.
17515175475

Battery Хомут (Battery strap)

под заказ1230 руб.
17515176044

(последний код) SANGLE BATTERIE*STRAP-BATTERY

под заказ1580 руб.
1750-17-005

     (не оригинальная запчасть) Ремень крепления аккумулятора BRP 50-17-005

под заказ580 руб.
1820004

Шайба (Washer)

под заказ110 руб.
18234081410

(последний код) WASHER-FLAT DIN.125A

под заказ130 руб.
19420951427

Стартер Кронштейн, MAG-sid (Starter bracket, MAG-sid)

под заказ1400 руб.
20420951413

Стартер Кронштейн, PTO-sid (Starter bracket, PTO-sid)

под заказ3610 руб.
20420951418

(последний код) ATTACHE DEMAR. *BRACKET-START.

под заказ3310 руб.
2133009

Гайка elastic M5 (Nut elastic M5)

под заказпо запросу
21

(последний код)

под заказпо запросу
2220017

Шайба (Washer)

под заказ20 руб.
23410212400

Стартер (Starter)

под заказ40400 руб.
23410209200

(последний код) DEMARREUR *STARTER

под заказ36300 руб.
23SM-01215

     (не оригинальная запчасть) Стартер электрический BRP SM-01215

под заказ18 060 руб.
24515175536

Защита (Protector)

под заказпо запросу
25415107300

Insert (Insert)

под заказ680 руб.
25293450275

(последний код) AJOUT *INSERT

под заказ860 руб.
26293830005

Заглушка rubber (Plug rubber)

под заказ580 руб.
27207661644

Винт (Screw)

под заказ280 руб.
2833003

Гайка M8 (Nut M8)

под заказ20 руб.
29410917200

Предохранитель 30 A (Fuse 30 A)

под заказ290 руб.
2942043

(последний код) FUSIBLE 30 AMP. *FUSE-30 AMP.

под заказ140 руб.
30391301700

Шайба (Washer)

под заказ110 руб.
30250200081

(последний код) RONDELLE PLATE *FLAT WASHER

под заказ140 руб.
3140289

Allen Винт M8x25 (Allen screw M8x25)

под заказ100 руб.
3240029

Винт M6x16 (Screw M6x16)

под заказ30 руб.
33415018200

Струбцина (Clamp)

под заказ140 руб.
lynx

 
 

данный сайт носит информационный характер и не является публичной офертой

склад запчастей для водомоторной техники