вконтакте

Контактный телефон: +7 (981) 121-46-93, +7 (800) 200-90-76 , Email: parts-katalog@yandex.ru, где купить

 
 

  Логин:

Пароль:

Регистрация

www.partskatalog.ru Все каталоги Запчасти Mercury Запчасти Suzuki Запчасти Tohatsu Запчасти Honda Контакты



УВАЖАЕМЫЕ КЛИЕНТЫ!
C 19 ДЕКАБРЯ 2025 ПО 02 МАРТА 2026 ГОДА ОТДЕЛ ЗАПЧАСТЕЙ И СЕРВИС РАБОТАТЬ НЕ БУДУТ
ПРОДАЖА ЛОДОЧНЫХ МОТОРОВ В ШТАТНОМ РЕЖИМЕ
ОБ ИЗМЕНЕНИЯХ В ГРАФИКЕ РАБОТЫ ЧИТАЙТЕ НА САЙТА




Выбрать другую модель

назад Раздел:   вперёд

вернуться к списку узлов и деталей

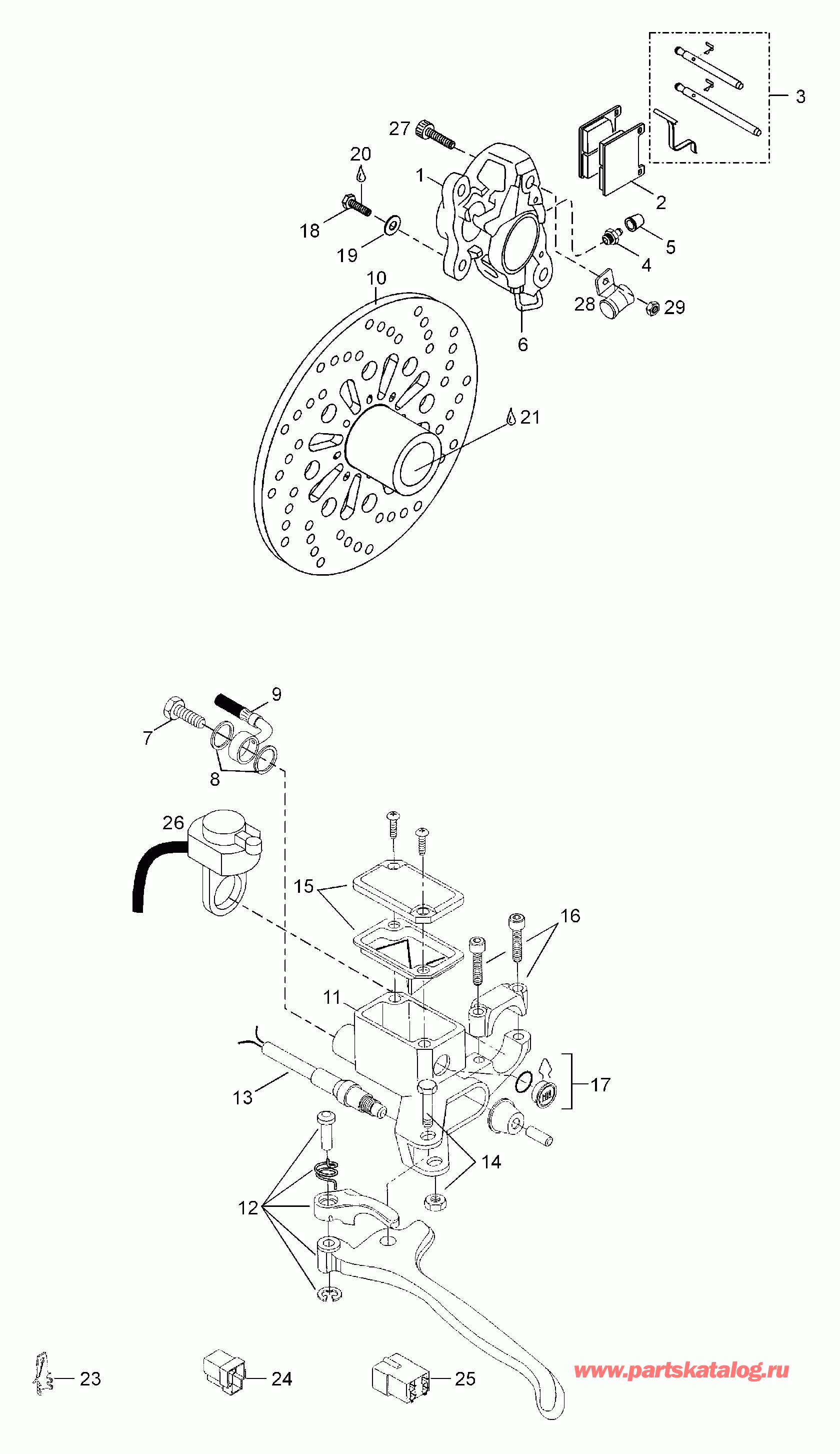
ДЕТАЛИРОВКА ДЛЯ МОДЕЛИ: LYNX Enduro 400 F, 2003


Снегоходы Lynx  - Body - Корпус

Номер на
рисунке
АртикулНаименованиеКол-во
на складе
Цена
15243866

Седло foam (Seat foam)

под заказ16060 руб.
2605148612

Седло Крышка (Seat cover)

под заказ37500 руб.
2605152222

(последний код) Seat Cover, 1-up red/black

под заказ40900 руб.
35146815

Седло bottom (Seat bottom)

под заказпо запросу
420010

Шайба (Washer)

под заказ210 руб.
4234082410

(последний код) WASHER-FLAT DIN.9021B

под заказ270 руб.
520014

Шайба с блокировкой (Lock washer)

под заказ20 руб.
640015

Винт M8x30 (Screw M8x30)

под заказ1210 руб.
740870

Hex. Саморез (Hex. tapping screw)

под заказ140 руб.
7

(последний код)

под заказпо запросу
8861777700

R.H. moulding (R.H. moulding)

под заказ2570 руб.
8572092200

(последний код) ENJOLIVEUR DR. *MOULD.-RH

под заказ2400 руб.
8861777800

L.H. moulding (L.H. moulding)

под заказпо запросу
8572092300

(последний код) ENJOLIVEUR GA. *MOULD.-LH

под заказпо запросу
9516000241

R.H. rear reflector (R.H. rear reflector)

под заказпо запросу
9516000242

L.H. rear reflector (L.H. rear reflector)

под заказ730 руб.
10415073300

Колпачок (Cap)

под заказ380 руб.
115246131

Snow guard (Snow guard)

под заказ6250 руб.
1240078

Винт M6x22 (Screw M6x22)

под заказ150 руб.
12

(последний код)

под заказпо запросу
1340002

Винт M6x40 (Screw M6x40)

под заказ60 руб.
1420009

Шайба (Washer)

под заказпо запросу
14542376

(последний код) WASHER

под заказпо запросу
155341214

Taillamp в сборе. Includes items 15 thru 20 (Taillamp assy. Includes items 15 thru 20)

под заказ5120 руб.
155496484

(последний код) TAKAL RAVE/COBRA 92(USE5341214

под заказ2460 руб.
16414979400

Taillamp Корпус (Taillamp housing)

под заказ2550 руб.
16510004061

(последний код) HOUSING-20/18

под заказ3260 руб.
1601-104-14

     (не оригинальная запчасть) Основание заднего фонаря BRP 01-104-14

под заказ1 910 руб.
17410504000

Лампочка (Bulb)

под заказ1010 руб.
17520000758

(последний код) Bulb front light Outlander, Commander

под заказ260 руб.
18414513700

Lens (Lens)

под заказ2000 руб.
184299501

(последний код) TAKAVALON LASI(USE 414513700)

под заказ1330 руб.
1801-104-05

     (не оригинальная запчасть) Плафон заднего фонаря BRP 01-104-05

под заказ1 210 руб.
19414516400

Шайба (Washer)

под заказ60 руб.
2040613

Винт (Screw)

под заказпо запросу
20414516300

(последний код) SCREW

под заказпо запросу
2133200

Гайка M6 (Nut M6)

под заказпо запросу
2133072

(последний код) NUT-FLANGE HEX. M6 DIN 6927 8.8 YIC

под заказпо запросу
225447908

Седло fastening Пластина (Seat fastening plate)

под заказ700 руб.
225447025

(последний код) FASTENING PLATE, SEAT

под заказ390 руб.
2336489

Заклёпка (Rivet)

под заказ80 руб.
23

(последний код)

под заказпо запросу
245444390

Седло Buckle (Seat Buckle)

под заказпо запросу
255445403

Инструмент box with Стандартный инструмент. Includes items 25 thru 26 (Tool box with tools. Includes items 25 thru 26)

под заказ2350 руб.
25605350525

(последний код) TROUSSE OUTILS *TOOL KIT

под заказ2560 руб.
26572036310

Инструмент box (Tool box)

под заказ2010 руб.
26708200043

(последний код) COFFRE OUTILS *TOOLS BOX

под заказ1570 руб.
27529032900

Гаечный ключ adjust (Wrench adjust)

под заказ760 руб.
27529000035

(последний код) CLE DE REGLAGE *WRENCH-ADJ.

под заказ1150 руб.
lynx

 
 

данный сайт носит информационный характер и не является публичной офертой

склад запчастей для водомоторной техники