вконтакте

Контактный телефон: +7 (981) 121-46-93, +7 (800) 200-90-76 , Email: parts-katalog@yandex.ru, где купить

 
 

  Логин:

Пароль:

Регистрация

www.partskatalog.ru Все каталоги Запчасти Mercury Запчасти Suzuki Запчасти Tohatsu Запчасти Honda Контакты



УВАЖАЕМЫЕ КЛИЕНТЫ!
C 19 ДЕКАБРЯ 2025 ПО 02 МАРТА 2026 ГОДА ОТДЕЛ ЗАПЧАСТЕЙ И СЕРВИС РАБОТАТЬ НЕ БУДУТ
ПРОДАЖА ЛОДОЧНЫХ МОТОРОВ В ШТАТНОМ РЕЖИМЕ
ОБ ИЗМЕНЕНИЯХ В ГРАФИКЕ РАБОТЫ ЧИТАЙТЕ НА САЙТА




Выбрать другую модель

назад Раздел:   вперёд

вернуться к списку узлов и деталей

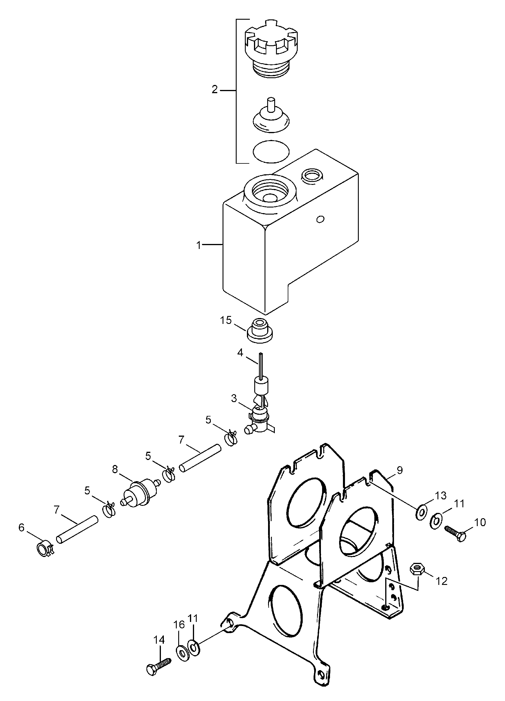
ДЕТАЛИРОВКА ДЛЯ МОДЕЛИ: LYNX Ranger V-1000, 2004


Snowmobile Lynx  - Muffler

Номер на
рисунке
АртикулНаименованиеКол-во
на складе
Цена
15447628

Кронштейн (Bracket)

под заказ650 руб.
236489

Заклёпка (Rivet)

под заказ80 руб.
2

(последний код)

под заказпо запросу
3414913700

Пружина (Spring)

под заказ270 руб.
3414109000

(последний код) RESSORT *SPRING

под заказ210 руб.
4514053343

Гильза (Sleeve)

под заказ1740 руб.
533029

Elastic Фланецd Гайка M8 (Elastic flanged nut M8)

под заказ60 руб.
6514053580

Прокладка (Gasket)

под заказ1340 руб.
7514053521

Струбцина (Clamp)

под заказ870 руб.
8514053064

Выхлоп Пыльник (Exhaust grommet)

под заказ1240 руб.
8514054224

(последний код) RONDELLE ECHAPP*GROMMET-EXHAUST

под заказ1350 руб.
9514053532

Прокладка (Gasket)

под заказ900 руб.
9707601033

(последний код) JOINT ECHAPP. *EXHAUST GASKET

под заказ860 руб.
9SM-02063

     (не оригинальная запчасть) Уплотнительное кольцо глушителя BRP SM-02063

под заказ930 руб.
10514053457

Muffler в сборе. Includes items 10 thru 15 (Muffler assy. Includes items 10 thru 15)

под заказпо запросу
11514053661

R.H. heat shield (R.H. heat shield)

под заказпо запросу
11514053293

L.H. heat shield (L.H. heat shield)

под заказ2450 руб.
12514053705

IsoleКольцо (Isolering)

под заказпо запросу
12514053295

IsoleКольцо (Isolering)

под заказ700 руб.
13390910000

Заклёпка (Rivet)

под заказ140 руб.
14514053659

IsoleКольцо (Isolering)

под заказпо запросу
15514053660

IsoleКольцо (Isolering)

под заказпо запросу
16514053706

Heat Защита (Heat protector)

под заказпо запросу
17205461060

Винт M6 x 10 (Screw M6 x 10)

под заказ230 руб.
17250000436

(последний код) SCREW-SOCKET BUTTON HEAD M6 X 10

под заказ290 руб.
18234062600

Шайба (Washer)

под заказ290 руб.
18250200007

(последний код) WASHER-FLAT M6.4

под заказ230 руб.
19514052704

Rubber pumber (Rubber pumber)

под заказ1150 руб.
20514053707

Tune Трубка в сборе. Includes items 20 thru 28 (Tune pipe assy. Includes items 20 thru 28)

под заказпо запросу
21514053626

Heat Защита (Heat protector)

под заказпо запросу
22514053529

Heat Защита (Heat protector)

под заказпо запросу
23514053530

Heat Защита (Heat protector)

под заказпо запросу
24514053701

Heat Защита (Heat protector)

под заказпо запросу
25514053531

Heat Защита (Heat protector)

под заказпо запросу
26205461060

Винт M6 x 10 (Screw M6 x 10)

под заказ230 руб.
26250000436

(последний код) SCREW-SOCKET BUTTON HEAD M6 X 10

под заказ290 руб.
27234062600

Шайба (Washer)

под заказ290 руб.
27250200007

(последний код) WASHER-FLAT M6.4

под заказ230 руб.
28514053625

IsoleКольцо (Isolering)

под заказ640 руб.
29415107100

Пружина (Spring)

под заказ460 руб.
29517165800

(последний код) RESSORT *SPRING

под заказ360 руб.
29SM-02007

     (не оригинальная запчасть) Пружина крепления глушителя BRP SM-02007

под заказ280 руб.
30514053528

Tune Трубка, front (Tune pipe, front)

под заказпо запросу
31514053583

Heat shield (Heat shield)

под заказпо запросу
32570048700

Rubber pumber (Rubber pumber)

под заказ900 руб.
32514053654

(последний код) BUTOIR CAOUT. *BUMPER RUBBER

под заказ1150 руб.
33514053442

Кронштейн (Bracket)

под заказ610 руб.
3440327

Винт M6 x 12 (Screw M6 x 12)

под заказ60 руб.
3440329

(последний код) HEX SCREW M6 X12 DIN 7500DZNE

под заказ40 руб.
35514053620

IsoleКольцо (Isolering)

под заказ990 руб.
36514053628

IsoleКольцо (Isolering)

под заказ1270 руб.
37514053390

IsoleКольцо (Isolering)

под заказ1270 руб.
37514052719

(последний код) FEUILLE REFLECT*SHEET-REFLECT

под заказ990 руб.
38514053582

Выхлоп Прокладка (Exhaust gasket)

под заказ1160 руб.
38514054174

(последний код) EXHAUST GASKET

под заказ1480 руб.
38SM-02036

     (не оригинальная запчасть) Уплотнительное кольцо глушителя BRP SM-02036

под заказ1 410 руб.
lynx

 
 

данный сайт носит информационный характер и не является публичной офертой

склад запчастей для водомоторной техники