вконтакте

Контактный телефон: +7 (981) 121-46-93, +7 (800) 200-90-76 , Email: parts-katalog@yandex.ru, где купить

 
 

  Логин:

Пароль:

Регистрация

www.partskatalog.ru Все каталоги Запчасти Mercury Запчасти Suzuki Запчасти Tohatsu Запчасти Honda Контакты



УВАЖАЕМЫЕ КЛИЕНТЫ!
C 19 ДЕКАБРЯ 2025 ПО 02 МАРТА 2026 ГОДА ОТДЕЛ ЗАПЧАСТЕЙ И СЕРВИС РАБОТАТЬ НЕ БУДУТ
ПРОДАЖА ЛОДОЧНЫХ МОТОРОВ В ШТАТНОМ РЕЖИМЕ
ОБ ИЗМЕНЕНИЯХ В ГРАФИКЕ РАБОТЫ ЧИТАЙТЕ НА САЙТА




Выбрать другую модель

назад Раздел:   вперёд

вернуться к списку узлов и деталей

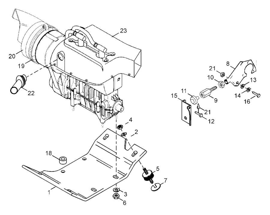
ДЕТАЛИРОВКА ДЛЯ МОДЕЛИ: LYNX 59 YETI, 2004


Snowmobiles lynx  - Масляный фильтр

Номер на
рисунке
АртикулНаименованиеКол-во
на складе
Цена
1420811671

Сцепление Крышка ass’y. Includes items 1 thru 3 (Clutch cover ass’y. Includes items 1 thru 3)

под заказ23600 руб.
1420811675

(последний код) COUVERCLE EMBRA*CLUTCH COVER ASSY

под заказ30200 руб.
2420933540

Plain Подшипник (Plain bearing)

под заказ2080 руб.
3420933545

Plain Подшипник (Plain bearing)

под заказ2080 руб.
4420931155

Сальник (Oil seal)

под заказ1380 руб.
4420931150

(последний код) OIL SEAL

под заказ940 руб.
5420440272

Винт M6 x 35 (Screw M6 x 35)

под заказ250 руб.
5420641258

(последний код) SCREW TORX FLANGE M6 X 35

под заказ430 руб.
6420950610

Прокладка (Gasket)

под заказ1240 руб.
7420950990

Прокладка (Gasket)

под заказ380 руб.
8420811903

Масляный фильтр Корпус в сборе (Oil filter housing assy)

под заказ7240 руб.
9420440232

Винт M6 x 25 (Screw M6 x 25)

под заказпо запросу
10420440602

Винт M6 x 65 (Screw M6 x 65)

под заказ170 руб.
11420956740

Масляный фильтр (Oil filter)

под заказ910 руб.
11420956741

(последний код) 4-Stroke Oil Filter

под заказ1160 руб.
910 руб.
11AT-07061

     (не оригинальная запчасть) Фильтр масляный BRP Ski-Doo V-1000/V-1300, Sea-Doo 1503 AT-07061

1 шт860 руб.
11006-560

     (не оригинальная запчасть) Масляный фильтр BRP 006-560

под заказ1 170 руб.
1110-26992

     (не оригинальная запчасть) Фильтр масляный BRP 10-26992

под заказ610 руб.
11SC-OT244

     (не оригинальная запчасть) Фильтр масляный BRP Ski-Doo V-1000/V-1300, Sea-Doo 1503 SC-OT244

под заказ900 руб.
11WC-07402

     (не оригинальная запчасть) Фильтр масляный BRP 1503 WC-07402

под заказ840 руб.
11AT-MZ1178

     (не оригинальная запчасть) Масляный фильтр BRP Ski-Doo V-1000/V-1300, Sea-Doo 1503 AT-MZ1178

под заказ460 руб.
12420230920

Уплотнительное кольцо (O-ring)

под заказ860 руб.
580 руб.
12711230920

(последний код) JOINT TORIQUE *O RING

под заказ570 руб.
12008-599-16

     (не оригинальная запчасть) Кольцо уплотнительное BRP 008-599-16

под заказ440 руб.
12AT-MZ1156

     (не оригинальная запчасть) Кольцо уплотнительное BRP AT-MZ1156

под заказ210 руб.
13420610326

Масляный фильтр Крышка (Oil filter cover)

под заказ5030 руб.
13711610327

(последний код) COUV.FILTRE HUI*COVER-FILTER OIL

под заказ3930 руб.
14420950860

Уплотнительное кольцо (O-ring)

под заказ400 руб.
14711950860

(последний код) JOINT TORIQUE *O RING

под заказ310 руб.
15420641105

Винт M8 x 140.5 (Screw M8 x 140.5)

под заказ3740 руб.
15711641100

(последний код) VIS HEX.M8 *SCREW-HEX.M8

под заказ2920 руб.
16420265920

Кривошип position trigger (Crank position trigger)

под заказ5870 руб.
17420440162

Винт M6 x 16 (Screw M6 x 16)

под заказ290 руб.
18420956700

Масляный бак в сборе. Includes items 18 thru 20 (Oil tank assy. Includes items 18 thru 20)

под заказ13910 руб.
19420631400

Уплотнительное кольцо (O-ring)

под заказ980 руб.
20420631410

Уплотнительное кольцо (O-ring)

под заказ390 руб.
21420440322

Винт M6 x 45 (Screw M6 x 45)

под заказ370 руб.
22420440232

Винт M6 x 25 (Screw M6 x 25)

под заказпо запросу
23420660860

Fixation Болт (Fixation bolt)

под заказ350 руб.
24420430590

Уплотнительное кольцо (O-ring)

под заказ430 руб.
24711430590

(последний код) JOINT TORIQUE *O RING

под заказ340 руб.
25420956890

Oil dipstick (Oil dipstick)

под заказ1500 руб.
26420960740

Molded Шланг в сборе (Molded hose assy)

под заказ2180 руб.
27420960801

Air vent line (Air vent line)

под заказ4710 руб.
28420853143

Струбцина (Clamp)

под заказ170 руб.
29420853313

Струбцина (Clamp)

под заказ170 руб.
30293800060

Loctite 243, 10 ml (Loctite 243, 10 ml)

под заказ2150 руб.
30420897651

(последний код) LOCTITE-243

под заказпо запросу
31293550014

Смазка, sвышеer lube (Grease, super lube)

под заказ2250 руб.
31293550030

(последний код) Super lube grease

под заказ2870 руб.
32293600054

Моторное масло 4 strokes, 0W40, (Engine oil 4 strokes, 0W40,)

под заказ1030 руб.
32619590114

(последний код) XPS 4 stroke Synthetic Winter 0W40, 12*1 quart (293600112)

под заказ840 руб.
33420899271

Petamo Смазка GHY133N, (Petamo grease GHY133N,)

под заказ8190 руб.
lynx

 
 

данный сайт носит информационный характер и не является публичной офертой

склад запчастей для водомоторной техники