вконтакте

Контактный телефон: +7 (981) 121-46-93, +7 (800) 200-90-76 , Email: parts-katalog@yandex.ru, где купить

 
 

  Логин:

Пароль:

Регистрация

www.partskatalog.ru Все каталоги Запчасти Mercury Запчасти Suzuki Запчасти Tohatsu Запчасти Honda Контакты



УВАЖАЕМЫЕ КЛИЕНТЫ!
C 19 ДЕКАБРЯ 2025 ПО 02 МАРТА 2026 ГОДА ОТДЕЛ ЗАПЧАСТЕЙ И СЕРВИС РАБОТАТЬ НЕ БУДУТ
ПРОДАЖА ЛОДОЧНЫХ МОТОРОВ В ШТАТНОМ РЕЖИМЕ
ОБ ИЗМЕНЕНИЯХ В ГРАФИКЕ РАБОТЫ ЧИТАЙТЕ НА САЙТА




Выбрать другую модель

назад Раздел:   вперёд

вернуться к списку узлов и деталей

ДЕТАЛИРОВКА ДЛЯ МОДЕЛИ: LYNX Enduro Sport, 2005


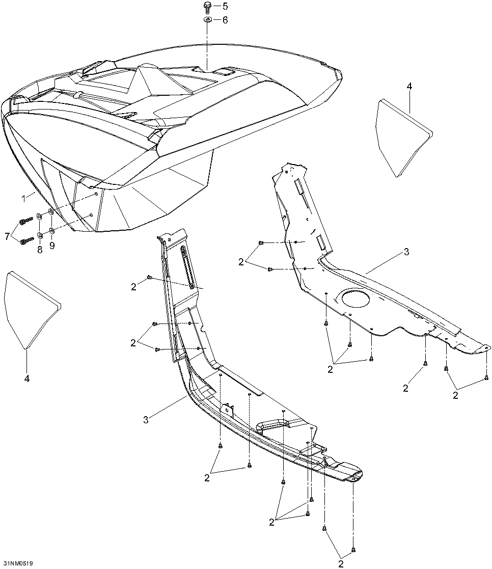
Snow mobile Лункс  - Bottom Pan / Нижний поддон

Номер на
рисунке
АртикулНаименованиеКол-во
на складе
Цена
1605150087

Front Нижний поддон (Front bottom pan)

под заказпо запросу
1

(последний код)

под заказпо запросу
236037

Заклёпка (Rivet)

под заказ110 руб.
2

(последний код)

под заказпо запросу
3502006702

R.H. Нижний поддон (R.H. Bottom pan)

под заказ3130 руб.
3502006606

(последний код) PAN-BOTTOM RH

под заказ2450 руб.
3502006703

L.H. Нижний поддон (L.H. Bottom pan)

под заказ3130 руб.
3502006678

(последний код) PAN BOTTOM LH

под заказпо запросу
4605151228

R.H. Foam (R.H. Foam)

под заказпо запросу
4605151229

L.H. Foam (L.H. Foam)

под заказ1380 руб.
540327

Шестигранный винт M6 x 12 (Hex. screw M6 x 12)

под заказ60 руб.
540329

(последний код) HEX SCREW M6 X12 DIN 7500DZNE

под заказ40 руб.
620038

Шайба (Washer)

под заказ30 руб.
740332

Socket head Винт M6 x 16 (Socket head screw M6 x 16)

под заказ50 руб.
820052

Шайба с блокировкой A6 (Lock washer A6)

под заказ120 руб.
8234161471

(последний код) WASHER-LOCK BLACK DIN.127B

под заказ130 руб.
920009

Шайба A6.4 (Washer A6.4)

под заказпо запросу
9542376

(последний код) WASHER

под заказпо запросу
lynx

 
 

данный сайт носит информационный характер и не является публичной офертой

склад запчастей для водомоторной техники