вконтакте

Контактный телефон: +7 (981) 121-46-93, +7 (800) 200-90-76 , Email: parts-katalog@yandex.ru, где купить

 
 

  Логин:

Пароль:

Регистрация

www.partskatalog.ru Все каталоги Запчасти Mercury Запчасти Suzuki Запчасти Tohatsu Запчасти Honda Контакты



УВАЖАЕМЫЕ КЛИЕНТЫ!
C 19 ДЕКАБРЯ 2025 ПО 02 МАРТА 2026 ГОДА ОТДЕЛ ЗАПЧАСТЕЙ И СЕРВИС РАБОТАТЬ НЕ БУДУТ
ПРОДАЖА ЛОДОЧНЫХ МОТОРОВ В ШТАТНОМ РЕЖИМЕ
ОБ ИЗМЕНЕНИЯХ В ГРАФИКЕ РАБОТЫ ЧИТАЙТЕ НА САЙТА




Выбрать другую модель

назад Раздел:   вперёд

вернуться к списку узлов и деталей

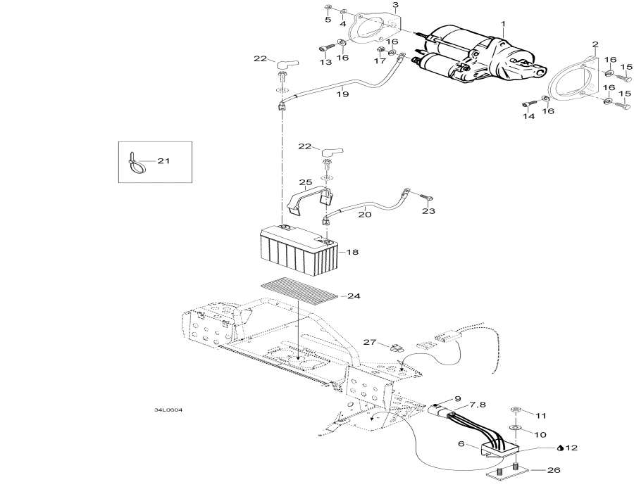
ДЕТАЛИРОВКА ДЛЯ МОДЕЛИ: LYNX 5900 FCE, 2006


Snow mobile lynx  - Battery и Стартер / Battery And Starter

Номер на
рисунке
АртикулНаименованиеКол-во
на складе
Цена
1410212400

Стартер (Starter)

под заказ40400 руб.
1410209200

(последний код) DEMARREUR *STARTER

под заказ36300 руб.
1SM-01215

     (не оригинальная запчасть) Стартер электрический BRP SM-01215

под заказ18 060 руб.
2420951415

Стартер Кронштейн (Starter bracket)

под заказ5710 руб.
3420951426

Стартер Кронштейн MAG (Starter bracket MAG)

под заказ2320 руб.
420008

Шайба A5, 3 (Washer A5,3)

под заказ30 руб.
4

(последний код)

под заказпо запросу
533009

Эластичная гайка со стопором M5 (Elastic stop nut M5)

под заказпо запросу
5

(последний код)

под заказпо запросу
6515175656

Выпрямитель в сборе. Includes 6 to 9 (Rectifier assy. Includes 6 to 9)

под заказ11570 руб.
6515175939

(последний код) VOLT REGULATOR

под заказ15290 руб.
6SM-01140

     (не оригинальная запчасть) Реле регулятор напряжения BRP SM-01140

под заказ8 360 руб.
7278001477

Коннектор Корпус (Connector housing)

под заказ2580 руб.
8515175568

Male Клемма (Male terminal)

под заказ720 руб.
9278001478

Wedge (Wedge)

под заказ290 руб.
1020009

Шайба A6, 4 (Washer A6,4)

под заказпо запросу
10542376

(последний код) WASHER

под заказпо запросу
1133010

Эластичная гайка со стопором M6 (Elastic stop nut M6)

под заказ20 руб.
11842042

(последний код) LOCKING NUT (USE 33010)

под заказ20 руб.
12413707500

Lithium-Смазка (Lithium-grease)

под заказ1190 руб.
1340066

Socket head Винт M8 x 16 (Socket head screw M8 x 16)

под заказ50 руб.
13

(последний код)

под заказпо запросу
1440305

Socket head Винт M8 x 20 (Socket head screw M8 x 20)

под заказ60 руб.
14

(последний код)

под заказпо запросу
1540036

Шестигранный винт M8 x 20 (Hex. screw M8 x 20)

под заказ60 руб.
15528801382

(последний код) SCREW

под заказ50 руб.
1620014

Шайба с блокировкой 8 мм (Lock washer 8mm)

под заказ20 руб.
1733003

Гайка M8 (Nut M8)

под заказ20 руб.
18515175642

Battery (Battery)

под заказ8080 руб.
18410301203

(последний код) BATTERY 18AMPS(WET) YTX20LBS(619660002)

под заказ12230 руб.
18FTX20L-BS

     (не оригинальная запчасть) Аккумулятор FTX20L-BS (YTX20L-BS)

под заказ8 580 руб.
18FHD20HL-BS-GEL

     (не оригинальная запчасть) Аккумулятор гелевый FHD20HL-BS-GEL (YTX20HL-BS, YTX20L-BS)

под заказ11 110 руб.
19605349434

Battery Провод (Battery wire)

под заказ1790 руб.
19

(последний код)

под заказпо запросу
20549887

Провод заземления (Ground wire)

под заказ2020 руб.
2127026

Tie-rap (Tie-rap)

под заказ110 руб.
21414115200

(последний код) Гарантийный комплект TIE-RAP 180 MM

под заказ130 руб.
22570151000

Колпачок protection (Cap protection)

под заказ1350 руб.
22673580

(последний код) CAPUCHON PROT. *CAP-PROTECTION

под заказ810 руб.
2340327

Шестигранный винт M6 x 12 (Hex. screw M6 x 12)

под заказ60 руб.
2340329

(последний код) HEX SCREW M6 X12 DIN 7500DZNE

под заказ40 руб.
24605350237

Rubber (Rubber)

под заказ430 руб.
25515175475

Battery Хомут (Battery strap)

под заказ1230 руб.
25515176044

(последний код) SANGLE BATTERIE*STRAP-BATTERY

под заказ1580 руб.
2550-17-005

     (не оригинальная запчасть) Ремень крепления аккумулятора BRP 50-17-005

под заказ580 руб.
265448286

Averse Пластина в сборе (Averse Plate Assy)

под заказ1540 руб.
27414227300

Зажим (Clip)

под заказ290 руб.
27414943400

(последний код) PINCE *CLIP

под заказ230 руб.
lynx

 
 

данный сайт носит информационный характер и не является публичной офертой

склад запчастей для водомоторной техники