вконтакте

Контактный телефон: +7 (981) 121-46-93, +7 (800) 200-90-76 , Email: parts-katalog@yandex.ru, где купить

 
 

  Логин:

Пароль:

Регистрация

www.partskatalog.ru Все каталоги Запчасти Mercury Запчасти Suzuki Запчасти Tohatsu Запчасти Honda Контакты



УВАЖАЕМЫЕ КЛИЕНТЫ!
C 19 ДЕКАБРЯ 2025 ПО 02 МАРТА 2026 ГОДА ОТДЕЛ ЗАПЧАСТЕЙ И СЕРВИС РАБОТАТЬ НЕ БУДУТ
ПРОДАЖА ЛОДОЧНЫХ МОТОРОВ В ШТАТНОМ РЕЖИМЕ
ОБ ИЗМЕНЕНИЯХ В ГРАФИКЕ РАБОТЫ ЧИТАЙТЕ НА САЙТА




Выбрать другую модель

назад Раздел:   вперёд

вернуться к списку узлов и деталей

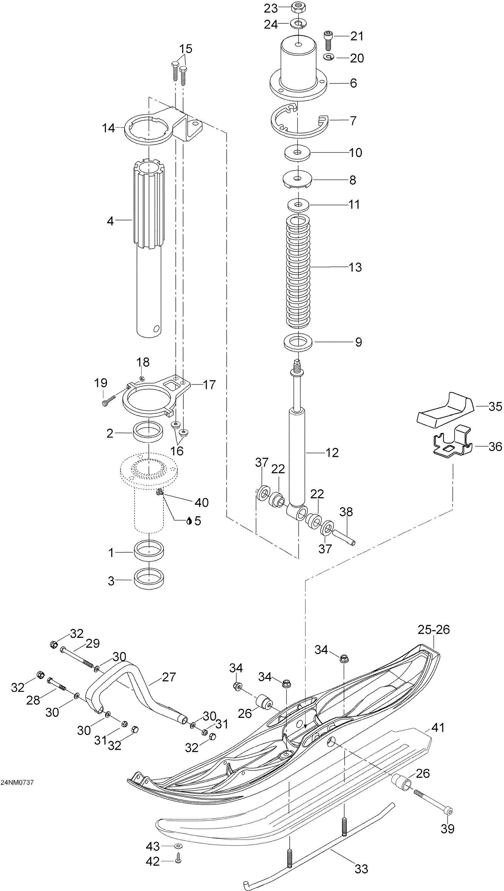
ДЕТАЛИРОВКА ДЛЯ МОДЕЛИ: LYNX YETI PRO V-800, 2007


Снегоходы Лункс  - Передняя подвеска и лыжи - Front Suspension And Ski


Warning: Undefined variable $NameRus2 in D:\www\www.partskatalog.ru\partsbase\base-snowmobile-lynx.php on line 922
Номер на
рисунке
АртикулНаименованиеКол-во
на складе
Цена
1414803200

нижний Подушка (Lower cushion)

под заказ870 руб.
1

(последний код)

под заказпо запросу
2414803100

верхний Подушка (Upper cushion)

под заказ620 руб.
2545666

(последний код) COUSSINET SUP. *CUSHION-UPPER

под заказпо запросу
3316373

Сальник (Oil seal)

под заказ2210 руб.
3

(последний код)

под заказпо запросу
45245362

Ski-leg (Ski-leg)

под заказ29900 руб.
4

(последний код)

под заказпо запросу
5413711500

Смазка (Grease)

под заказпо запросу
5219700417

(последний код) GRAISE SYNTHETI*GREASE-SYNTHE.

под заказ7860 руб.
6605249284

Welded Крышка (Welded cover)

под заказ3490 руб.
6

(последний код)

под заказпо запросу
7503145600

Проставка Пластина (Spacer plate)

под заказ1300 руб.
8605354835

Стопор (Stopper)

под заказ690 руб.
9549493

ПодшипникПластина (Bearingplate)

под заказ980 руб.
9

(последний код)

под заказпо запросу
105440399

Пластина (Plate)

под заказ160 руб.
11549492

Держатель Пластина (Holder plate)

под заказ900 руб.
11605455680

(последний код) ABSORBERFIBBER WASHER

под заказ980 руб.
1223134

Shock (Shock)

под заказ13820 руб.
12

(последний код)

под заказпо запросу
135241330

Пружина (Spring)

под заказ4710 руб.
13

(последний код)

под заказпо запросу
14605353422

Рычаг-Рулевая система R.H (Arm-steering R.H)

под заказ7110 руб.
14SM-08381

     (не оригинальная запчасть) Рулевой рычаг BRP (правый) SM-08381

под заказ2 970 руб.
14100805T

     (не оригинальная запчасть) Рулевой рычаг BRP (правый) 100805T

под заказ850 руб.
14605353423

Рычаг-Рулевая система L.H (Arm-steering L.H)

под заказ7110 руб.
14SM-08380

     (не оригинальная запчасть) Рулевой рычаг BRP (левый) SM-08380

под заказ3 040 руб.
14100804T

     (не оригинальная запчасть) Рулевой рычаг BRP (левый) 100804T

под заказ850 руб.
1540031

Винт M6 x 25 (Screw M6 x 25)

под заказ30 руб.
1633200

Elastic Фланецd Гайка M6 (Elastic flanged nut M6)

под заказпо запросу
1633072

(последний код) NUT-FLANGE HEX. M6 DIN 6927 8.8 YIC

под заказпо запросу
175344180

Sвышеport Рычаг в сборе (Support arm assy)

под заказпо запросу
17

(последний код)

под заказпо запросу
1833008

Гайка elastic M4 (Nut elastic M4)

под заказпо запросу
1940146

Socket head Винт M4 x 20 (Socket head screw M4 x 20)

под заказ310 руб.
19

(последний код)

под заказпо запросу
2020014

Шайба с блокировкой A8 (Lock washer A8)

под заказ20 руб.
2140305

Socket head Винт M8 x 20 (Socket head screw M8 x 20)

под заказ60 руб.
21

(последний код)

под заказпо запросу
22572034500

Гильза (Sleeve)

под заказ740 руб.
22SM-08800

     (не оригинальная запчасть) Амортизатор передней подвески BRP SM-08800

под заказ13 200 руб.
2333012

Эластичная гайка со стопором M10 (Elastic stop nut M10)

под заказ40 руб.
23

(последний код)

под заказпо запросу
2420012

Шайба A10, 5 (Washer A10,5)

под заказ310 руб.
24

(последний код)

под заказпо запросу
25605153775

пластиковый ski. Includes 25 to 26 (Plastic ski. Includes 25 to 26)

под заказпо запросу
25605148440

(последний код) ADJ-Ski, Pre Ass-y

под заказпо запросу
26605348392

Гильза (Sleeve)

под заказ2840 руб.
27505070963

пластиковый handle (Plastic handle)

под заказ2850 руб.
27572101000

(последний код) POIGNEE PLASTIC*HANDLE-PLASTIC

под заказ1680 руб.
2840009

Винт M8 x 50 (Screw M8 x 50)

под заказ100 руб.
2940264

Винт M8 x 90 (Screw M8 x 90)

под заказпо запросу
2940090

(последний код) HEX.SCREW M8X1.25X90 DIN.931 8.8 YIC

под заказпо запросу
3020004

Шайба A8, 4 (Washer A8,4)

под заказ110 руб.
30234081410

(последний код) WASHER-FLAT DIN.125A

под заказ130 руб.
3133011

Эластичная гайка со стопором M8 (Elastic stop nut M8)

под заказ30 руб.
31232581414

(последний код) NUT-STOP ELASTIC DIN.985

под заказ140 руб.
3228056

Колпачок (Cap)

под заказ50 руб.
32

(последний код)

под заказпо запросу
33605349311

Runner carbide в сборе (Runner carbide assy)

под заказ10150 руб.
33605352643

(последний код) Runner carbide pass. kit(два конька и гаечки)

под заказ11050 руб.
33100305T

     (не оригинальная запчасть) Конек лыжи 1863 BRP (без вставок)

под заказ1 900 руб.
33A-04-0-4-455

     (не оригинальная запчасть) Конек лыжи BRP (комплект 2шт) A-04-0-4-455

под заказ5 620 руб.
33100316T

     (не оригинальная запчасть) Конек лыжи снегохода BRP 100316T

под заказ3 550 руб.
3433074

Elastic Фланецd Гайка M10 (Elastic flanged nut M10)

под заказ460 руб.
34

(последний код)

под заказпо запросу
35605348439

Стопор (Stopper)

под заказ1890 руб.
36605348437

Sвышеport Пластина (Support plate)

под заказ1080 руб.
37605448594

Гильза (Sleeve)

под заказ190 руб.
38605348921

Гильза (Sleeve)

под заказ680 руб.
38505073209

(последний код) AXE SKI *SKI AXLE

под заказ910 руб.
3940225

Socket head Винт M10 x 140 (Socket head screw M10 x 140)

под заказ910 руб.
39

(последний код)

под заказпо запросу
4034019

Смазочный ниппель (Grease nipple)

под заказ1000 руб.
40

(последний код)

под заказпо запросу
41605153964

под заказ2970 руб.
41605158633

(последний код) Skiliner, wide ADJ 250/8 black

под заказ2720 руб.
4240901

Винт-plastofast 5 x 20 (Screw-plastofast 5 x 20)

под заказ70 руб.
4240881

(последний код) SCREW-HEX.

под заказ40 руб.
4320037

Шайба A4, 3 (Washer A4,3)

под заказ20 руб.
43

(последний код)

под заказпо запросу
lynx

 
 

данный сайт носит информационный характер и не является публичной офертой

склад запчастей для водомоторной техники