вконтакте

Контактный телефон: +7 (981) 121-46-93, +7 (800) 200-90-76 , Email: parts-katalog@yandex.ru, где купить

 
 

  Логин:

Пароль:

Регистрация

www.partskatalog.ru Все каталоги Запчасти Mercury Запчасти Suzuki Запчасти Tohatsu Запчасти Honda Контакты



УВАЖАЕМЫЕ КЛИЕНТЫ!
C 19 ДЕКАБРЯ 2025 ПО 02 МАРТА 2026 ГОДА ОТДЕЛ ЗАПЧАСТЕЙ И СЕРВИС РАБОТАТЬ НЕ БУДУТ
ПРОДАЖА ЛОДОЧНЫХ МОТОРОВ В ШТАТНОМ РЕЖИМЕ
ОБ ИЗМЕНЕНИЯХ В ГРАФИКЕ РАБОТЫ ЧИТАЙТЕ НА САЙТА




Выбрать другую модель

назад Раздел:   вперёд

вернуться к списку узлов и деталей

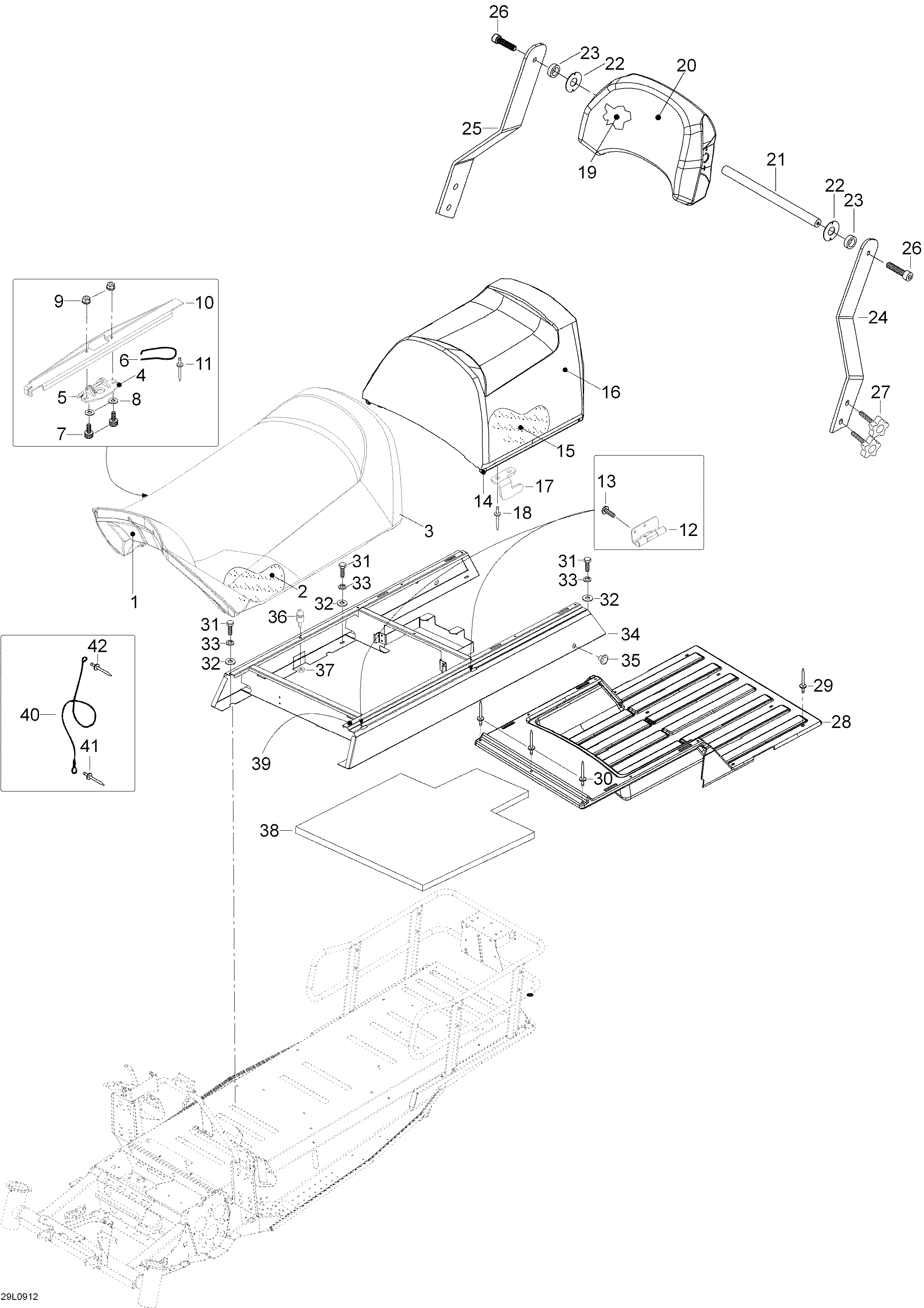
ДЕТАЛИРОВКА ДЛЯ МОДЕЛИ: LYNX YETI Pro Army V-800, 2009


Снегоходы Lynx  - Седло / Seat

Номер на
рисунке
АртикулНаименованиеКол-во
на складе
Цена
1 605251388

Седло Основание, front (Seat base, front)

под заказ7610 руб.
2 605255689

Foam, front (Foam, front)

под заказ26000 руб.
2 605254497

(последний код) MOUSSE SIEGE *FRONT FOAM SEAT

под заказ23900 руб.
3 605255152

Крышка, front (Cover, front)

под заказ20400 руб.
4 269700076

Крышка (Cover)

под заказ790 руб.
4 269700109

(последний код) LOQUET ASSEMBLE*LATCH ASS Y

под заказ2130 руб.
4 011-800

     (не оригинальная запчасть) Замок (фиксатор) BRP 011-800

под заказ2 370 руб.
5 269700077

Handle (Handle)

под заказ1570 руб.
5 269700109

(последний код) LOQUET ASSEMBLE*LATCH ASS Y

под заказ2130 руб.
5 011-800

     (не оригинальная запчасть) Замок (фиксатор) BRP 011-800

под заказ2 370 руб.
6 269700017

Пружина (Spring)

под заказ860 руб.
6 269000017

(последний код) RESSORT *SPRING

под заказ680 руб.
7 40276

Socket head Винт M6 x 25 (Socket head screw M6 x 25)

под заказ60 руб.
7

(последний код)

под заказпо запросу
8 20003

Шайба A6, 4 (Washer A6,4)

под заказ20 руб.
8

(последний код)

под заказпо запросу
9 33010

Эластичная гайка со стопором M6 (Elastic stop nut M6)

под заказ20 руб.
9 842042

(последний код) LOCKING NUT (USE 33010)

под заказ20 руб.
10 605352483

Sвышеport Пластина (Support plate)

под заказ1790 руб.
11 36088

Заклёпка (Rivet)

под заказ530 руб.
11

(последний код)

под заказпо запросу
12 605351798

Hinge (Hinge)

под заказ1370 руб.
13 40890

Wronic-Винт 4, 2 x 16 (Wronic-screw 4,2 x 16)

под заказ30 руб.
14 605251390

Седло Основание, rear (Seat base, rear)

под заказ2810 руб.
15 605255691

Foam, rear (Foam, rear)

под заказ13560 руб.
15 605254498

(последний код) MOUSSE SIEGE AR*REAR SEAT FOAM

под заказ12440 руб.
16 605255154

Крышка, rear (Cover, rear)

под заказ12130 руб.
17 605351808

L.H. Locking Крючок (L.H. Locking hook)

под заказ960 руб.
17 605352007

R.H. Locking Крючок (R.H. Locking hook)

под заказ960 руб.
18 36087

Заклёпка (Rivet)

под заказ80 руб.
18

(последний код)

под заказпо запросу
19 605255225

Foam, back rest (Foam, back rest)

под заказ5670 руб.
19 510004365

(последний код) MOUSSE DE DOSS.*FOAM-BACKREST

под заказ7240 руб.
20 605255157

Крышка (Cover)

под заказ7490 руб.
21 605355357

верхний backrest axle (Upper backrest axle)

под заказ3910 руб.
22 605355358

Шайба (Washer)

под заказ530 руб.
23 605455359

Rubber Регулировочная шайба (Rubber shim)

под заказ140 руб.
23 510004378

(последний код) CALE CAOUTCHOUC*SHIM-RUBBER

под заказ620 руб.
24 605355165

L.H. Рычаг (L.H. Arm)

под заказ1230 руб.
25 605355166

R.H. Рычаг (R.H. Arm)

под заказ1230 руб.
26 605640010

Socket head Винт M10 x 20 (Socket head screw M10 x 20)

под заказ70 руб.
27 510003533

Регулировочный винт M8 x 35 (Adjusting screw M8 x 35)

под заказ2820 руб.
28 605154593

Крышка (Cover)

под заказ12610 руб.
29 36036

Заклёпка (Rivet)

под заказ50 руб.
29 3699036

(последний код) RIVET NOIR *RIVET-BLACK

под заказ60 руб.
30 36037

Заклёпка (Rivet)

под заказ110 руб.
30

(последний код)

под заказпо запросу
31 40029

Шестигранный винт M6 x 16 (Hex. screw M6 x 16)

под заказ30 руб.
32 20009

Шайба (Washer)

под заказпо запросу
32 542376

(последний код) WASHER

под заказпо запросу
33 20052

Шайба с блокировкой (Lock washer)

под заказ120 руб.
33 234161471

(последний код) WASHER-LOCK BLACK DIN.127B

под заказ130 руб.
34 605255167

Седло Основание (Seat base)

под заказ30800 руб.
35 570277300

Заглушка (Plug)

под заказ1080 руб.
35 570274500

(последний код) BOUCHON ACCES *PLUG-ACCESS

под заказ990 руб.
36 605452035

Lock Штифт (Lock pin)

под заказ960 руб.
37 33010

Эластичная гайка со стопором M6 (Elastic stop nut M6)

под заказ20 руб.
37 842042

(последний код) LOCKING NUT (USE 33010)

под заказ20 руб.
38 605352460

Foam (Foam)

под заказ4210 руб.
39 28413

Прокладка (Gasket)

под заказ610 руб.
40 546777

Фиксатор Кабели (Retainer cable)

под заказ1350 руб.
40

(последний код)

под заказпо запросу
41 36037

Заклёпка (Rivet)

под заказ110 руб.
41

(последний код)

под заказпо запросу
42 36489

Заклёпка (Rivet)

под заказ80 руб.
42

(последний код)

под заказпо запросу
lynx

 
 

данный сайт носит информационный характер и не является публичной офертой

склад запчастей для водомоторной техники