вконтакте

Контактный телефон: +7 (981) 121-46-93, +7 (800) 200-90-76 , Email: parts-katalog@yandex.ru, где купить

 
 

  Логин:

Пароль:

Регистрация

www.partskatalog.ru Все каталоги Запчасти Mercury Запчасти Suzuki Запчасти Tohatsu Запчасти Honda Контакты



УВАЖАЕМЫЕ КЛИЕНТЫ!
C 19 ДЕКАБРЯ 2025 ПО 02 МАРТА 2026 ГОДА ОТДЕЛ ЗАПЧАСТЕЙ И СЕРВИС РАБОТАТЬ НЕ БУДУТ
ПРОДАЖА ЛОДОЧНЫХ МОТОРОВ В ШТАТНОМ РЕЖИМЕ
ОБ ИЗМЕНЕНИЯХ В ГРАФИКЕ РАБОТЫ ЧИТАЙТЕ НА САЙТА




Выбрать другую модель

назад Раздел:   вперёд

вернуться к списку узлов и деталей

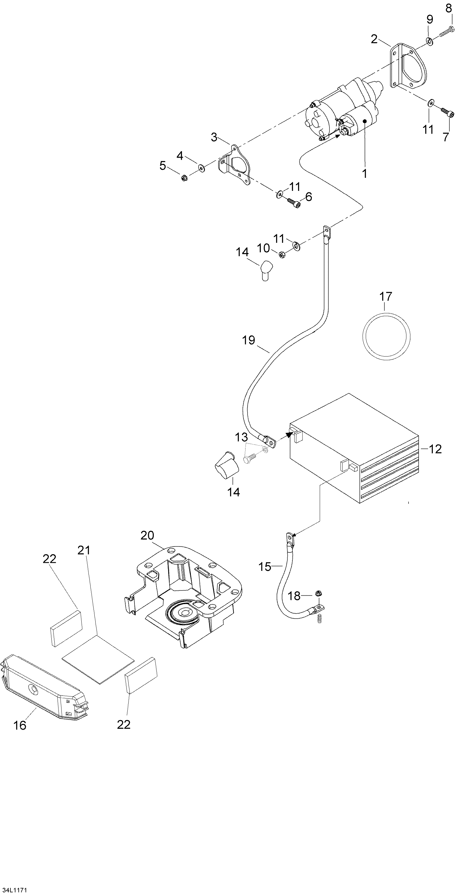
ДЕТАЛИРОВКА ДЛЯ МОДЕЛИ: LYNX YETI 550, 2011


Snow mobile Лункс  - Электростартер 552 / Electric Starter 552

Номер на
рисунке
АртикулНаименованиеКол-во
на складе
Цена
1 410212400

Электростартер Ass’Y (Electric Starter Ass’Y)

под заказ40400 руб.
1 410209200

(последний код) DEMARREUR *STARTER

под заказ36300 руб.
1 SM-01215

     (не оригинальная запчасть) Стартер электрический BRP SM-01215

под заказ18 060 руб.
2 420951415

Стартер Кронштейн, P.T.O. (Starter Bracket, P.T.O.)

под заказ5710 руб.
3 420951426

Стартер Кронштейн, M.A.G. (Starter Bracket, M.A.G.)

под заказ2320 руб.
4 20008

Шайба 5, 3 mm (Washer 5,3 mm)

под заказ30 руб.
4

(последний код)

под заказпо запросу
5 33009

Эластичная гайка со стопором M5 (Elastic stop nut M5)

под заказпо запросу
5

(последний код)

под заказпо запросу
6 40066

Socket head Винт M8 x 16 (Socket head screw M8 x 16)

под заказ50 руб.
6

(последний код)

под заказпо запросу
7 40305

Socket head Винт M8 x 20 (Socket head screw M8 x 20)

под заказ60 руб.
7

(последний код)

под заказпо запросу
8 40036

Винт M8 x 20 (Screw M8 x 20)

под заказ60 руб.
8 528801382

(последний код) SCREW

под заказ50 руб.
9 20014

Шайба с блокировкой (Lock washer)

под заказ20 руб.
10 33003

Гайка M8 (Nut M8)

под заказ20 руб.
11 20014

Шайба (Washer)

под заказ20 руб.
12 410301203

Battery в сборе, 18 Amperes. Includes 18 to 19 (Battery Assy, 18 Amperes. Includes 18 to 19)

под заказ12230 руб.
12 715900316

(последний код) BATTERIE 18 AMP*BATTERY-18 AMP

под заказпо запросу
12 FTX20L-BS

     (не оригинальная запчасть) Аккумулятор FTX20L-BS (YTX20L-BS)

под заказ8 580 руб.
12 FHD20HL-BS-GEL

     (не оригинальная запчасть) Аккумулятор гелевый FHD20HL-BS-GEL (YTX20HL-BS, YTX20L-BS)

под заказ11 110 руб.
13 295500849

Battery Защелка Kit (Battery Fastener Kit)

под заказ680 руб.
13 250000282

(последний код) BOULON BATTERIE*BOLT KIT

под заказ860 руб.
14 570151000

Protection Колпачок (Protection Cap)

под заказ1350 руб.
14 673580

(последний код) CAPUCHON PROT. *CAP-PROTECTION

под заказ810 руб.
15 515175483

Провод заземления (Ground Wire)

под заказ1560 руб.
16 605352572

Крышка (Cover)

под заказ960 руб.
17 605676001

OКольцо 130 X6, 0 (ORing 130 X6,0)

под заказ390 руб.
18 233261414

Hex. Фланецd Elastic Гайка M6 (Hex. Flanged Elastic Nut M6)

под заказ290 руб.
18

(последний код)

под заказпо запросу
19 XXX

Провод +. Includes main Жгут проводов (Wire +. Includes main harness)

20 605255588

Battery Sвышеport (Battery Support)

под заказ600 руб.
21 605355846

Foam (Foam)

под заказ2310 руб.
22 605355847

Foam (Foam)

под заказ1710 руб.
lynx

 
 

данный сайт носит информационный характер и не является публичной офертой

склад запчастей для водомоторной техники