вконтакте

Контактный телефон: +7 (981) 121-46-93, +7 (800) 200-90-76 , Email: parts-katalog@yandex.ru, где купить

 
 

  Логин:

Пароль:

Регистрация

www.partskatalog.ru Все каталоги Запчасти Mercury Запчасти Suzuki Запчасти Tohatsu Запчасти Honda Контакты



УВАЖАЕМЫЕ КЛИЕНТЫ!
C 19 ДЕКАБРЯ 2025 ПО 02 МАРТА 2026 ГОДА ОТДЕЛ ЗАПЧАСТЕЙ И СЕРВИС РАБОТАТЬ НЕ БУДУТ
ПРОДАЖА ЛОДОЧНЫХ МОТОРОВ В ШТАТНОМ РЕЖИМЕ
ОБ ИЗМЕНЕНИЯХ В ГРАФИКЕ РАБОТЫ ЧИТАЙТЕ НА САЙТА



назад Раздел:   вперёд

Модификация Вашего двигателя:   Honda BF5A3 LC
Модели с серийным номером двигателя от BADE-1300001 до BADE-1999999
Модели с серийным номером рамы от BADS-1800001 до BADS-1999999

Вернуться к выбору узлов мотора

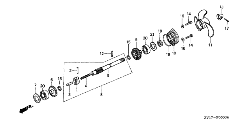
   Гребной винт / Вал гребного винта
Propeller / Propeller Shaft      


ДЕТАЛИРОВКА ДЛЯ МОДЕЛИ: HONDA BF5A3

Лодочный 4x-тактный мотор BF5A3 - Гребной винт / Вал гребного винта
Номер на
рисунке
АртикулНаименованиеКол-во
на складе
Цена
124101-ZV1-300

Переключатель сцепления (Shifter, clutch)

под заказ9150 руб. 
224102-ZV1-300

Штифт переключателя, 3x26 (Pin, shifter, 3x26)

под заказ260 руб. 
324122-ZV1-300

Ползунок переключателя (Slider, shift)

под заказ1670 руб. 
424123-ZV1-300

Пружина переключателя (Spring, shift)

2 шт550 руб. 
541150-ZV1-000

Косая шестерня заднего хода (Gear comp., bevel (r))

2 шт8280 руб. 
641145-ZV1-000

Косая шестерня переднего хода (Gear comp., bevel (f))

4 шт15670 руб. 
741158-ZV1-000

Регулировочная шайба B шестерни (0.10 мм) (Shim b, gear (0.10mm))

1 шт810 руб. 
741159-ZV1-000

Регулировочная шайба C шестерни (0.15 мм) (Shim c, gear (0.15mm))

1 шт840 руб. 
841160-ZV1-000

Вал гребного винта, комплект (Shaft comp., propeller)

3 шт27570 руб. 
941161-ZV1-300

Вал гребного винта (Shaft, propeller)

под заказ20310 руб. 
1041201-ZV1-843ZB

Держатель вала гребного винта *nh282mu * (Holder, propeller shaft *nh282mu *)

под заказ11370 руб. 
1041201-ZV1-C00ZA

(последний код) HOLDER, PROPELLER SHAFT *

под заказ11370 руб. 
1158130-ZV1-840ZB

Гребной винт, трёхлопастной (200x190) *nh283 * (Propeller comp., three blades (200x190) *nh283 *)

под заказ22030 руб. 
1158130-ZVD-003ZA

(последний код) PROPELLER COMP., THREE BL

под заказ14900 руб. 
1258131-ZV1-010

Срезная шпилька (Pin, shear)

5 шт580 руб. 
1358141-ZV1-000

Колпачок гребного винта (Cap, propeller)

под заказ1750 руб. 
1490101-ZV1-000

Болт под шестигранник., 6x18 (Bolt, hex., 6x18)

6 шт420 руб. 
1590503-ZV1-000

Шайба, 13 мм (Washer, 13mm)

5 шт810 руб. 
1690506-ZV4-000

Плоская шайба, 6 мм (Washer, plain, 6mm)

4 шт380 руб. 
1790758-ZV1-000

Стопорный шплинт (Pin, split)

18 шт230 руб. 
1891252-ZV1-003

Сальник, 13 мм (arai) (Seal, water, 13mm (arai))

4 шт850 руб. 
1991351-ZV1-003

Уплотнительное кольцо (52 мм) (O-ring (52mm))

11 шт300 руб. 
2096100-6004000

Подшипник, радиальный шариковый, 6004 (Bearing, radial ball, 6004)

1 шт1630 руб. 
206004NSK

   (подбор по маркировке) Подшипник NSK 6004(20*42*12 мм)

под заказ0

Время выполнения запроса 1.9240520000458 сек.

 
 

данный сайт носит информационный характер и не является публичной офертой

склад запчастей для водомоторной техники