вконтакте

Контактный телефон: +7 (981) 121-46-93, +7 (800) 200-90-76 , Email: parts-katalog@yandex.ru, где купить

 
 

  Логин:

Пароль:

Регистрация

www.partskatalog.ru Все каталоги Запчасти Mercury Запчасти Suzuki Запчасти Tohatsu Запчасти Honda Контакты


Все разделы каталога запчастей на этот двигатель

назад Раздел:   вперёд

вернуться к списку узлов и деталей

ДЕТАЛИРОВКА ДЛЯ МОДЕЛИ: EVINRUDE E4RDHLEIA 1991

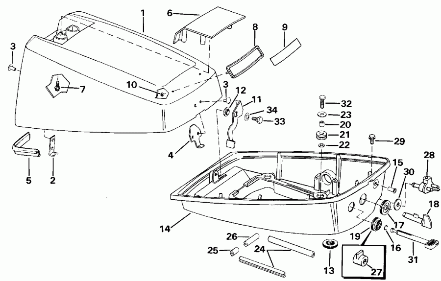
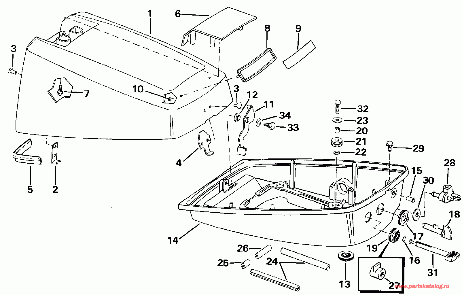
КРЫШКА ДВИГАТЕЛЯ (КАПОТ) | ENGINE COVER;


Лодочный мотор Evinrude E4RDHLEIA 1991  - gine Крышка - gine Cover

Номер на
рисунке
АртикулНаименованиеКол-во
на складе
Цена
1 0433220

Крышка двигателя (капот) в сборе.. Johnson Models (ENGINE COVER ASSY.. Johnson Models)

нет в наличии, поставок нет
1 0283532

Крышка двигателя (капот) в сборе.. Evinrude Models (ENGINE COVER ASSY.. Evinrude Models)

нет в наличии, поставок нет
2 0391114

Крючок, Rear (includes Заклёпкаs) (HOOK, Rear (includes rivets))

нет в наличии, поставок нет
2 0208453

   (последний код) HOOK

нет в наличии, поставок нет
3 0318836

Заклёпка, Крючок to Крышка (RIVET, Hook to cover)

нет в наличии, поставок нет
4 0431940

Крючок спереди (includes Заклёпкаs) (HOOK, Front (includes rivets))

нет в наличии, поставок нет
4 0391113

   (последний код) HOOK

нет в наличии, поставок нет
5 0334154

Сальник, Крышка (SEAL, Cover)

нет в наличии, поставок нет
5 0326342

   (последний код) SEAL

нет в наличии, поставок нет
6 0331134

Рукоятка наклона (TILT HANDLE)

нет в наличии, поставок нет
7 0330838

Винт (SCREW)

нет в наличии, поставок нет
7 0329268

   (последний код) SCREW

нет в наличии, поставок нет
8 0336472

APPLIQUE. Johnson Models (APPLIQUE. Johnson Models)

нет в наличии, поставок нет
8 0211144

APPLIQUE. Evinrude Models (APPLIQUE. Evinrude Models)

нет в наличии, поставок нет
9 0336469

Пластина. Johnson Models (PLATE. Johnson Models)

нет в наличии, поставок нет
9 0211145

Пластина. Evinrude Models (PLATE. Evinrude Models)

нет в наличии, поставок нет
10 0317223

Гайка, Push on (NUT, Push on)

нет в наличии, поставок нет
11 0312833

Рычаг, Latch (LEVER, Latch)

нет в наличии, поставок нет
12 0204444

Втулка (BUSHING)

нет в наличии, поставок нет
13 0331634

Пыльник тросика дросселя (GROMMET, Throttle cable)

нет в наличии, поставок нет
13 0325958

   (последний код) GROMMET

нет в наличии, поставок нет
14 0396888

Крышка двигателя (капот), нижний (ENGINE COVER, Lower)

нет в наличии, поставок нет
14 0391519

   (последний код) COVER AY,MOTOR-LWR

нет в наличии, поставок нет
15 0331977

EYELET (EYELET)

нет в наличии, поставок нет
16 0325104

Стопорное кольцо (RETAINING RING)

нет в наличии, поставок нет
17 0324973

Пыльник, Ручка slow speed (GROMMET, Knob slow speed)

нет в наличии, поставок нет
18 0324974

Ручка, Slow speed (KNOB, Slow speed)

нет в наличии, поставок нет
19 0204457

Пыльник ручки заслонки (GROMMET, Choke knob)

нет в наличии, поставок нет
20 0325085

Гильза, Крепление, Крышка двигателя (капот) (SLEEVE, Mount, engine cover)

нет в наличии, поставок нет
21 0325086

Пыльник крышки двигателя sвышеport (GROMMET, Engine cover support)

нет в наличии, поставок нет
22 0306482

Шайба, Крепление, small (WASHER, Mount, small)

нет в наличии, поставок нет
23 0331249

Шайба, Крепление, large (WASHER, Mount, large)

нет в наличии, поставок нет
23 0330155

   (последний код) WASHER

нет в наличии, поставок нет
24 0325087

Резинка капота двигателя, side (SEAL, Engine cover, side)

нет в наличии, поставок нет
25 0325088

Сальник, Выхлоп hsg., rear, stbd. (SEAL, Exhaust hsg., rear, stbd.)

нет в наличии, поставок нет
26 0325823

Сальник, Выхлоп Задний корпус, port (SEAL, Exhaust housing, rear, port)

нет в наличии, поставок нет
27 0326723

Втулка, Choke Ручка (BUSHING, Choke knob)

нет в наличии, поставок нет
28 0397444

Топливный коннектор (FUEL CONNECTOR)

нет в наличии, поставок нет
28 0438793

   (последний код) KIT AY,FUEL CONN

нет в наличии, поставок нет
29 0305284

Винт, Топливный коннектор (SCREW, Fuel connector)

нет в наличии, поставок нет
29 0908158

   (последний код) SCREW

нет в наличии, поставок нет
30 0330996

Сальник, Топливный коннектор (SEAL, Fuel connector)

нет в наличии, поставок нет
31 0328031

Регулятор дросселя (KNOB, Choke)

нет в наличии, поставок нет
31 0324692

   (последний код) CHOKE-KNOB

нет в наличии, поставок нет
32 0306409

Винт (SCREW)

нет в наличии, поставок нет
33 0302592

Винт, Latch Рычаг (SCREW, Latch lever)

нет в наличии, поставок нет
34 0334858

Шайба (WASHER)

нет в наличии, поставок нет
0434683 0434683

Комплект наклеек, Jo.. Not Shown Johnson Models (DECAL SET, Jo.. Not Shown Johnson Models)

нет в наличии, поставок нет
0283728 0283728

Комплект наклеек, Ev.. Not Shown Evinrude Models (DECAL SET, Ev.. Not Shown Evinrude Models)

нет в наличии, поставок нет
0434320 0434320

OWNERS ручной. Not Shown Johnson Models 4-Language Ownerft.s ручной (English, French, Spanish & Portuguese) (OWNERS MANUAL. Not Shown Johnson Models 4-Language Ownerft.s Manual (English, French, Spanish & Portuguese))

нет в наличии, поставок нет
0434320 8011884

   (последний код) OM4DELUXE434320

нет в наличии, поставок нет
0211631 0211631

OWNERS ручной. Not Shown Evinrude Models 4-Language Ownerft.s ручной (English, French, Spanish & Portuguese) (OWNERS MANUAL. Not Shown Evinrude Models 4-Language Ownerft.s Manual (English, French, Spanish & Portuguese))

нет в наличии, поставок нет
0211631 8021884

   (последний код) OM4DELUXE211631

нет в наличии, поставок нет
evinrude

Время выполнения запроса 2.099739074707 сек.


 
 

данный сайт носит информационный характер и не является публичной офертой

склад запчастей для водомоторной техники