вконтакте

Контактный телефон: +7 (981) 121-46-93, +7 (800) 200-90-76 , Email: parts-katalog@yandex.ru, где купить

 
 

  Логин:

Пароль:

Регистрация

www.partskatalog.ru Все каталоги Запчасти Mercury Запчасти Suzuki Запчасти Tohatsu Запчасти Honda Контакты



УВАЖАЕМЫЕ КЛИЕНТЫ!
C 19 ДЕКАБРЯ 2025 ПО 02 МАРТА 2026 ГОДА ОТДЕЛ ЗАПЧАСТЕЙ И СЕРВИС РАБОТАТЬ НЕ БУДУТ
ПРОДАЖА ЛОДОЧНЫХ МОТОРОВ В ШТАТНОМ РЕЖИМЕ
ОБ ИЗМЕНЕНИЯХ В ГРАФИКЕ РАБОТЫ ЧИТАЙТЕ НА САЙТА




Все разделы каталога запчастей на этот двигатель

назад Раздел:   вперёд

вернуться к списку узлов и деталей

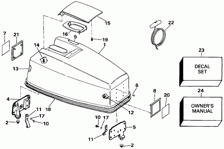
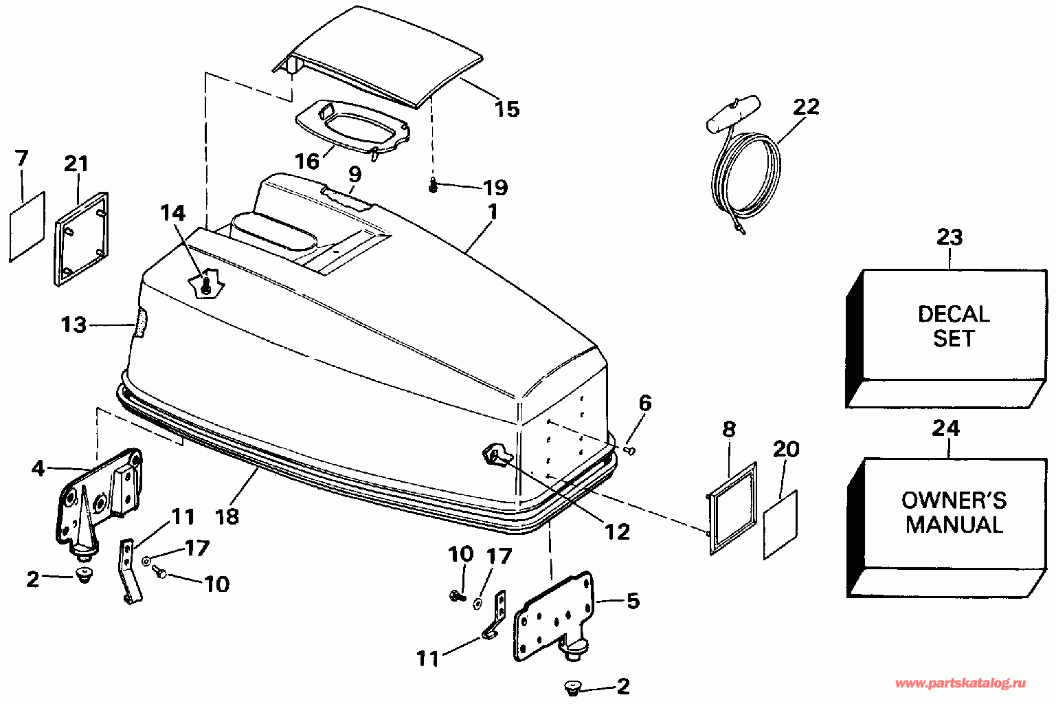
ДЕТАЛИРОВКА ДЛЯ МОДЕЛИ: EVINRUDE E50TELEIA 1991

КРЫШКА ДВИГАТЕЛЯ (КАПОТ) - JOHNSON 50 | ENGINE COVER - JOHNSON 50;


Лодочный подвесной мотор Evinrude E50TELEIA 1991  - Johnson 50 - Johnson 50

Номер на
рисунке
АртикулНаименованиеКол-во
на складе
Цена
1 0433965

Крышка двигателя (капот) в сборе.. 50BE - 50BEL - 50TL 50TEL (ENGINE COVER ASSY.. 50BE - 50BEL - 50TL 50TEL)

нет в наличии, поставок нет
1 0434583

Крышка двигателя (капот) в сборе.. 50JE (ENGINE COVER ASSY.. 50JE)

нет в наличии, поставок нет
2 0334432

Бампер, Locating Кронштейн (BUMPER, Locating bracket)

нет в наличии, поставок нет
4 0333939

LOCATING Кронштейн, Rear (LOCATING BRACKET, Rear)

нет в наличии, поставок нет
5 0333938

LOCATING Кронштейн Front (LOCATING BRACKET Front)

нет в наличии, поставок нет
6 0326948

Заклёпка, Locating Кронштейн (RIVET, Locating bracket)

нет в наличии, поставок нет
6 0331881

   (последний код) RIVET

нет в наличии, поставок нет
7 0336074

Пластина, Rear. 50BE - 50BEL - 50TL 50TEL (PLATE, Rear. 50BE - 50BEL - 50TL 50TEL)

нет в наличии, поставок нет
7 0335756

Пластина, Rear. 50JE (PLATE, Rear. 50JE)

нет в наличии, поставок нет
8 0336076

Рама, Front. 50BE - 50BEL - 50TL 50TEL (FRAME, Front. 50BE - 50BEL - 50TL 50TEL)

нет в наличии, поставок нет
8 0335033

Рама, Front. 50JE (FRAME, Front. 50JE)

нет в наличии, поставок нет
9 0206681

SOUND BLANKET, Top (SOUND BLANKET, Top)

нет в наличии, поставок нет
9 0341531

   (последний код) BLANKET,SOUND

нет в наличии, поставок нет
10 0305284

Винт, Крючок to Кронштейн (SCREW, Hook to bracket)

нет в наличии, поставок нет
10 0908158

   (последний код) SCREW

нет в наличии, поставок нет
11 0323176

Крючок, Кронштейн (HOOK, Bracket)

нет в наличии, поставок нет
11 0315191

   (последний код) HOOK

нет в наличии, поставок нет
12 0317223

Защелка, Applique (FASTENER, Applique)

нет в наличии, поставок нет
13 0206682

SOUND BLANKET, Side (SOUND BLANKET, Side)

нет в наличии, поставок нет
13 0341532

   (последний код) BLANKET,SOUND

нет в наличии, поставок нет
14 0323228

Винт, Рукоятка наклона, rear (SCREW, Tilt handle, rear)

нет в наличии, поставок нет
15 0208181

Рукоятка наклона (TILT HANDLE)

нет в наличии, поставок нет
16 0210296

BAFFLE, Рукоятка наклона (BAFFLE, Tilt handle)

нет в наличии, поставок нет
17 0313079

Шайба, Крючок to Кронштейн (WASHER, Hook to bracket)

нет в наличии, поставок нет
18 0211111

Резинка капота двигателя (SEAL, Engine cover)

нет в наличии, поставок нет
19 0323229

Винт, Рукоятка наклона, front (SCREW, Tilt handle, front)

нет в наличии, поставок нет
20 0336070

Пластина, Applique. 50BE - 50BEL - 50TL 50TEL (PLATE, Applique. 50BE - 50BEL - 50TL 50TEL)

нет в наличии, поставок нет
20 0335754

Пластина, Applique. 50JE (PLATE, Applique. 50JE)

нет в наличии, поставок нет
21 0336077

Рама, Rear. 50BE - 50BEL - 50TL 50TEL (FRAME, Rear. 50BE - 50BEL - 50TL 50TEL)

нет в наличии, поставок нет
21 0335042

Рама, Rear. 50JE (FRAME, Rear. 50JE)

нет в наличии, поставок нет
22 0378347

Шнур стартера (STARTER ROPE)

нет в наличии, поставок нет
23 0435315

Комплект наклеек. 50BE - 50BEL - 50TL 50TEL (DECAL SET. 50BE - 50BEL - 50TL 50TEL)

нет в наличии, поставок нет
23 0435316

Комплект наклеек. 50JE (DECAL SET. 50JE)

нет в наличии, поставок нет
24 0434375

OWNERS ручной. 50TEL 4-Language Ownerft.s ручной (English, French, Spanish & Portuguese) (OWNERS MANUAL. 50TEL 4-Language Ownerft.s Manual (English, French, Spanish & Portuguese))

нет в наличии, поставок нет
24 0434394

OWNERS ручной. 50BE - 50BEL - 50TL 50JE 4-Language Ownerft.s ручной (English, French, Spanish & Portuguese) (OWNERS MANUAL. 50BE - 50BEL - 50TL 50JE 4-Language Ownerft.s Manual (English, French, Spanish & Portuguese))

нет в наличии, поставок нет
24 8011905

   (последний код) OM40/50EL434394

нет в наличии, поставок нет
24 0434393

OWNERS ручной. 50BE - 50BEL - 50TL 7-Language Ownerft.s ручной (German, Italian, Dutch, Swedish, Finnish, Danish & Norwegian) (OWNERS MANUAL. 50BE - 50BEL - 50TL 7-Language Ownerft.s Manual (German, Italian, Dutch, Swedish, Finnish, Danish & Norwegian))

нет в наличии, поставок нет
24 8011906

   (последний код) OM40/50EL434393

нет в наличии, поставок нет
24 0434379

OWNERS ручной. 50TEL 7-Language Ownerft.s ручной (German, Italian, Dutch, Swedish, Finnish, Danish & Norwegian) (OWNERS MANUAL. 50TEL 7-Language Ownerft.s Manual (German, Italian, Dutch, Swedish, Finnish, Danish & Norwegian))

нет в наличии, поставок нет
24 8011904

   (последний код) OM40/50RP434379

нет в наличии, поставок нет
evinrude

Время выполнения запроса 1.2076020240784 сек.


 
 

данный сайт носит информационный характер и не является публичной офертой

склад запчастей для водомоторной техники