вконтакте

Контактный телефон: +7 (981) 121-46-93, +7 (800) 200-90-76 , Email: parts-katalog@yandex.ru, где купить

 
 

  Логин:

Пароль:

Регистрация

www.partskatalog.ru Все каталоги Запчасти Mercury Запчасти Suzuki Запчасти Tohatsu Запчасти Honda Контакты



УВАЖАЕМЫЕ КЛИЕНТЫ!
C 19 ДЕКАБРЯ 2025 ПО 02 МАРТА 2026 ГОДА ОТДЕЛ ЗАПЧАСТЕЙ И СЕРВИС РАБОТАТЬ НЕ БУДУТ
ПРОДАЖА ЛОДОЧНЫХ МОТОРОВ В ШТАТНОМ РЕЖИМЕ
ОБ ИЗМЕНЕНИЯХ В ГРАФИКЕ РАБОТЫ ЧИТАЙТЕ НА САЙТА




Все разделы каталога запчастей на этот двигатель

назад Раздел:   вперёд

вернуться к списку узлов и деталей

ДЕТАЛИРОВКА ДЛЯ МОДЕЛИ: EVINRUDE VE140TLEID 1991

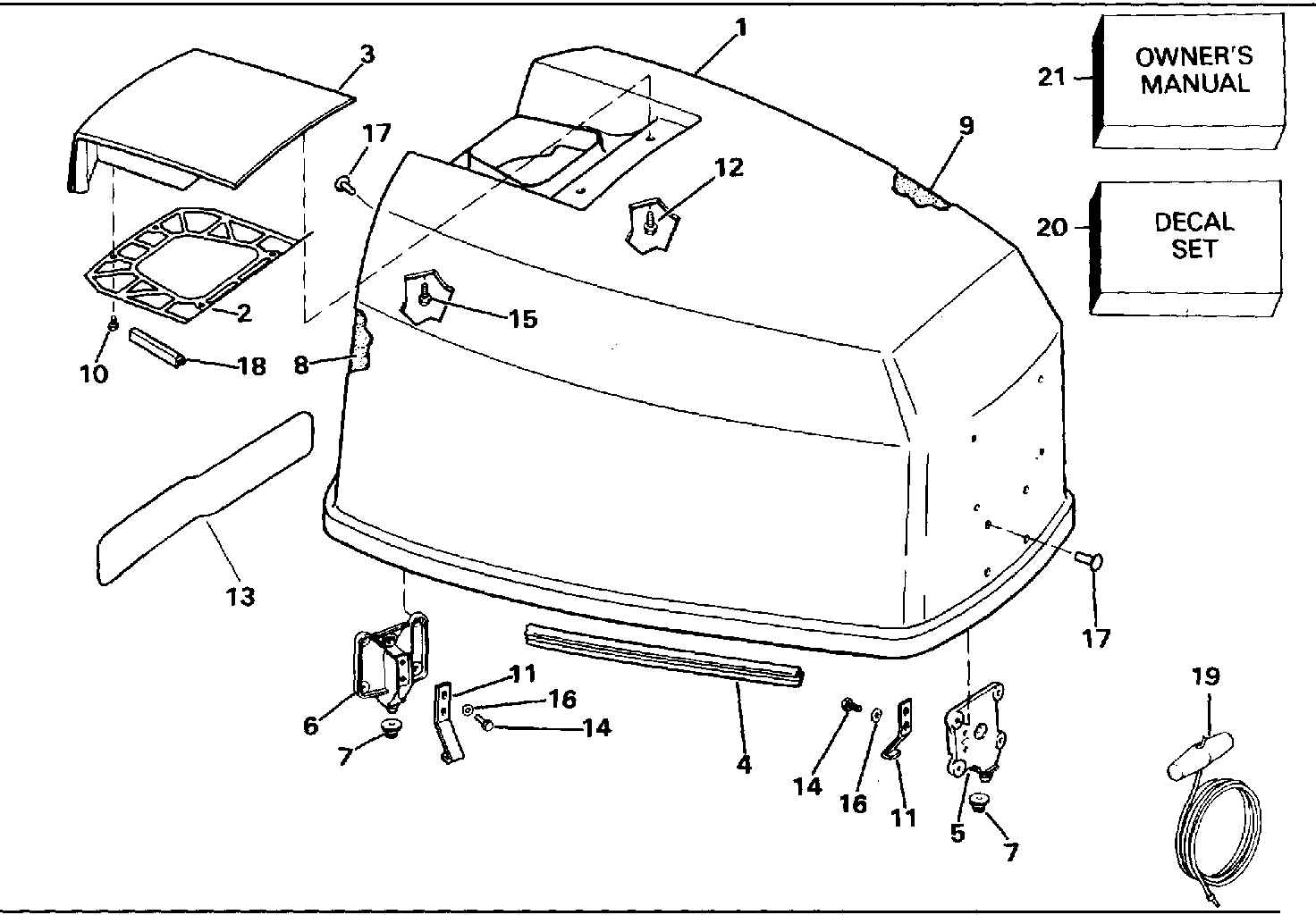
КРЫШКА ДВИГАТЕЛЯ (КАПОТ) - JOHNSON 120-140 MODELS | ENGINE COVER - JOHNSON 120-140 MODELS;


Подвесной лодочный мотор Эвинруд VE140TLEID 1991  - Johnson 120-140 Models - Johnson 120-140 Models

Номер на
рисунке
АртикулНаименованиеКол-во
на складе
Цена
1 0434000

Крышка двигателя (капот) в сборе., 120. Metallic Gray Крышка двигателя (капот) (ENGINE COVER ASSY., 120. Metallic Gray Engine Cover)

нет в наличии, поставок нет
1 0433999

Крышка двигателя (капот) в сборе., 120. белый Крышка двигателя (капот) (ENGINE COVER ASSY., 120. White Engine Cover)

нет в наличии, поставок нет
1 0434105

Крышка двигателя (капот) в сборе., 140. 140 обратное вращение Only (ENGINE COVER ASSY., 140. 140 Counter Rotation Only)

нет в наличии, поставок нет
1 0434002

Крышка двигателя (капот) в сборе., 140. Metallic Gray Крышка двигателя (капот) (ENGINE COVER ASSY., 140. Metallic Gray Engine Cover)

нет в наличии, поставок нет
1 0434001

Крышка двигателя (капот) в сборе., 140. белый Крышка двигателя (капот) (ENGINE COVER ASSY., 140. White Engine Cover)

нет в наличии, поставок нет
2 0331942

BAFFLE, Рукоятка наклона (BAFFLE, Tilt handle)

нет в наличии, поставок нет
2 0328670

   (последний код) BAFFLE

нет в наличии, поставок нет
3 0328671

Рукоятка наклона (TILT HANDLE)

нет в наличии, поставок нет
4 0912032

Резинка капота двигателя (SEAL, Engine cover)

нет в наличии, поставок нет
4 0330731

   (последний код) SEAL,MOTOR COVER

нет в наличии, поставок нет
5 0329762

LOCATING BRKT., Front (LOCATING BRKT., Front)

нет в наличии, поставок нет
6 0394976

LOCATING BRKT., Rear (LOCATING BRKT., Rear)

нет в наличии, поставок нет
6 0389972

   (последний код) BRKT & BUMPR AY

нет в наличии, поставок нет
7 0324898

Бампер, Locating brkts. (BUMPER, Locating brkts.)

нет в наличии, поставок нет
8 0328668

SOUND BLANKET, Side (SOUND BLANKET, Side)

нет в наличии, поставок нет
8 0341539

   (последний код) BLANKET,SOUN

нет в наличии, поставок нет
9 0328667

SOUND BLANKET, Top (SOUND BLANKET, Top)

нет в наличии, поставок нет
9 0341538

   (последний код) BLANKET,SOUN

нет в наличии, поставок нет
10 0323937

Винт, Baffle to Рукоятка наклона (SCREW, Baffle to tilt handle)

нет в наличии, поставок нет
11 0323176

Крючок капота двигателя (HOOK, Engine cover)

нет в наличии, поставок нет
11 0315191

   (последний код) HOOK

нет в наличии, поставок нет
12 0323229

Винт, Рукоятка наклона, front (SCREW, Tilt handle, front)

нет в наличии, поставок нет
13 0336176

APPLIQUE, Крышка двигателя (капот), rear (APPLIQUE, Engine cover, rear)

нет в наличии, поставок нет
14 0319137

Винт, Крючок (SCREW, Hook)

нет в наличии, поставок нет
15 0323228

Винт, Рукоятка наклона, rear (SCREW, Tilt handle, rear)

нет в наличии, поставок нет
16 0328703

Шайба, Винт (WASHER, Screw)

нет в наличии, поставок нет
16 3852184

   (последний код) WASHER

нет в наличии, поставок нет
17 0326948

Заклёпка, Locating Кронштейн (RIVET, Locating bracket)

нет в наличии, поставок нет
17 0331881

   (последний код) RIVET

нет в наличии, поставок нет
18 0328669

Сальник, Baffle to Рукоятка наклона (SEAL, Baffle to tilt handle)

нет в наличии, поставок нет
18 0210187

   (последний код) SEAL,MOTOR COVER

нет в наличии, поставок нет
19 0378347

Шнур стартера (STARTER ROPE)

нет в наличии, поставок нет
20 0435209

Комплект наклеек, 120 (DECAL SET, 120)

нет в наличии, поставок нет
20 0435211

Комплект наклеек, 140 (DECAL SET, 140)

нет в наличии, поставок нет
21 0434343

OWNERS ручной. 4 Language ручной (OWNERS MANUAL. 4 Language Manual)

нет в наличии, поставок нет
21 8011915

   (последний код) OMLOOP V 434343

нет в наличии, поставок нет
21 0434344

OWNERS ручной. 7 Language ручной (OWNERS MANUAL. 7 Language Manual)

нет в наличии, поставок нет
21 8006489

   (последний код) OM211837

нет в наличии, поставок нет
21 0434351

PAMPLET, обратное вращение. 140 обратное вращение Only (PAMPLET, Counter rotation. 140 Counter Rotation Only)

нет в наличии, поставок нет
evinrude

Время выполнения запроса 1.7078759670258 сек.


 
 

данный сайт носит информационный характер и не является публичной офертой

склад запчастей для водомоторной техники