вконтакте

Контактный телефон: +7 (981) 121-46-93, +7 (800) 200-90-76 , Email: parts-katalog@yandex.ru, где купить

 
 

  Логин:

Пароль:

Регистрация

www.partskatalog.ru Все каталоги Запчасти Mercury Запчасти Suzuki Запчасти Tohatsu Запчасти Honda Контакты



УВАЖАЕМЫЕ КЛИЕНТЫ!
C 19 ДЕКАБРЯ 2025 ПО 02 МАРТА 2026 ГОДА ОТДЕЛ ЗАПЧАСТЕЙ И СЕРВИС РАБОТАТЬ НЕ БУДУТ
ПРОДАЖА ЛОДОЧНЫХ МОТОРОВ В ШТАТНОМ РЕЖИМЕ
ОБ ИЗМЕНЕНИЯХ В ГРАФИКЕ РАБОТЫ ЧИТАЙТЕ НА САЙТА




Все разделы каталога запчастей на этот двигатель

назад Раздел:   вперёд

вернуться к списку узлов и деталей

ДЕТАЛИРОВКА ДЛЯ МОДЕЛИ: EVINRUDE E50TLENJ 1992

КРЫШКА ДВИГАТЕЛЯ (КАПОТ) - JOHNSON 25-40 | ENGINE COVER - JOHNSON 25-40;


Подвесной мотор Evinrude E50TLENJ 1992  - Johnson 25-40 - Johnson 25-40

Номер на
рисунке
АртикулНаименованиеКол-во
на складе
Цена
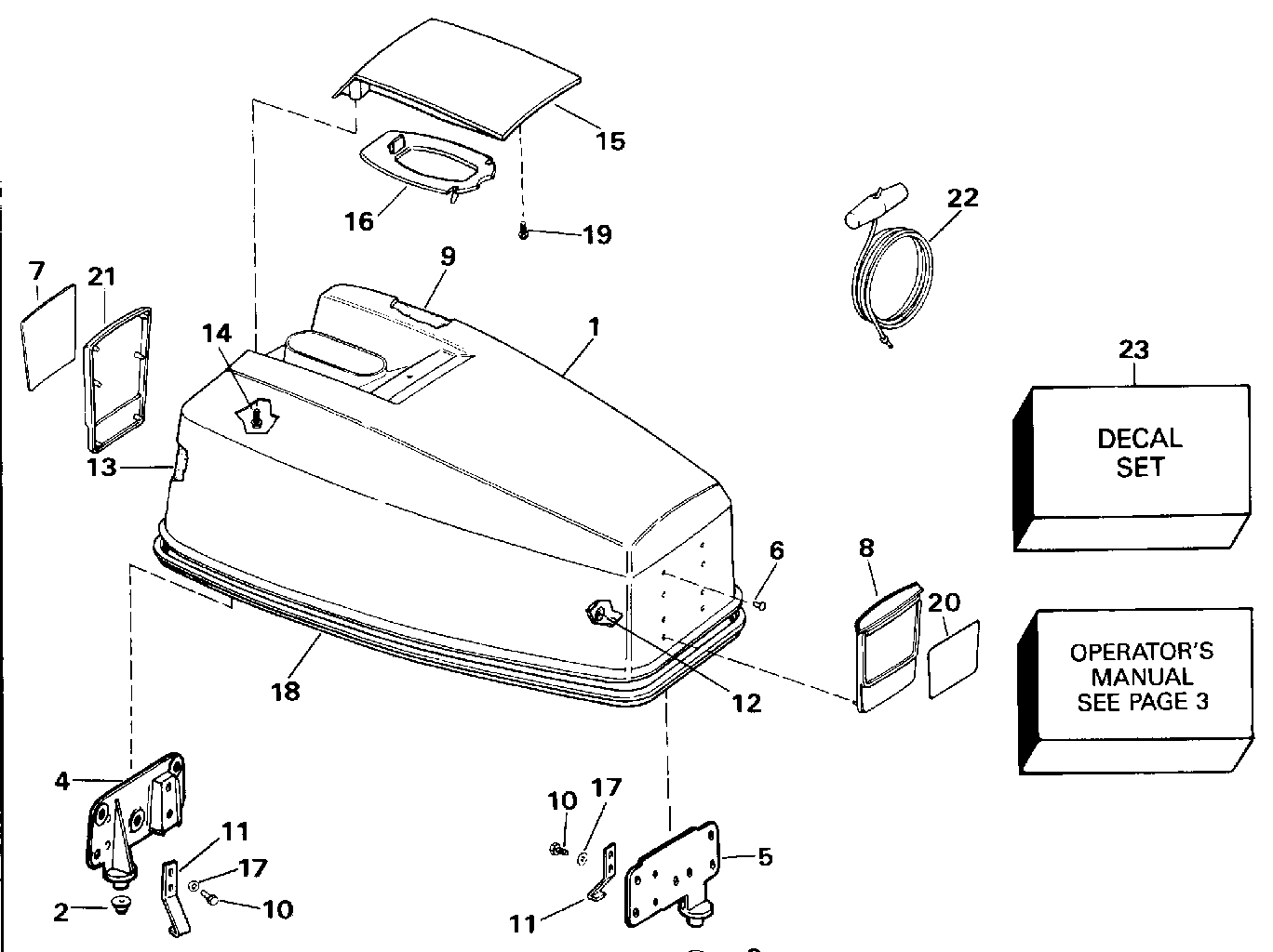
1 0435158

Крышка двигателя (капот) в сборе.. 40EC-40EL-40TL 40TEC-40TEL-40TTL (ENGINE COVER ASSY.. 40EC-40EL-40TL 40TEC-40TEL-40TTL)

нет в наличии, поставок нет
1 0439955

   (последний код) UMC SVC AY,JO WHT

нет в наличии, поставок нет
1 0434556

Крышка двигателя (капот) в сборе.. TJ40EL (ENGINE COVER ASSY.. TJ40EL)

нет в наличии, поставок нет
1 5000736

   (последний код) COVER AY,MOTOR-

нет в наличии, поставок нет
2 0334432

Бампер, Locating Кронштейн, (BUMPER, Locating bracket,)

нет в наличии, поставок нет
4 0333939

LOCATING Кронштейн, Rear (LOCATING BRACKET, Rear)

нет в наличии, поставок нет
5 0333938

LOCATING Кронштейн, Front (LOCATING BRACKET, Front)

нет в наличии, поставок нет
6 0326948

Заклёпка, Locating Кронштейн (RIVET, Locating bracket)

нет в наличии, поставок нет
6 0331881

   (последний код) RIVET

нет в наличии, поставок нет
7 0337665

Пластина, Rear. 40EC-40EL-40TL 40TEC-40TEL-40TTL (PLATE, Rear. 40EC-40EL-40TL 40TEC-40TEL-40TTL)

нет в наличии, поставок нет
7 0336667

Пластина, Rear. TJ40EL (PLATE, Rear. TJ40EL)

нет в наличии, поставок нет
8 0334236

Рама, Front. 40EC-40EL-40TL 40TEC-40TEL-40TTL (FRAME, Front. 40EC-40EL-40TL 40TEC-40TEL-40TTL)

нет в наличии, поставок нет
8 0335033

Рама, Front. TJ40EL (FRAME, Front. TJ40EL)

нет в наличии, поставок нет
9 0206681

SOUND BLANKET, Top (SOUND BLANKET, Top)

нет в наличии, поставок нет
9 0341531

   (последний код) BLANKET,SOUND

нет в наличии, поставок нет
10 0305284

Винт, Крючок to Кронштейн (SCREW, Hook to bracket)

нет в наличии, поставок нет
10 0908158

   (последний код) SCREW

нет в наличии, поставок нет
11 0323176

Крючок, Кронштейн (HOOK, Bracket)

нет в наличии, поставок нет
11 0315191

   (последний код) HOOK

нет в наличии, поставок нет
12 0317223

Защелка (FASTENER)

нет в наличии, поставок нет
13 0206682

SOUND BLANKET, Side (SOUND BLANKET, Side)

нет в наличии, поставок нет
13 0341532

   (последний код) BLANKET,SOUND

нет в наличии, поставок нет
14 0323228

Винт, Рукоятка наклона, rear (SCREW, Tilt handle, rear)

нет в наличии, поставок нет
15 0208181

Рукоятка наклона (TILT HANDLE)

нет в наличии, поставок нет
16 0210296

BAFFLE, Рукоятка наклона (BAFFLE, Tilt handle)

нет в наличии, поставок нет
17 0313079

Шайба, Крючок to Кронштейн (WASHER, Hook to bracket)

нет в наличии, поставок нет
18 0211111

Резинка капота двигателя (SEAL, Engine cover)

нет в наличии, поставок нет
19 0323229

Винт, Рукоятка наклона, front (SCREW, Tilt handle, front)

нет в наличии, поставок нет
20 0337653

Пластина, Applique. 40EC-40EL-40TL 40TEC-40TEL-40TTL (PLATE, Applique. 40EC-40EL-40TL 40TEC-40TEL-40TTL)

нет в наличии, поставок нет
20 0335755

Пластина, Applique. TJ40EL (PLATE, Applique. TJ40EL)

нет в наличии, поставок нет
21 0334237

Рама, Rear. 40EC-40EL-40TL 40TEC-40TEL-40TTL (FRAME, Rear. 40EC-40EL-40TL 40TEC-40TEL-40TTL)

нет в наличии, поставок нет
21 0335042

Рама, Rear. TJ40EL (FRAME, Rear. TJ40EL)

нет в наличии, поставок нет
22 0378347

Шнур стартера (STARTER ROPE)

нет в наличии, поставок нет
23 0435625

Комплект наклеек. 40EC-40EL-40TL 40TEC-40TEL-40TTL (DECAL SET. 40EC-40EL-40TL 40TEC-40TEL-40TTL)

нет в наличии, поставок нет
23 0435628

   (последний код) DECAL AY,SET

нет в наличии, поставок нет
23 0435313

Комплект наклеек. TJ40EL (DECAL SET. TJ40EL)

нет в наличии, поставок нет
evinrude

Время выполнения запроса 1.0418798923492 сек.


 
 

данный сайт носит информационный характер и не является публичной офертой

склад запчастей для водомоторной техники