вконтакте

Контактный телефон: +7 (981) 121-46-93, +7 (800) 200-90-76 , Email: parts-katalog@yandex.ru, где купить

 
 

  Логин:

Пароль:

Регистрация

www.partskatalog.ru Все каталоги Запчасти Mercury Запчасти Suzuki Запчасти Tohatsu Запчасти Honda Контакты


Все разделы каталога запчастей на этот двигатель

назад Раздел:   вперёд

вернуться к списку узлов и деталей

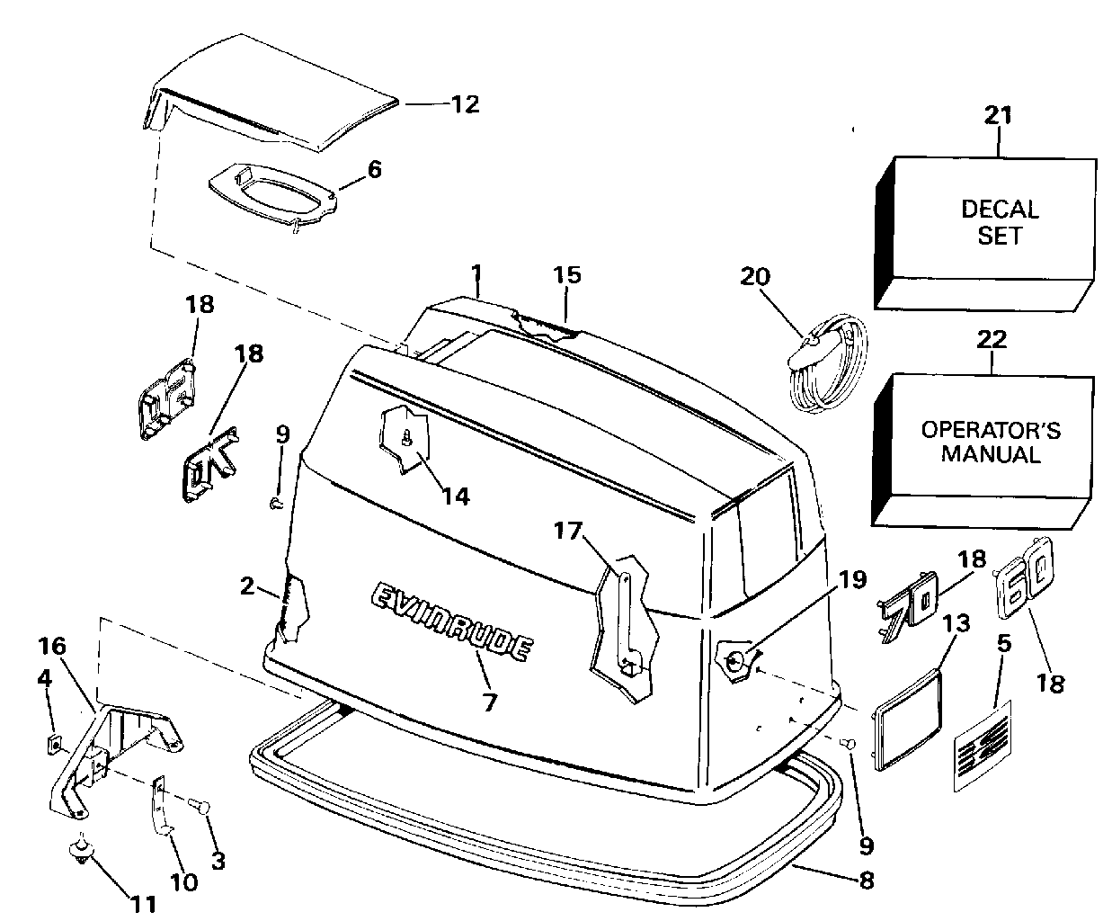
ДЕТАЛИРОВКА ДЛЯ МОДЕЛИ: EVINRUDE E60ELENE 1992

КРЫШКА ДВИГАТЕЛЯ (КАПОТ) -EVINRUDE | ENGINE COVER -EVINRUDE;


Подвесной лодочный мотор Эвинруд E60ELENE 1992  - vinrude - vinrude

Номер на
рисунке
АртикулНаименованиеКол-во
на складе
Цена
1 0284061

Крышка двигателя (капот) ASSEMBLY. TE60 Model Only (ENGINE COVER ASSEMBLY. TE60 Model Only)

нет в наличии, поставок нет
1 0283804

   (последний код) COVER AY,MOTOR-UPR

нет в наличии, поставок нет
1 0284124

Крышка двигателя (капот) ASSEMBLY, 60 (ENGINE COVER ASSEMBLY, 60)

нет в наличии, поставок нет
1 0284125

Крышка двигателя (капот) ASSEMBLY, 70 (ENGINE COVER ASSEMBLY, 70)

нет в наличии, поставок нет
2 0320611

SOUND BLANKET, Side (SOUND BLANKET, Side)

нет в наличии, поставок нет
2 0341536

   (последний код) BLANKET,SOUND

нет в наличии, поставок нет
3 0307029

Винт, Крючок (SCREW, Hook)

нет в наличии, поставок нет
4 0203688

Гайка, Винт Крючок (NUT, Screw hook)

нет в наличии, поставок нет
4 0328710

   (последний код) NUT-SCREW-ID

нет в наличии, поставок нет
5 0211424

Пластина, Applique, front. TE60 Model Only (PLATE, Applique, front. TE60 Model Only)

нет в наличии, поставок нет
6 0210296

BAFFLE, Рукоятка наклона (BAFFLE, Tilt handle)

нет в наличии, поставок нет
7 0211717

APPLIQUE, Ev., port & stbd, 60 / 70 (APPLIQUE, Ev., port & stbd, 60/70)

нет в наличии, поставок нет
8 0329273

Резинка капота двигателя (SEAL, Engine cover)

нет в наличии, поставок нет
8 0315985

   (последний код) MTR CVR SEAL

нет в наличии, поставок нет
9 0326948

Заклёпка, Locating Кронштейн (RIVET, Locating bracket)

нет в наличии, поставок нет
9 0331881

   (последний код) RIVET

нет в наличии, поставок нет
10 0323234

Крючок, Крышка, rear (HOOK, Cover, rear)

нет в наличии, поставок нет
10 0206129

   (последний код) HOOK

нет в наличии, поставок нет
11 0313984

Бампер, Locating Кронштейн (BUMPER, Locating bracket)

нет в наличии, поставок нет
12 0208208

Рукоятка наклона (TILT HANDLE)

нет в наличии, поставок нет
13 0335034

Рама, Front. TE60 Model Only (FRAME, Front. TE60 Model Only)

нет в наличии, поставок нет
14 0323228

Винт, Рукоятка наклона, rear (SCREW, Tilt handle, rear)

нет в наличии, поставок нет
14 0323229

Винт, Рукоятка наклона, front (SCREW, Tilt handle, front)

нет в наличии, поставок нет
15 0329506

SOUND BLANKET, Top (SOUND BLANKET, Top)

нет в наличии, поставок нет
15 0341537

   (последний код) BLANKET,SOUND

нет в наличии, поставок нет
16 0210213

LOCATING Кронштейн (LOCATING BRACKET)

нет в наличии, поставок нет
16 0206128

   (последний код) BRACKET

нет в наличии, поставок нет
17 0208243

Крючок, Крышка, front (HOOK, Cover, front)

нет в наличии, поставок нет
17 0206510

   (последний код) MTR CVR HOOK

нет в наличии, поставок нет
18 0211847

APPLIQUE, Front & rear, 60 (APPLIQUE, Front & rear, 60)

нет в наличии, поставок нет
18 0211848

APPLIQUE, Front & rear, 70 (APPLIQUE, Front & rear, 70)

нет в наличии, поставок нет
19 0317223

Защелка (FASTENER)

нет в наличии, поставок нет
20 0378347

Шнур стартера (STARTER ROPE)

нет в наличии, поставок нет
21 0284341

Комплект наклеек (DECAL SET)

нет в наличии, поставок нет
21 0284343

   (последний код) DECAL AY,SET

нет в наличии, поставок нет
21 0284271

Комплект наклеек. TE60 Model Only (DECAL SET. TE60 Model Only)

нет в наличии, поставок нет
22 0211826

OPERATORS ручной. 4-Language (English, French, Spanish, Portuguese) (OPERATORS MANUAL. 4-Language (English, French, Spanish, Portuguese))

нет в наличии, поставок нет
22 0211833

   (последний код) 92 O/M 60/70 HP

нет в наличии, поставок нет
22 0211827

OPERATORS ручной. 7-Language (Dutch, Norwegian, Swedish, German, Finnish, Italian, Danish) (OPERATORS MANUAL. 7-Language (Dutch, Norwegian, Swedish, German, Finnish, Italian, Danish))

нет в наличии, поставок нет
22 0211833

OPERATORS ручной. English / French Only (OPERATORS MANUAL. English/French Only)

нет в наличии, поставок нет
22 8021910

   (последний код) OM60/70 211645

нет в наличии, поставок нет
evinrude

Время выполнения запроса 1.5873169898987 сек.


 
 

данный сайт носит информационный характер и не является публичной офертой

склад запчастей для водомоторной техники