вконтакте

Контактный телефон: +7 (981) 121-46-93, +7 (800) 200-90-76 , Email: parts-katalog@yandex.ru, где купить

 
 

  Логин:

Пароль:

Регистрация

www.partskatalog.ru Все каталоги Запчасти Mercury Запчасти Suzuki Запчасти Tohatsu Запчасти Honda Контакты



УВАЖАЕМЫЕ КЛИЕНТЫ!
C 19 ДЕКАБРЯ 2025 ПО 02 МАРТА 2026 ГОДА ОТДЕЛ ЗАПЧАСТЕЙ И СЕРВИС РАБОТАТЬ НЕ БУДУТ
ПРОДАЖА ЛОДОЧНЫХ МОТОРОВ В ШТАТНОМ РЕЖИМЕ
ОБ ИЗМЕНЕНИЯХ В ГРАФИКЕ РАБОТЫ ЧИТАЙТЕ НА САЙТА




Все разделы каталога запчастей на этот двигатель

назад Раздел:   вперёд

вернуться к списку узлов и деталей

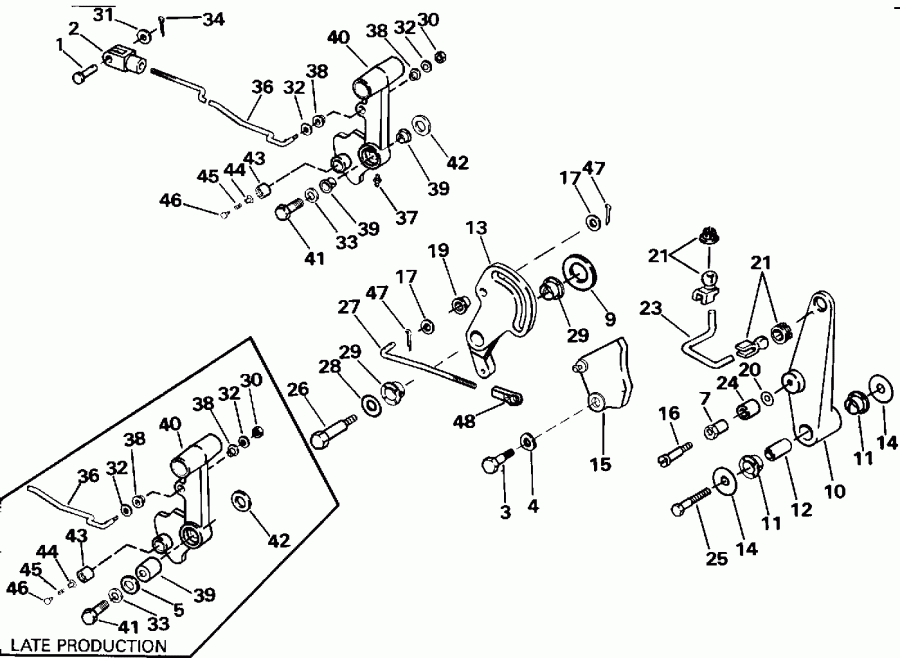
ДЕТАЛИРОВКА ДЛЯ МОДЕЛИ: EVINRUDE E70TTLEND 1992

ПЕРЕКЛЮЧАТЕЛЬ & СОЕДИНИТЕЛЬ ДРОССЕЛЯAGE | SHIFT & THROTTLE LINKAGE;


Лодочный подвесной мотор Эвинруд E70TTLEND 1992  - ift & Соединитель дросселяage / ift & Throttle Linkage

Номер на
рисунке
АртикулНаименованиеКол-во
на складе
Цена
1 0318197

Штифт, Yoke to Рычаг переключения (PIN, Yoke to shift lever)

нет в наличии, поставок нет
2 0316045

YOKE, Переключающая тяга to Рычаг (YOKE, Shift rod to lever)

нет в наличии, поставок нет
3 0314136

Винт дросселя cam (SCREW, Throttle cam)

нет в наличии, поставок нет
4 0330179

Шайба, Кулачок дросселя (WASHER, Throttle cam)

нет в наличии, поставок нет
4 0303304

   (последний код) WASHER

нет в наличии, поставок нет
5 0327400

Шайба, Рычаг переключения. Late PТягаuction (WASHER, Shift lever. Late Production)

нет в наличии, поставок нет
7 0330720

ECCENTRIC, Ролик (ECCENTRIC, Roller)

нет в наличии, поставок нет
9 0908398

Шайба, Рычаг дросселя (WASHER, Throttle lever)

нет в наличии, поставок нет
10 0330716

Рычаг, Spark Управление (LEVER, Spark control)

нет в наличии, поставок нет
11 0308532

Втулка, Spark Рычаг (BUSHING, Spark lever)

нет в наличии, поставок нет
11 0122475

   (последний код) BUSHING

нет в наличии, поставок нет
12 0329679

Гильза, Advance Рычаг (SLEEVE, Advance lever)

нет в наличии, поставок нет
13 0330715

Рычаг, Spark Управление cam (LEVER, Spark control cam)

нет в наличии, поставок нет
14 0511421

Шайба, Spark Контрольный рычаг (WASHER, Spark control lever)

нет в наличии, поставок нет
15 0434171

CAM & Штифт в сборе., Дроссель (CAM & PIN ASSY., Throttle)

нет в наличии, поставок нет
16 0303395

Винт, Ролик (SCREW, Roller)

нет в наличии, поставок нет
17 0328737

Шайба, Тяга (WASHER, Rod)

нет в наличии, поставок нет
17 0306561

   (последний код) WASHER

нет в наличии, поставок нет
19 0322631

Втулка, Соединитель to cam (BUSHING, Link to cam)

нет в наличии, поставок нет
20 0328739

Шайба, Ролик (WASHER, Roller)

нет в наличии, поставок нет
20 3852190

   (последний код) WASHER

нет в наличии, поставок нет
21 0395448

Шарик & SOCKET в сборе. (BALL & SOCKET ASSY.)

нет в наличии, поставок нет
21 0313703

   (последний код) BALL/395448

нет в наличии, поставок нет
23 0330719

Соединитель, Spark advance (LINK, Spark advance)

нет в наличии, поставок нет
24 0330718

Ролик колпачка folнижний (ROLLER, Cam follower)

нет в наличии, поставок нет
25 0324814

Винт, Spark Рычаг (SCREW, Spark lever)

нет в наличии, поставок нет
26 0206409

Винт дросселя Рычаг to cyl. (SCREW, Throttle lever to cyl.)

нет в наличии, поставок нет
27 0336425

Соединитель, Рычаг to cam (LINK, Lever to cam)

нет в наличии, поставок нет
28 0303913

Шайба, Рычаг to Цилиндр (WASHER, Lever to cylinder)

нет в наличии, поставок нет
29 0308532

Втулка, Cam Рычаг (BUSHING, Cam lever)

нет в наличии, поставок нет
29 0122475

   (последний код) BUSHING

нет в наличии, поставок нет
30 0313022

Гайка, Переключающая тяга to Рычаг (NUT, Shift rod to lever)

нет в наличии, поставок нет
30 3852118

   (последний код) NUT,LOCK

нет в наличии, поставок нет
31 0328702

Шайба, Yoke Штифт (WASHER, Yoke pin)

нет в наличии, поставок нет
31 3852183

   (последний код) WASHER

нет в наличии, поставок нет
32 0304051

Шайба, Переключающая тяга to Рычаг (WASHER, Shift rod to lever)

нет в наличии, поставок нет
32 0328703

   (последний код) WASHER

нет в наличии, поставок нет
33 0206414

Шайба, Рычаг переключения Винт. Early PТягаuction (WASHER, Shift lever screw. Early Production)

нет в наличии, поставок нет
33 0303913

Шайба, Рычаг переключения Винт. Late PТягаuction (WASHER, Shift lever screw. Late Production)

нет в наличии, поставок нет
34 0305650

Шплинт, Yoke Штифт (COTTER PIN, Yoke pin)

нет в наличии, поставок нет
34 3852052

   (последний код) PIN,COTTER

нет в наличии, поставок нет
36 0331110

Переключающая тяга (SHIFT ROD)

нет в наличии, поставок нет
36 0329244

   (последний код) SHIFT-ROD

нет в наличии, поставок нет
37 0313607

LUBRICATION FITTING. Early PТягаuction (LUBRICATION FITTING. Early Production)

нет в наличии, поставок нет
37 3852121

   (последний код) FITTING,LUB

нет в наличии, поставок нет
38 0314125

Втулка, Переключающая тяга to Рычаг (BUSHING, Shift rod to lever)

нет в наличии, поставок нет
39 0308532

Втулка, Рычаг переключения Винт. Early PТягаuction (BUSHING, Shift lever screw. Early Production)

нет в наличии, поставок нет
39 0122475

   (последний код) BUSHING

нет в наличии, поставок нет
39 0334815

Втулка, Рычаг переключения Винт. Late PТягаuction (BUSHING, Shift lever screw. Late Production)

нет в наличии, поставок нет
40 0331108

Рычаг переключения. Early PТягаuction (SHIFT LEVER. Early Production)

нет в наличии, поставок нет
40 0436753

   (последний код) KIT AY,SHIFT LEVER

нет в наличии, поставок нет
40 0334814

Рычаг переключения. Late PТягаuction (SHIFT LEVER. Late Production)

нет в наличии, поставок нет
41 0331109

Винт, Рычаг переключения to Кронштейн рулевого управления. Early PТягаuction (SCREW, Shift lever to steering bracket. Early Production)

нет в наличии, поставок нет
41 0318611

Винт, Рычаг переключения to Кронштейн рулевого управления. Late PТягаuction (SCREW, Shift lever to steering bracket. Late Production)

нет в наличии, поставок нет
42 0327400

Шайба, Рычаг переключения to Кронштейн (WASHER, Shift lever to bracket)

нет в наличии, поставок нет
43 0328480

КреплениеING Кольцо (MOUNTING RING)

нет в наличии, поставок нет
44 0327302

START BUTTON, Inner (START BUTTON, Inner)

нет в наличии, поставок нет
44 0438618

   (последний код) KIT AY,START BTN

нет в наличии, поставок нет
45 0313584

Пружина (SPRING)

нет в наличии, поставок нет
46 0327303

START BUTTON, Outer (START BUTTON, Outer)

нет в наличии, поставок нет
46 0438618

   (последний код) KIT AY,START BTN

нет в наличии, поставок нет
47 0303049

Шплинт (COTTER PIN)

нет в наличии, поставок нет
48 0334153

SHELL, Соединитель to cam (SHELL, Link to cam)

нет в наличии, поставок нет
evinrude

Время выполнения запроса 2.9060637950897 сек.


 
 

данный сайт носит информационный характер и не является публичной офертой

склад запчастей для водомоторной техники