вконтакте

Контактный телефон: +7 (981) 121-46-93, +7 (800) 200-90-76 , Email: parts-katalog@yandex.ru, где купить

 
 

  Логин:

Пароль:

Регистрация

www.partskatalog.ru Все каталоги Запчасти Mercury Запчасти Suzuki Запчасти Tohatsu Запчасти Honda Контакты


Все разделы каталога запчастей на этот двигатель

назад Раздел:   вперёд

вернуться к списку узлов и деталей

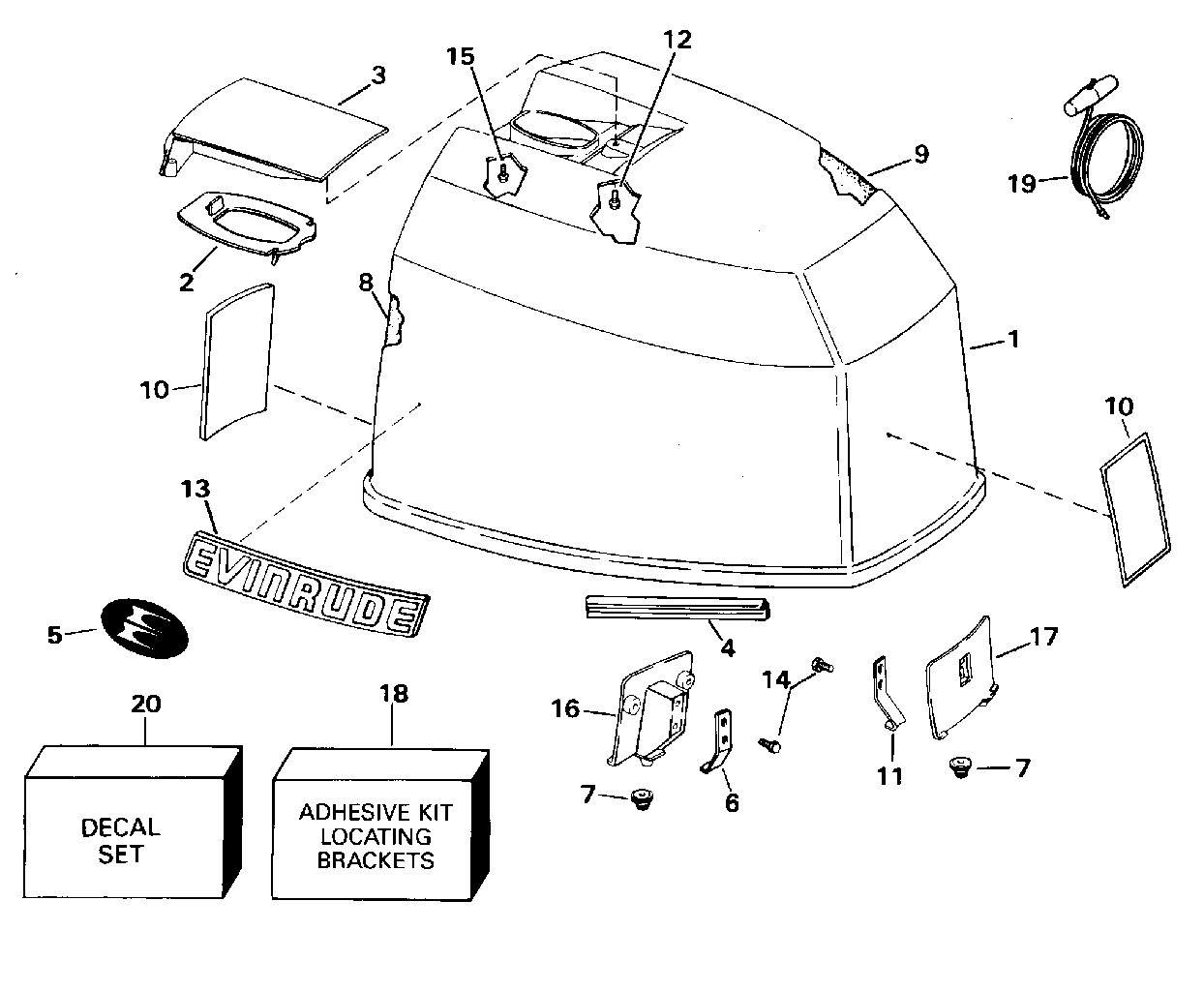
ДЕТАЛИРОВКА ДЛЯ МОДЕЛИ: EVINRUDE E85TTLEOR 1995

КРЫШКА ДВИГАТЕЛЯ (КАПОТ) - EVINRUDE | ENGINE COVER - EVINRUDE;


Лодочный подвесной мотор Эвинруд E85TTLEOR 1995  - Evinrude - Evinrude

Номер на
рисунке
АртикулНаименованиеКол-во
на складе
Цена
1 0284726

Крышка двигателя (капот) в сборе., 80 Jet (ENGINE COVER ASSY., 80 Jet)

нет в наличии, поставок нет
1 0285240

   (последний код) COVER AY,MOTOR-

нет в наличии, поставок нет
1 0284737

Крышка двигателя (капот) в сборе., 85 (ENGINE COVER ASSY., 85)

нет в наличии, поставок нет
1 0285240

   (последний код) COVER AY,MOTOR-

нет в наличии, поставок нет
2 0210296

BAFFLE, Рукоятка наклона (BAFFLE, Tilt handle)

нет в наличии, поставок нет
3 0208208

Рукоятка наклона (TILT HANDLE)

нет в наличии, поставок нет
4 0329548

Резинка капота двигателя (SEAL, Engine cover)

нет в наличии, поставок нет
4 0910916

   (последний код) SEAL

нет в наличии, поставок нет
5 0212477

LENS, Evinrude logo (LENS, Evinrude logo)

нет в наличии, поставок нет
5 0212478

   (последний код) APPLIQUE,EV LOGO

нет в наличии, поставок нет
6 0323176

Крючок, верхний rear (HOOK, Upper rear)

нет в наличии, поставок нет
6 0315191

   (последний код) HOOK

нет в наличии, поставок нет
7 0324898

Бампер, Locating Кронштейнs (BUMPER, Locating brackets)

нет в наличии, поставок нет
8 0341534

SOUND BLANKET, Side (SOUND BLANKET, Side)

нет в наличии, поставок нет
8 0208509

   (последний код) BLANKET

нет в наличии, поставок нет
9 0341535

SOUND BLANKET, Top (SOUND BLANKET, Top)

нет в наличии, поставок нет
10 0212686

LENS, 80 (LENS, 80)

нет в наличии, поставок нет
10 0212665

LENS, 85 (LENS, 85)

нет в наличии, поставок нет
11 0323175

Крючок, верхний front (HOOK, Upper front)

нет в наличии, поставок нет
11 0315199

   (последний код) HOOK

нет в наличии, поставок нет
12 0323229

Винт, Рукоятка наклона, front (SCREW, Tilt handle, front)

нет в наличии, поставок нет
13 0212495

LENS, Evinrude (LENS, Evinrude)

нет в наличии, поставок нет
14 0323229

Винт, Крючок (SCREW, Hook)

нет в наличии, поставок нет
15 0323228

Винт, Рукоятка наклона, rear (SCREW, Tilt handle, rear)

нет в наличии, поставок нет
16 0336992

Кронштейн, Locating, rear (BRACKET, Locating, rear)

нет в наличии, поставок нет
17 0336991

Кронштейн, Locating, front (BRACKET, Locating, front)

нет в наличии, поставок нет
18 0431929

ADHESIVE KIT, Locating Кронштейнs (ADHESIVE KIT, Locating brackets)

нет в наличии, поставок нет
19 0378347

Шнур стартера (STARTER ROPE)

нет в наличии, поставок нет
20 0284841

Комплект наклеек (DECAL SET)

нет в наличии, поставок нет
evinrude

Время выполнения запроса 1.9024729728699 сек.


 
 

данный сайт носит информационный характер и не является публичной офертой

склад запчастей для водомоторной техники