вконтакте

Контактный телефон: +7 (981) 121-46-93, +7 (800) 200-90-76 , Email: parts-katalog@yandex.ru, где купить

 
 

  Логин:

Пароль:

Регистрация

www.partskatalog.ru Все каталоги Запчасти Mercury Запчасти Suzuki Запчасти Tohatsu Запчасти Honda Контакты



УВАЖАЕМЫЕ КЛИЕНТЫ!
C 19 ДЕКАБРЯ 2025 ПО 02 МАРТА 2026 ГОДА ОТДЕЛ ЗАПЧАСТЕЙ И СЕРВИС РАБОТАТЬ НЕ БУДУТ
ПРОДАЖА ЛОДОЧНЫХ МОТОРОВ В ШТАТНОМ РЕЖИМЕ
ОБ ИЗМЕНЕНИЯХ В ГРАФИКЕ РАБОТЫ ЧИТАЙТЕ НА САЙТА




Все разделы каталога запчастей на этот двигатель

назад Раздел:   вперёд

вернуться к списку узлов и деталей

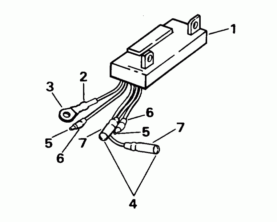
ДЕТАЛИРОВКА ДЛЯ МОДЕЛИ: EVINRUDE BE10FCLEDC 1996

SIGNAL CONVERTER | SIGNAL CONVERTER;


Двигатель Evinrude BE10FCLEDC 1996  - gnal Converter

Номер на
рисунке
АртикулНаименованиеКол-во
на складе
Цена
1 0445102

SIGNAL CONVERTER (SIGNAL CONVERTER)

нет в наличии, поставок нет
2 0510781

Гильза (SLEEVE)

нет в наличии, поставок нет
3 0510818

Клемма, Кольцо (TERMINAL, Ring)

нет в наличии, поставок нет
3 3854243

   (последний код) TERMINAL,RIN

нет в наличии, поставок нет
4 0512876

Клемма, Socket (TERMINAL, Socket)

нет в наличии, поставок нет
4 3852244

   (последний код) TERMINAL,SOC

нет в наличии, поставок нет
5 0512947

Клемма, Bullet (TERMINAL, Bullet)

нет в наличии, поставок нет
5 0910462

   (последний код) TERM.-60766-

нет в наличии, поставок нет
6 0513185

Гильза (SLEEVE)

нет в наличии, поставок нет
6 0512948

   (последний код) SLEEVE

нет в наличии, поставок нет
7 0513186

Гильза, Socket (SLEEVE, Socket)

нет в наличии, поставок нет
7 3852248

   (последний код) SLEEVE,SKT-B

нет в наличии, поставок нет
evinrude

Время выполнения запроса 1.2625629901886 сек.


 
 

данный сайт носит информационный характер и не является публичной офертой

склад запчастей для водомоторной техники