вконтакте

Контактный телефон: +7 (981) 121-46-93, +7 (800) 200-90-76 , Email: parts-katalog@yandex.ru, где купить

 
 

  Логин:

Пароль:

Регистрация

www.partskatalog.ru Все каталоги Запчасти Mercury Запчасти Suzuki Запчасти Tohatsu Запчасти Honda Контакты



УВАЖАЕМЫЕ КЛИЕНТЫ!
C 19 ДЕКАБРЯ 2025 ПО 02 МАРТА 2026 ГОДА ОТДЕЛ ЗАПЧАСТЕЙ И СЕРВИС РАБОТАТЬ НЕ БУДУТ
ПРОДАЖА ЛОДОЧНЫХ МОТОРОВ В ШТАТНОМ РЕЖИМЕ
ОБ ИЗМЕНЕНИЯХ В ГРАФИКЕ РАБОТЫ ЧИТАЙТЕ НА САЙТА




Все разделы каталога запчастей на этот двигатель

назад Раздел:   вперёд

вернуться к списку узлов и деталей

ДЕТАЛИРОВКА ДЛЯ МОДЕЛИ: EVINRUDE SE125WTPXV 1996

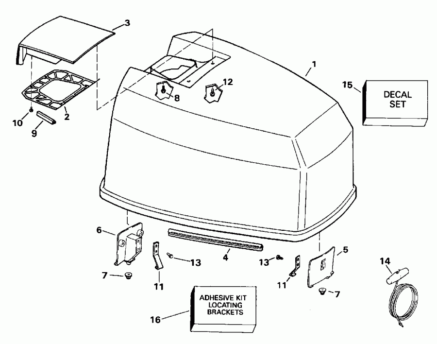
КРЫШКА ДВИГАТЕЛЯ (КАПОТ) | ENGINE COVER;


Подвесной двигатель Evinrude SE125WTPXV 1996  - gine Крышка - gine Cover

Номер на
рисунке
АртикулНаименованиеКол-во
на складе
Цена
1 0284750

Крышка двигателя (капот) в сборе., Evinrude (ENGINE COVER ASSY., Evinrude)

нет в наличии, поставок нет
1 0436573

Крышка двигателя (капот) в сборе., Johnson (ENGINE COVER ASSY., Johnson)

нет в наличии, поставок нет
1 5000748

   (последний код) COVER AY,MOTOR-

нет в наличии, поставок нет
2 0331942

BAFFLE, Рукоятка наклона (BAFFLE, Tilt handle)

нет в наличии, поставок нет
2 0328670

   (последний код) BAFFLE

нет в наличии, поставок нет
3 0328671

Рукоятка наклона (TILT HANDLE)

нет в наличии, поставок нет
4 0912032

Резинка капота двигателя (SEAL, Engine cover)

нет в наличии, поставок нет
4 0330731

   (последний код) SEAL,MOTOR COVER

нет в наличии, поставок нет
5 0336990

LOCATING Кронштейн, Front (LOCATING BRACKET, Front)

нет в наличии, поставок нет
6 0336989

LOCATING Кронштейн, Rear (LOCATING BRACKET, Rear)

нет в наличии, поставок нет
7 0324898

Бампер, Locating Кронштейнs (BUMPER, Locating brackets)

нет в наличии, поставок нет
8 0323228

Винт, Рукоятка наклона, rear (SCREW, Tilt handle, rear)

нет в наличии, поставок нет
9 0328669

Сальник, Baffle to Рукоятка наклона (SEAL, Baffle to tilt handle)

нет в наличии, поставок нет
9 0210187

   (последний код) SEAL,MOTOR COVER

нет в наличии, поставок нет
10 0323937

Винт, Baffle to Рукоятка наклона (SCREW, Baffle to tilt handle)

нет в наличии, поставок нет
11 0323176

Крючок капота двигателя (HOOK, Engine cover)

нет в наличии, поставок нет
11 0315191

   (последний код) HOOK

нет в наличии, поставок нет
12 0323229

Винт, Рукоятка наклона, front (SCREW, Tilt handle, front)

нет в наличии, поставок нет
13 0323229

Винт, Крючок (SCREW, Hook)

нет в наличии, поставок нет
14 0378347

Шнур стартера (STARTER ROPE)

нет в наличии, поставок нет
15 0284878

Комплект наклеек, Evinrude (DECAL SET, Evinrude)

нет в наличии, поставок нет
15 0437168

Комплект наклеек, Johnson (DECAL SET, Johnson)

нет в наличии, поставок нет
16 0431929

ADHESIVE KIT, Locating Кронштейнs (ADHESIVE KIT, Locating brackets)

нет в наличии, поставок нет
evinrude

Время выполнения запроса 0.8304181098938 сек.


 
 

данный сайт носит информационный характер и не является публичной офертой

склад запчастей для водомоторной техники