вконтакте

Контактный телефон: +7 (981) 121-46-93, +7 (800) 200-90-76 , Email: parts-katalog@yandex.ru, где купить

 
 

  Логин:

Пароль:

Регистрация

www.partskatalog.ru Все каталоги Запчасти Mercury Запчасти Suzuki Запчасти Tohatsu Запчасти Honda Контакты



УВАЖАЕМЫЕ КЛИЕНТЫ!
C 19 ДЕКАБРЯ 2025 ПО 02 МАРТА 2026 ГОДА ОТДЕЛ ЗАПЧАСТЕЙ И СЕРВИС РАБОТАТЬ НЕ БУДУТ
ПРОДАЖА ЛОДОЧНЫХ МОТОРОВ В ШТАТНОМ РЕЖИМЕ
ОБ ИЗМЕНЕНИЯХ В ГРАФИКЕ РАБОТЫ ЧИТАЙТЕ НА САЙТА




Все разделы каталога запчастей на этот двигатель

назад Раздел:   вперёд

вернуться к списку узлов и деталей

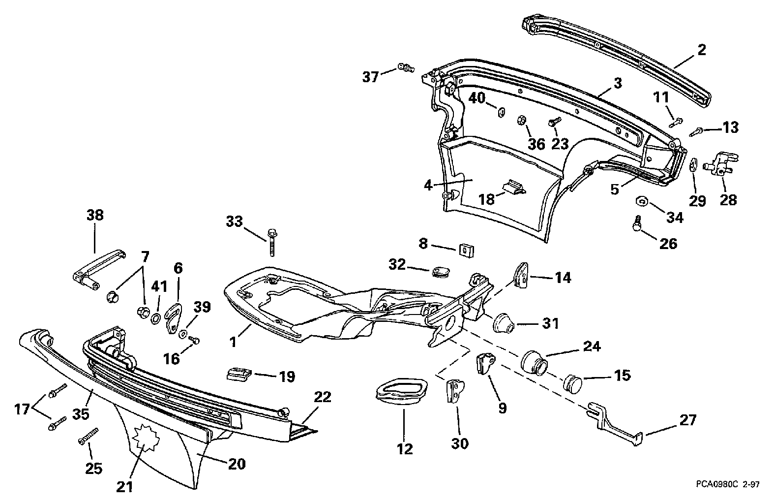
ДЕТАЛИРОВКА ДЛЯ МОДЕЛИ: EVINRUDE SE15BAEUR 1997

НИЖНЯЯ КРЫШКА ДВИГАТЕЛЯ | LOWER ENGINE COVER;


Лодочный мотор EVINRUDE SE15BAEUR 1997  - wer Engine Cover - wer Крышка двигателя (капот)

Номер на
рисунке
АртикулНаименованиеКол-во
на складе
Цена
1 0343745

Кронштейн, Panel (BRACKET, Panel)

нет в наличии, поставок нет
2 0342292

Бампер, Крышка, port (BUMPER, Cover, port)

нет в наличии, поставок нет
3 0438024

Крышка двигателя (капот), нижний , port (ENGINE COVER, Lower, port)

нет в наличии, поставок нет
4 0339997

SOUND BLANKET, нижний , rear, port (SOUND BLANKET, Lower, rear, port)

нет в наличии, поставок нет
5 0339999

SOUND BLANKET, верхний , front, port (SOUND BLANKET, Upper, front, port)

нет в наличии, поставок нет
6 0335570

LATCH, верхний to Нижняя часть корпуса (LATCH, Upper to lower cover)

нет в наличии, поставок нет
7 0308532

Втулка (BUSHING)

нет в наличии, поставок нет
7 0122475

   (последний код) BUSHING

нет в наличии, поставок нет
8 0308824

Гайка, Винт (NUT, Screw)

нет в наличии, поставок нет
8 0306542

   (последний код) NUT

нет в наличии, поставок нет
9 0338213

Пыльник ручки заслонки. TE Models Шнур Models (GROMMET, Choke knob. TE Models Rope Models)

нет в наличии, поставок нет
11 0340071

Винт, Крышка, middle (SCREW, Cover, middle)

нет в наличии, поставок нет
12 0338242

Пыльник, Переключающая тяга, bottom (GROMMET, Shift rod, bottom)

нет в наличии, поставок нет
13 0340071

Винт, Крышка to Кронштейн, front (SCREW, Cover to bracket, front)

нет в наличии, поставок нет
14 0338288

Пыльник, Battery & instrument Кабели. Remote Models (GROMMET, Battery & instrument cable. Remote Models)

нет в наличии, поставок нет
14 0338212

Пыльник, Кабель аккумулятораs. TE Models (GROMMET, Battery cables. TE Models)

нет в наличии, поставок нет
14 0338246

Пыльник, Кабель аккумулятора Заглушка. Шнур Models (GROMMET, Battery cable plug. Rope Models)

нет в наличии, поставок нет
15 0338287

Пыльник, Переключающая тяга hole. Remote Models (GROMMET, Shift rod hole. Remote Models)

нет в наличии, поставок нет
15 0342114

   (последний код) PLUG

нет в наличии, поставок нет
16 0335200

Винт, Latch to handle (SCREW, Latch to handle)

нет в наличии, поставок нет
16 3852212

   (последний код) SCREW

нет в наличии, поставок нет
17 0340071

Винт, Крышка, rear, верхний & middle (SCREW, Cover, rear, upper & middle)

нет в наличии, поставок нет
18 0338202

Сальник, Крышка to Кронштейн, port (SEAL, Cover to bracket, port)

нет в наличии, поставок нет
19 0338286

Сальник, Крышка to Кронштейн, starboard (SEAL, Cover to bracket, starboard)

нет в наличии, поставок нет
20 0438025

Крышка двигателя (капот), нижний , starboard (ENGINE COVER, Lower, starboard)

нет в наличии, поставок нет
21 0339998

SOUND BLANKET, нижний , rear, stbd. (SOUND BLANKET, Lower, rear, stbd.)

нет в наличии, поставок нет
22 0340000

SOUND BLANKET, верхний , front, stbd. (SOUND BLANKET, Upper, front, stbd.)

нет в наличии, поставок нет
23 0512731

Винт, Бампер to Крышка (SCREW, Bumper to cover)

нет в наличии, поставок нет
24 0338300

Пыльник, Переключающая тяга, front. TE Models Шнур Models (GROMMET, Shift rod, front. TE Models Rope Models)

нет в наличии, поставок нет
25 0343562

Винт, Крышка, rear, нижний (SCREW, Cover, rear, lower)

нет в наличии, поставок нет
26 0336165

Винт, Топливный коннектор (SCREW, Fuel connector)

нет в наличии, поставок нет
26 5030329

   (последний код) BOLT,FUEL CONN PL

нет в наличии, поставок нет
27 0338241

CHOKE Рычаг. TE Models Шнур Models (CHOKE LEVER. TE Models Rope Models)

нет в наличии, поставок нет
28 0438793

Топливный коннектор в сборе. (FUEL CONNECTOR ASSY.)

нет в наличии, поставок нет
28 5030328

   (последний код) PLUG,FUEL CONN

нет в наличии, поставок нет
29 0343736

Сальник, Топливный коннектор (SEAL, Fuel connector)

нет в наличии, поставок нет
30 0338211

Пыльник, Переключатель & Тросик дросселяs. Remote Models (GROMMET, Shift & throttle cables. Remote Models)

нет в наличии, поставок нет
31 0339931

Пыльник тросика дросселя hole. Remote Models (GROMMET, Throttle cable hole. Remote Models)

нет в наличии, поставок нет
31 0339287

Пыльник тросика дросселя. TE Models Шнур Models (GROMMET, Throttle cable. TE Models Rope Models)

нет в наличии, поставок нет
32 0338289

Пыльник, Переключатель Проводs. TE Models (GROMMET, Switch wires. TE Models)

нет в наличии, поставок нет
32 0338290

Пыльник, Переключатель Провод hole. Remote Models Шнур Models (GROMMET, Switch wire hole. Remote Models Rope Models)

нет в наличии, поставок нет
33 0335687

Винт, Кронштейн to Выхлоп hsg. (SCREW, Bracket to exhaust hsg.)

нет в наличии, поставок нет
33 3852213

   (последний код) SCREW

нет в наличии, поставок нет
34 0328703

Шайба (WASHER)

нет в наличии, поставок нет
34 3852184

   (последний код) WASHER

нет в наличии, поставок нет
35 0342136

Бампер, Stbd. (BUMPER, Stbd.)

нет в наличии, поставок нет
36 0309485

Гайка, Шаровое соединение to Крышка (NUT, Ball joint to cover)

нет в наличии, поставок нет
36 0132520

   (последний код) NUT

нет в наличии, поставок нет
37 0339575

Шаровое соединение (BALL JOINT)

нет в наличии, поставок нет
38 0437780

HANDLE & Вал в сборе. (HANDLE & SHAFT ASSY.)

нет в наличии, поставок нет
39 0328703

Шайба (WASHER)

нет в наличии, поставок нет
39 3852184

   (последний код) WASHER

нет в наличии, поставок нет
40 0328735

Шайба (WASHER)

нет в наличии, поставок нет
40 3852188

   (последний код) WASHER

нет в наличии, поставок нет
41 0330234

Пружинная шайба (SPRING WASHER)

нет в наличии, поставок нет
evinrude

Время выполнения запроса 2.293751001358 сек.


 
 

данный сайт носит информационный характер и не является публичной офертой

склад запчастей для водомоторной техники