вконтакте

Контактный телефон: +7 (981) 121-46-93, +7 (800) 200-90-76 , Email: parts-katalog@yandex.ru, где купить

 
 

  Логин:

Пароль:

Регистрация

www.partskatalog.ru Все каталоги Запчасти Mercury Запчасти Suzuki Запчасти Tohatsu Запчасти Honda Контакты



УВАЖАЕМЫЕ КЛИЕНТЫ!
C 19 ДЕКАБРЯ 2025 ПО 02 МАРТА 2026 ГОДА ОТДЕЛ ЗАПЧАСТЕЙ И СЕРВИС РАБОТАТЬ НЕ БУДУТ
ПРОДАЖА ЛОДОЧНЫХ МОТОРОВ В ШТАТНОМ РЕЖИМЕ
ОБ ИЗМЕНЕНИЯХ В ГРАФИКЕ РАБОТЫ ЧИТАЙТЕ НА САЙТА




Все разделы каталога запчастей на этот двигатель

назад Раздел:   вперёд

вернуться к списку узлов и деталей

ДЕТАЛИРОВКА ДЛЯ МОДЕЛИ: EVINRUDE BE15FDLEUA 1997

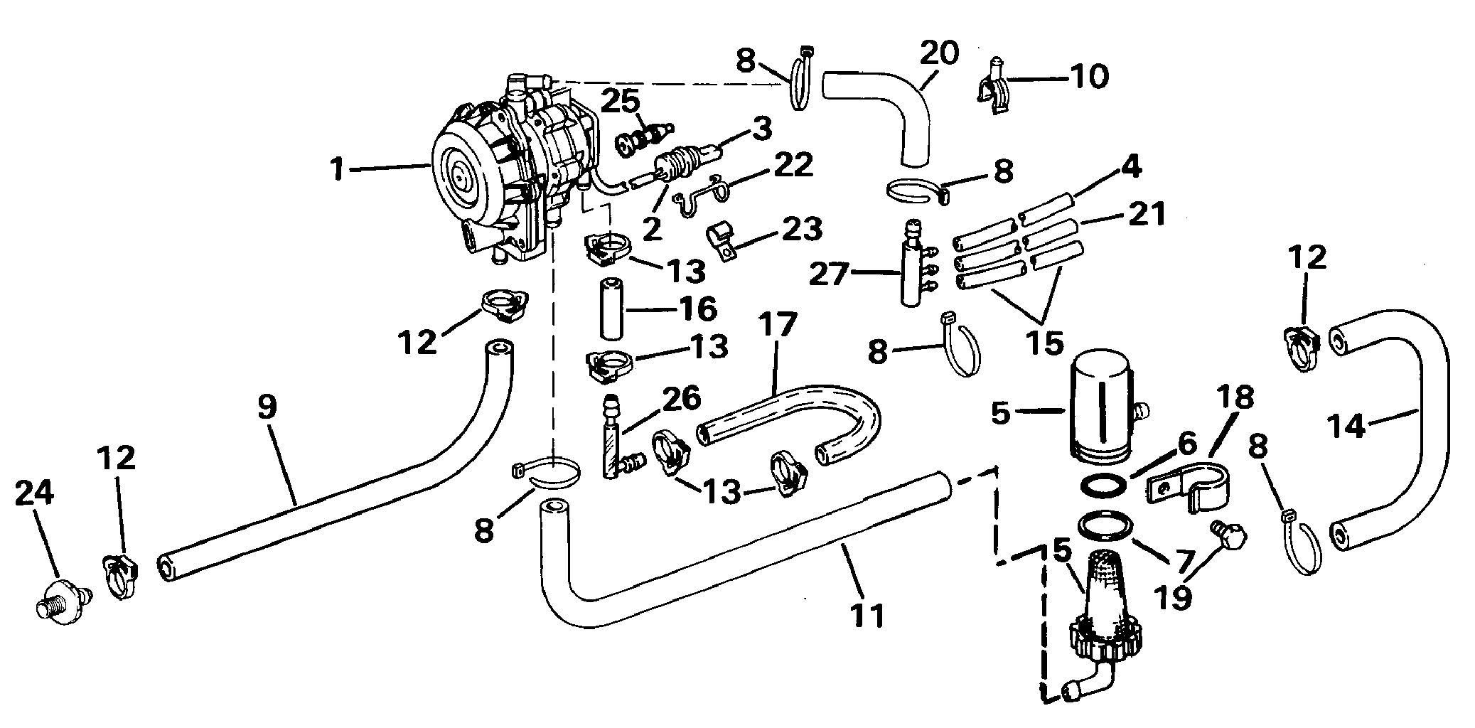
УДЛИНИТЕЛЬ КОРПУСА | EXHAUST HOUSING;


Лодочный мотор EVINRUDE BE15FDLEUA 1997  - haust Корпус - haust Housing

Номер на
рисунке
АртикулНаименованиеКол-во
на складе
Цена
1 0438116

Удлинитель корпуса в сборе. (EXHAUST HOUSING ASSY.)

нет в наличии, поставок нет
2 0332406

Штифт, Удлинитель корпуса (PIN, Exhaust housing)

нет в наличии, поставок нет
3 0337244

Винт, Крышка (SCREW, Cover)

нет в наличии, поставок нет
4 0343022

Выхлопная крышка (COVER, Exhaust)

нет в наличии, поставок нет
5 0343023

Прокладка крышки (GASKET, Cover)

нет в наличии, поставок нет
5 0338936

   (последний код) GASKET

нет в наличии, поставок нет
6 0343093

Винт, верхний Креплениеs to Корпус (SCREW, Upper mounts to housing)

нет в наличии, поставок нет
6 0338909

   (последний код) SCREW,M8X1.2

нет в наличии, поставок нет
7 0435688

Крепление в сборе., верхний (MOUNT ASSY., Upper)

нет в наличии, поставок нет
7 0437113

Крепление в сборе., верхний 9.9 High Thrust Models (MOUNT ASSY., Upper. 9.9 High Thrust Models)

нет в наличии, поставок нет
8 0329021

Монтажный кронштейн, нижний , port (MOUNT BRACKET, Lower, port)

нет в наличии, поставок нет
8 0322288

   (последний код) BRACKET

нет в наличии, поставок нет
9 0329020

Монтажный кронштейн, нижний , stbd. (MOUNT BRACKET, Lower, stbd.)

нет в наличии, поставок нет
9 0322289

   (последний код) BRACKET

нет в наличии, поставок нет
10 0123528

Уплотнительное кольцо корпуса to Картер двигателя (O-RING, Housing to crankcase)

нет в наличии, поставок нет
12 0

Масляный шланг suction, screen to block, 8 дюйм (20 мм) сокращёная длина from 125115 (HOSE, Oil suction, screen to block, 8 in. (20 mm). Cut to Length from 125115)

нет в наличии, поставок нет
13 0329046

THRUST Крепление (THRUST MOUNT)

нет в наличии, поставок нет
14 0337193

Прокладка, Powerhead to Выхлоп hsg. (GASKET, Powerhead to exhaust hsg.)

нет в наличии, поставок нет
15 0337379

Винт, Корпус to powerhead, rear (SCREW, Housing to powerhead, rear)

нет в наличии, поставок нет
16 0319042

Винт, Креплениеing Нижний кронштейн (SCREW, Mounting bracket, lower)

нет в наличии, поставок нет
17 0318997

LATERAL Крепление нижнее (LATERAL MOUNT, Lower)

нет в наличии, поставок нет
18 0338159

Фильтр, Выхлоп (FILTER, Exhaust)

нет в наличии, поставок нет
19 0337243

Винт, Выхлоп hsg. to powerhead (SCREW, Exhaust hsg. to powerhead)

нет в наличии, поставок нет
20 0309192

Шайба, Винт, верхний Крепление (WASHER, Screw, upper mount)

нет в наличии, поставок нет
20 3852083

   (последний код) WASHER,FLAT

нет в наличии, поставок нет
21 0338935

Гайка, Винт, верхний Крепление (NUT, Screw, upper mount)

нет в наличии, поставок нет
22 0338520

SCREEN в сборе., Масляный фильтр (SCREEN ASSY., Oil filter)

нет в наличии, поставок нет
23 0320107

Крепёжный хомут (TIE STRAP)

нет в наличии, поставок нет
23 5035626

   (последний код) BAND,REM CON

нет в наличии, поставок нет
24 0307551

Винт, Oil drain (SCREW, Oil drain)

нет в наличии, поставок нет
24 0982851

   (последний код) SCREW-PLUG

нет в наличии, поставок нет
25 0311598

Шайба (WASHER)

нет в наличии, поставок нет
25 3852105

   (последний код) WASHER

нет в наличии, поставок нет
26 0332414

Сальник, Корпус to Нижняя часть корпусаs (SEAL, Housing to lower covers)

нет в наличии, поставок нет
27 0341731

Фиксатор, верхний Крепление (RETAINER, Upper mount)

нет в наличии, поставок нет
28 0338562

Винт, Фиксатор to Корпус (SCREW, Retainer to housing)

нет в наличии, поставок нет
evinrude

Время выполнения запроса 1.4768240451813 сек.


 
 

данный сайт носит информационный характер и не является публичной офертой

склад запчастей для водомоторной техники