вконтакте

Контактный телефон: +7 (981) 121-46-93, +7 (800) 200-90-76 , Email: parts-katalog@yandex.ru, где купить

 
 

  Логин:

Пароль:

Регистрация

www.partskatalog.ru Все каталоги Запчасти Mercury Запчасти Suzuki Запчасти Tohatsu Запчасти Honda Контакты


Все разделы каталога запчастей на этот двигатель

назад Раздел:   вперёд

вернуться к списку узлов и деталей

ДЕТАЛИРОВКА ДЛЯ МОДЕЛИ: EVINRUDE E25RWLEUR 1997

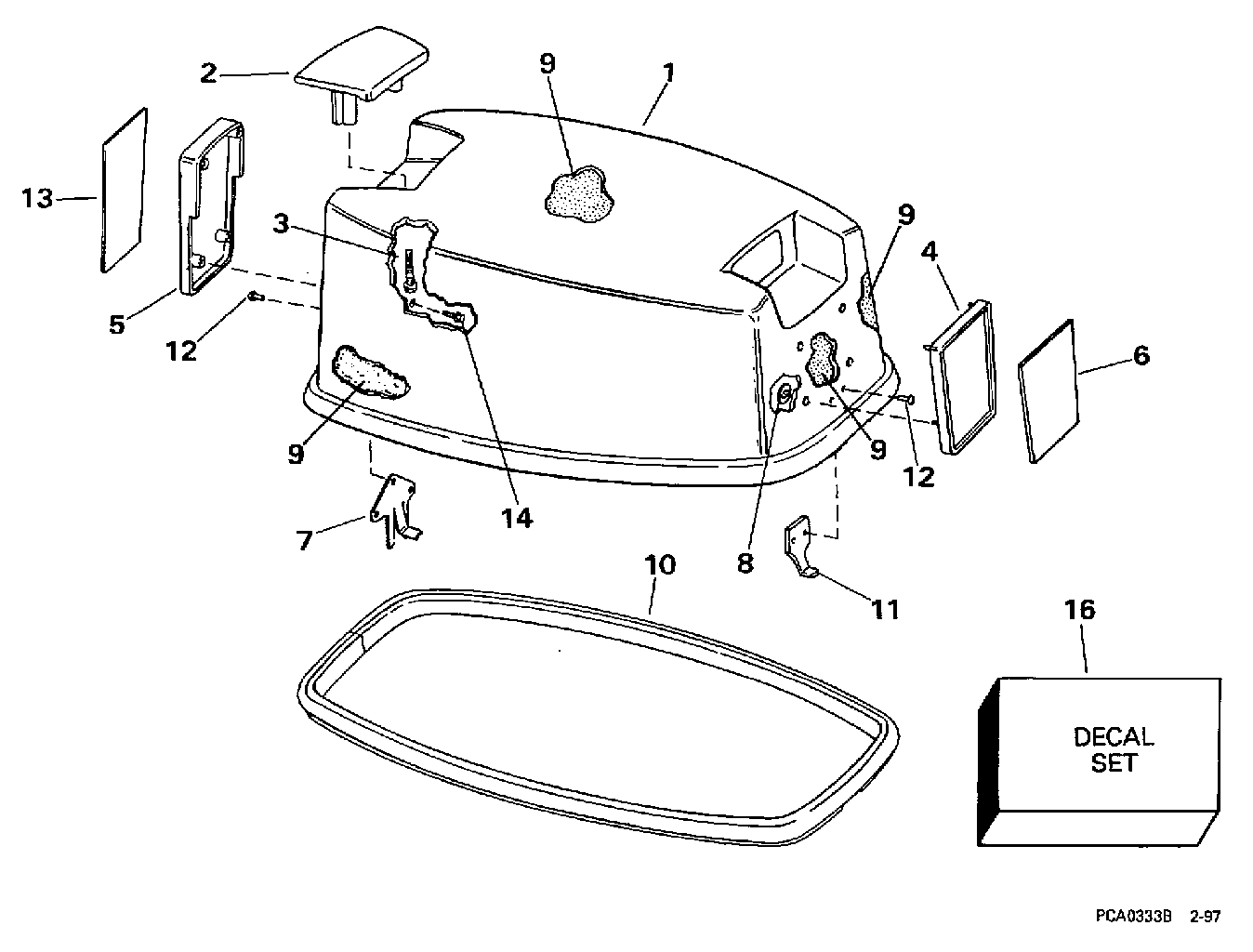
КРЫШКА ДВИГАТЕЛЯ (КАПОТ) | ENGINE COVER;


Двигатель Эвинруд E25RWLEUR 1997  - gine Крышка / gine Cover

Номер на
рисунке
АртикулНаименованиеКол-во
на складе
Цена
1 0284712

Крышка двигателя (капот) в сборе., Ev. (ENGINE COVER ASSY., Ev.)

нет в наличии, поставок нет
1 0285312

   (последний код) COVER AY,MOTOR-UPR

нет в наличии, поставок нет
1 0438327

Крышка двигателя (капот) в сборе., Jo. (ENGINE COVER ASSY., Jo.)

нет в наличии, поставок нет
2 0208399

Рукоятка наклона (TILT HANDLE)

нет в наличии, поставок нет
3 0330838

Винт, Рукоятка наклона (SCREW, Tilt handle)

нет в наличии, поставок нет
3 0329268

   (последний код) SCREW

нет в наличии, поставок нет
4 0210965

Рама, Front, Ev. (FRAME, Front, Ev.)

нет в наличии, поставок нет
4 0335032

Рама, Front, Jo. (FRAME, Front, Jo.)

нет в наличии, поставок нет
5 0210973

Рама, Rear, Ev. (FRAME, Rear, Ev.)

нет в наличии, поставок нет
5 0335041

Рама, Rear, Jo. (FRAME, Rear, Jo.)

нет в наличии, поставок нет
6 0212711

Пластина, Рама, front, 25, Ev. (PLATE, Frame, front, 25, Ev.)

нет в наличии, поставок нет
6 0212719

   (последний код) PLATE

нет в наличии, поставок нет
6 0340229

Пластина, Рама, front, 25, Jo. (PLATE, Frame, front, 25, Jo.)

нет в наличии, поставок нет
6 0341132

   (последний код) PLATE

нет в наличии, поставок нет
7 0329635

Крючок капота двигателя, rear (HOOK, Engine cover, rear)

нет в наличии, поставок нет
7 0316171

   (последний код) ANCHOR BLOCK

нет в наличии, поставок нет
8 0317223

Гайка, Push-on (NUT, Push-on)

нет в наличии, поставок нет
9 0341527

SOUND BLANKET, Top (SOUND BLANKET, Top)

нет в наличии, поставок нет
9 0211277

   (последний код) SOUND-BLANKE

нет в наличии, поставок нет
9 0341528

SOUND BLANKET, Port (SOUND BLANKET, Port)

нет в наличии, поставок нет
9 0211278

   (последний код) SOUND BLANKET

нет в наличии, поставок нет
9 0341529

SOUND BLANKET, Stbd. (SOUND BLANKET, Stbd.)

нет в наличии, поставок нет
9 0211279

   (последний код) SOUND-BLANKE

нет в наличии, поставок нет
9 0341530

SOUND BLANKET, Front (SOUND BLANKET, Front)

нет в наличии, поставок нет
9 0211280

   (последний код) SOUND-BLANKE

нет в наличии, поставок нет
10 0316225

Резинка капота двигателя (SEAL, Engine cover)

нет в наличии, поставок нет
10 0326487

   (последний код) SEAL

нет в наличии, поставок нет
11 0207482

Крючок капота двигателя, front (HOOK, Engine cover, front)

нет в наличии, поставок нет
11 0206656

   (последний код) HOOK

нет в наличии, поставок нет
12 0554355

Заклёпка (RIVET)

нет в наличии, поставок нет
12 0544355

   (последний код) RIVET

нет в наличии, поставок нет
13 0212712

Пластина, Рама, rear, 25, Ev. (PLATE, Frame, rear, 25, Ev.)

нет в наличии, поставок нет
13 0212720

   (последний код) PLATE

нет в наличии, поставок нет
13 0340233

Пластина, Рама, rear, 25, Jo. (PLATE, Frame, rear, 25, Jo.)

нет в наличии, поставок нет
13 0341340

   (последний код) PLATE

нет в наличии, поставок нет
14 0202150

Шайба, Рукоятка наклона (WASHER, Tilt handle)

нет в наличии, поставок нет
15 0334528

Винт, Рама Креплениеing, rear (SCREW, Frame mounting, rear)

нет в наличии, поставок нет
16 0284824

Комплект наклеек, Ev. (DECAL SET, Ev.)

нет в наличии, поставок нет
16 0438437

Комплект наклеек, Jo. (DECAL SET, Jo.)

нет в наличии, поставок нет
evinrude

Время выполнения запроса 1.5392701625824 сек.


 
 

данный сайт носит информационный характер и не является публичной офертой

склад запчастей для водомоторной техники