вконтакте

Контактный телефон: +7 (981) 121-46-93, +7 (800) 200-90-76 , Email: parts-katalog@yandex.ru, где купить

 
 

  Логин:

Пароль:

Регистрация

www.partskatalog.ru Все каталоги Запчасти Mercury Запчасти Suzuki Запчасти Tohatsu Запчасти Honda Контакты


Все разделы каталога запчастей на этот двигатель

назад Раздел:   вперёд

вернуться к списку узлов и деталей

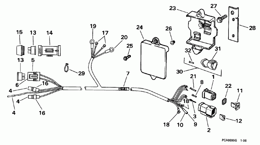
ДЕТАЛИРОВКА ДЛЯ МОДЕЛИ: EVINRUDE E25EECE 1998

MOTOR КАБЕЛИ ASSEMBLY | MOTOR CABLE ASSEMBLY;


 EVINRUDE E25EECE 1998  - tor Cable Assembly / tor Кабели Assembly

Номер на
рисунке
АртикулНаименованиеКол-во
на складе
Цена
0586026 0586026

Кабели в сборе., Motor. Not Shown (CABLE ASSY., Motor. Not Shown)

нет в наличии, поставок нет
0586026 5000016

   (последний код) KIT AY, MOTOR CBL

нет в наличии, поставок нет
1 0514687

Коннектор, 6-way Заглушка (CONNECTOR, 6-way plug)

нет в наличии, поставок нет
2 0514688

Коннектор, 6-way Внешняя розетка (CONNECTOR, 6-way receptacle)

нет в наличии, поставок нет
3 0514679

Клемма, Штифт (TERMINAL, Pin)

нет в наличии, поставок нет
4 0581656

Клемма в сборе., Socket (TERMINAL ASSY., Socket)

нет в наличии, поставок нет
4 3852257

   (последний код) TERMINAL AY,SCKT

нет в наличии, поставок нет
5 0514033

Коннектор, Предохранитель Заглушка (CONNECTOR, Fuse plug)

нет в наличии, поставок нет
6 0514035

Клемма, Внешняя розетка (TERMINAL, Receptacle)

нет в наличии, поставок нет
6 3858186

   (последний код) TERMINAL

нет в наличии, поставок нет
7 0583898

DIODE, 1000V (DIODE, 1000V)

нет в наличии, поставок нет
7 3852258

   (последний код) KIT-AY,DIODE

нет в наличии, поставок нет
8 0514690

Заглушка, Коннектор Сальникing (PLUG, Connector sealing)

нет в наличии, поставок нет
9 0512876

Клемма, Socket (TERMINAL, Socket)

нет в наличии, поставок нет
9 3852244

   (последний код) TERMINAL,SOC

нет в наличии, поставок нет
10 0126664

Гильза, Клемма (SLEEVE, Terminal)

нет в наличии, поставок нет
11 0514683

LOCK WEDGE, 6-way Заглушка (LOCK WEDGE, 6-way plug)

нет в наличии, поставок нет
12 0514684

LOCK WEDGE, 6-way Внешняя розетка (LOCK WEDGE, 6-way receptacle)

нет в наличии, поставок нет
13 0514021

Предохранитель, 20 Amp (FUSE, 20 Amp)

нет в наличии, поставок нет
14 0514491

Крышка, Inline Предохранитель (COVER, Inline fuse)

нет в наличии, поставок нет
15 0514022

Заглушка, Предохранитель (PLUG, Fuse)

нет в наличии, поставок нет
16 0513356

Коннектор, 1-socket Заглушка (CONNECTOR, 1-socket plug)

нет в наличии, поставок нет
17 0511829

Клемма, Кольцо, #10 (TERMINAL, Ring, #10)

нет в наличии, поставок нет
17 3852233

   (последний код) TERMINAL,RIN

нет в наличии, поставок нет
18 0510780

Клемма, Кольцо, #8 (TERMINAL, Ring, #8)

нет в наличии, поставок нет
18 3852226

   (последний код) TERMINAL,RIN

нет в наличии, поставок нет
19 0330100

Клемма, Кольцо, 312, solenoid (TERMINAL, Ring, .312, solenoid)

нет в наличии, поставок нет
19 3852198

   (последний код) TERMINAL,RIN

нет в наличии, поставок нет
20 0510818

Клемма, Кольцо, 250, Заземление (TERMINAL, Ring, .250, ground)

нет в наличии, поставок нет
20 3854243

   (последний код) TERMINAL,RIN

нет в наличии, поставок нет
21 0514680

Клемма, Socket (TERMINAL, Socket)

нет в наличии, поставок нет
22 0514790

Сальник, Коннектор (SEAL, Connector)

нет в наличии, поставок нет
23 0342197

Кронштейн коннектора (BRACKET, Connector)

нет в наличии, поставок нет
24 0342265

Крышка, Кронштейн (COVER, Bracket)

нет в наличии, поставок нет
24 0341030

   (последний код) COVER,-CONN

нет в наличии, поставок нет
25 0330838

Винт, Крышка to Кронштейн (SCREW, Cover to bracket)

нет в наличии, поставок нет
25 0329268

   (последний код) SCREW

нет в наличии, поставок нет
26 0305452

Винт, Conn. brkt. to mntg. brkt. (SCREW, Conn. brkt. to mntg. brkt.)

нет в наличии, поставок нет
27 0339824

Винт, Креплениеing Кронштейн (SCREW, Mounting bracket)

нет в наличии, поставок нет
28 0514695

КреплениеING Кронштейн (MOUNTING BRACKET)

нет в наличии, поставок нет
29 0320107

Крепёжный хомут, Держатель to Кабели (TIE STRAP, Holder to cable)

нет в наличии, поставок нет
29 5035626

   (последний код) BAND,REM CON

нет в наличии, поставок нет
30 0586072

Корпус & Сальник в сборе., Trim Кабели (HOUSING & SEAL ASSY., Trim cable)

нет в наличии, поставок нет
31 0514686

Коннектор, 3-Штифт (CONNECTOR, 3-pin)

нет в наличии, поставок нет
32 0514690

Заглушка, Vacant hole (PLUG, Vacant hole)

нет в наличии, поставок нет
evinrude

Время выполнения запроса 1.0044209957123 сек.


 
 

данный сайт носит информационный характер и не является публичной офертой

склад запчастей для водомоторной техники