вконтакте

Контактный телефон: +7 (981) 121-46-93, +7 (800) 200-90-76 , Email: parts-katalog@yandex.ru, где купить

 
 

  Логин:

Пароль:

Регистрация

www.partskatalog.ru Все каталоги Запчасти Mercury Запчасти Suzuki Запчасти Tohatsu Запчасти Honda Контакты


Все разделы каталога запчастей на этот двигатель

назад Раздел:  

вернуться к списку узлов и деталей

ДЕТАЛИРОВКА ДЛЯ МОДЕЛИ: EVINRUDE E40RECR 1998

TRANSOM КРЕПЛЕНИЕ KIT -- 50 ШНУР | TRANSOM MOUNT KIT -- 50 ROPE;


Подвесной двигатель Evinrude E40RECR 1998  -  50 Rope / 50 Шнур

Номер на
рисунке
АртикулНаименованиеКол-во
на складе
Цена
0434676 0434676

TRANSOM Крепление KIT. Not Shown (TRANSOM MOUNT KIT. Not Shown)

нет в наличии, поставок нет
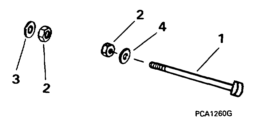
1 0334427

Винт (SCREW)

нет в наличии, поставок нет
1 0318512

   (последний код) SCREW

нет в наличии, поставок нет
2 0310702

Гайка (NUT)

нет в наличии, поставок нет
3 0309192

Шайба (WASHER)

нет в наличии, поставок нет
3 3852083

   (последний код) WASHER,FLAT

нет в наличии, поставок нет
4 0315776

Шайба (WASHER)

нет в наличии, поставок нет
evinrude

Время выполнения запроса 0.33733201026917 сек.


 
 

данный сайт носит информационный характер и не является публичной офертой

склад запчастей для водомоторной техники