вконтакте

Контактный телефон: +7 (981) 121-46-93, +7 (800) 200-90-76 , Email: parts-katalog@yandex.ru, где купить

 
 

  Логин:

Пароль:

Регистрация

www.partskatalog.ru Все каталоги Запчасти Mercury Запчасти Suzuki Запчасти Tohatsu Запчасти Honda Контакты


Все разделы каталога запчастей на этот двигатель

назад Раздел:   вперёд

вернуться к списку узлов и деталей

ДЕТАЛИРОВКА ДЛЯ МОДЕЛИ: EVINRUDE SE15BAEEM 1999

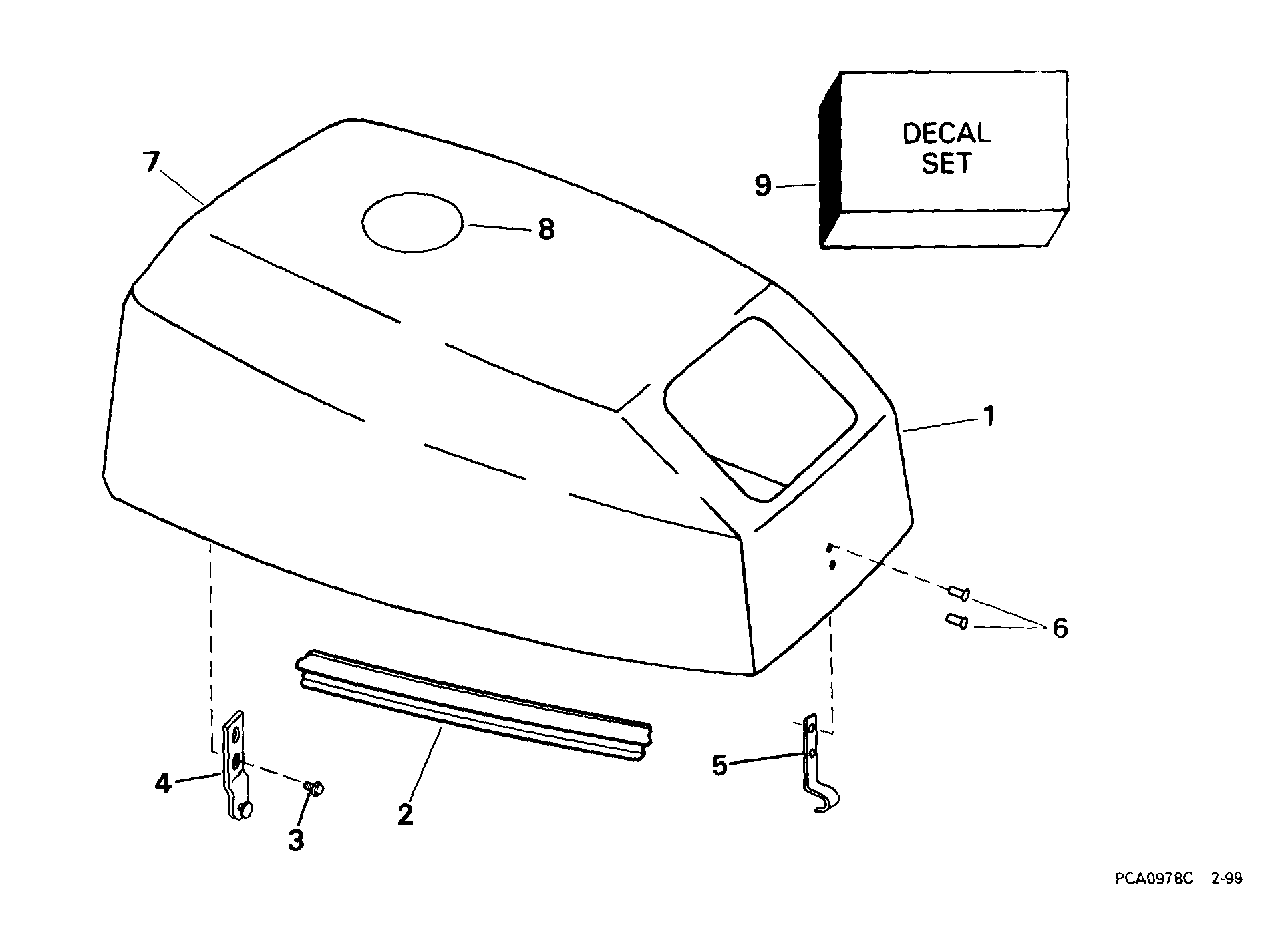
КРЫШКА ДВИГАТЕЛЯ (КАПОТ) | ENGINE COVER;


Подвесной лодочный мотор Эвинруд SE15BAEEM 1999  - gine Крышка

Номер на
рисунке
АртикулНаименованиеКол-во
на складе
Цена
1 5000420

Крышка двигателя (капот) в сборе.. 9.9 Models 15 Models (ENGINE COVER ASSY.. 9.9 Models . 15 Models .)

нет в наличии, поставок нет
1 0284981

Крышка двигателя (капот) в сборе.. SE15BA Model Only (ENGINE COVER ASSY.. SE15BA Model Only .)

нет в наличии, поставок нет
1 0438312

Крышка двигателя (капот) в сборе.. SJ15BA Model Only (ENGINE COVER ASSY.. SJ15BA Model Only .)

нет в наличии, поставок нет
2 0339204

Сальник (SEAL)

нет в наличии, поставок нет
3 0329217

Винт, Rear Крючок (SCREW, Rear hook)

нет в наличии, поставок нет
3 0333707

   (последний код) SCREW

нет в наличии, поставок нет
4 0438947

Крючок, Rear (HOOK, Rear)

нет в наличии, поставок нет
5 0436301

Крючок спереди (HOOK, Front)

нет в наличии, поставок нет
6 0339068

Заклёпка, Front Крючок (RIVET, Front hook)

нет в наличии, поставок нет
7 0344255

SOUND BLANKET, Rear (SOUND BLANKET, Rear)

нет в наличии, поставок нет
8 0213238

LENS. SE15BA Model Only (LENS. SE15BA Model Only .)

нет в наличии, поставок нет
8 0345651

LENS. SJ15BA Model Only (LENS. SJ15BA Model Only .)

нет в наличии, поставок нет
9 5000444

Комплект наклеек. 9.9 Models (DECAL SET. 9.9 Models .)

нет в наличии, поставок нет
9 5000445

Комплект наклеек. 15 Models (DECAL SET. 15 Models .)

нет в наличии, поставок нет
9 0285038

Комплект наклеек. SE15BA Model Only (DECAL SET. SE15BA Model Only .)

нет в наличии, поставок нет
9 0438434

Комплект наклеек. SJ15BA Model Only (DECAL SET. SJ15BA Model Only .)

нет в наличии, поставок нет
evinrude

Время выполнения запроса 0.91572499275208 сек.


 
 

данный сайт носит информационный характер и не является публичной офертой

склад запчастей для водомоторной техники