вконтакте

Контактный телефон: +7 (981) 121-46-93, +7 (800) 200-90-76 , Email: parts-katalog@yandex.ru, где купить

 
 

  Логин:

Пароль:

Регистрация

www.partskatalog.ru Все каталоги Запчасти Mercury Запчасти Suzuki Запчасти Tohatsu Запчасти Honda Контакты



УВАЖАЕМЫЕ КЛИЕНТЫ!
C 19 ДЕКАБРЯ 2025 ПО 02 МАРТА 2026 ГОДА ОТДЕЛ ЗАПЧАСТЕЙ И СЕРВИС РАБОТАТЬ НЕ БУДУТ
ПРОДАЖА ЛОДОЧНЫХ МОТОРОВ В ШТАТНОМ РЕЖИМЕ
ОБ ИЗМЕНЕНИЯХ В ГРАФИКЕ РАБОТЫ ЧИТАЙТЕ НА САЙТА




Все разделы каталога запчастей на этот двигатель

назад Раздел:   вперёд

вернуться к списку узлов и деталей

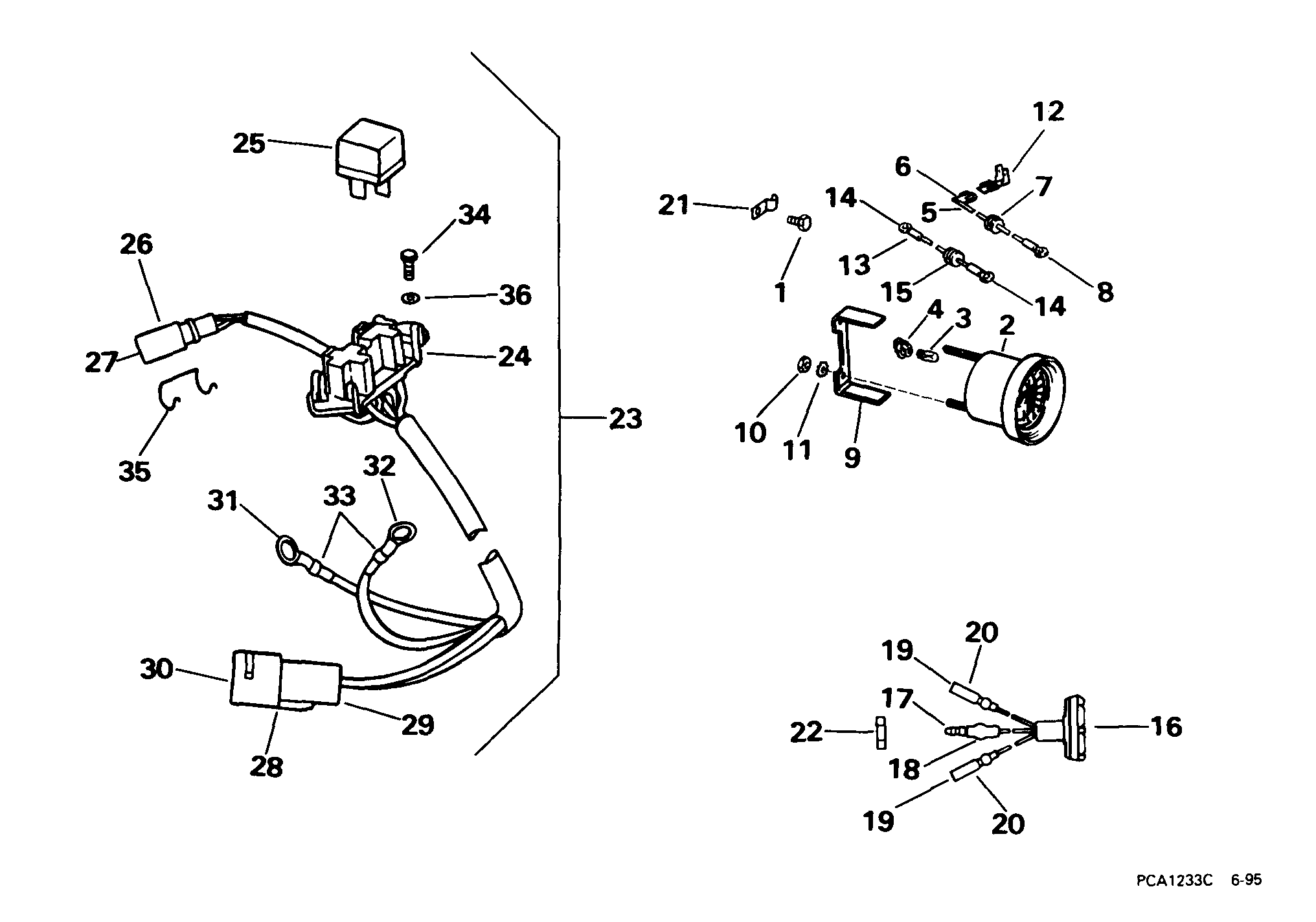
ДЕТАЛИРОВКА ДЛЯ МОДЕЛИ: EVINRUDE BE35AREEA 1999

МЕХАНИЗИРОВАННЫЙ ДИФФЕРЕНТ НАКЛОНА ЭЛЕКТРИКА | POWER TRIM/TILT ELECTRICAL;


 Эвинруд BE35AREEA 1999  - wer Trim / tilt Электрика - wer Trim/tilt Electrical

Номер на
рисунке
АртикулНаименованиеКол-во
на складе
Цена
1 0310981

Винт зажима. Опции (SCREW, Clamp. Optional .)

нет в наличии, поставок нет
2 0174490

TRIM GAUGE в сборе.. Опции (TRIM GAUGE ASSY.. Optional .)

нет в наличии, поставок нет
2 0174679

   (последний код) TRIM GAUGE, TECH

нет в наличии, поставок нет
3 0125432

Лампочка (BULB)

нет в наличии, поставок нет
4 0122553

SOCKET (SOCKET)

нет в наличии, поставок нет
5 0172873

LEAD в сборе. (LEAD ASSY.)

нет в наличии, поставок нет
5 0172656

   (последний код) LEAD

нет в наличии, поставок нет
6 0309437

Клемма (TERMINAL)

нет в наличии, поставок нет
6 3852084

   (последний код) TERMINAL,SID

нет в наличии, поставок нет
7 0510905

Пыльник (GROMMET)

нет в наличии, поставок нет
8 0204036

Кольцо Клемма (RING TERMINAL)

нет в наличии, поставок нет
8 3852035

   (последний код) TERMINAL,RIN

нет в наличии, поставок нет
9 0126272

Кронштейн (BRACKET)

нет в наличии, поставок нет
10 0125410

Гайка (NUT)

нет в наличии, поставок нет
11 0125411

Шайба (WASHER)

нет в наличии, поставок нет
12 0319984

ADAPTER, Клемма (ADAPTER, Terminal)

нет в наличии, поставок нет
13 0386682

LEAD в сборе. (LEAD ASSY.)

нет в наличии, поставок нет
13 0172657

   (последний код) LEAD

нет в наличии, поставок нет
14 0204036

Клемма, Кольцо (TERMINAL, Ring)

нет в наличии, поставок нет
14 3852035

   (последний код) TERMINAL,RIN

нет в наличии, поставок нет
15 0510905

Пыльник (GROMMET)

нет в наличии, поставок нет
16 0585146

TRIM / TILT Переключатель (TRIM/TILT SWITCH)

нет в наличии, поставок нет
16 0584841

   (последний код) SWITCH AY,T&T

нет в наличии, поставок нет
17 0512947

BULLET Клемма (BULLET TERMINAL)

нет в наличии, поставок нет
17 0910462

   (последний код) TERM.-60766-

нет в наличии, поставок нет
18 0513185

Гильза (SLEEVE)

нет в наличии, поставок нет
18 0512948

   (последний код) SLEEVE

нет в наличии, поставок нет
19 0512876

SOCKET Клемма (SOCKET TERMINAL)

нет в наличии, поставок нет
19 3852244

   (последний код) TERMINAL,SOC

нет в наличии, поставок нет
20 0513186

Гильза, Socket (SLEEVE, Socket)

нет в наличии, поставок нет
20 3852248

   (последний код) SLEEVE,SKT-B

нет в наличии, поставок нет
21 0317000

Зажим кабеля в сборе.. Опции (CLAMP, Cable assy.. Optional .)

нет в наличии, поставок нет
21 0318190

   (последний код) CLAMP

нет в наличии, поставок нет
22 0334656

Гайка, Tilt Переключатель (NUT, Tilt switch)

нет в наличии, поставок нет
23 0585185

Реле & Кабели в сборе. (RELAY & CABLE ASSY.)

нет в наличии, поставок нет
24 0334191

Кронштейн, Реле (BRACKET, Relay)

нет в наличии, поставок нет
24 3852210

   (последний код) BRACKET

нет в наличии, поставок нет
25 0586224

Реле (RELAY)

1 шт2730 руб.
25 3857533

   (последний код) RELAY AY

нет в наличии, поставок нет
26 0512746

Коннектор, 2-Штифт (CONNECTOR, 2-pin)

нет в наличии, поставок нет
27 0514469

Клемма, Штифт (TERMINAL, Pin)

нет в наличии, поставок нет
28 0513663

Коннектор (CONNECTOR)

нет в наличии, поставок нет
28 3852249

   (последний код) CONN,2-CONT

нет в наличии, поставок нет
29 0513665

Сальник, Коннектор (SEAL, Connector)

нет в наличии, поставок нет
29 3852251

   (последний код) PLUG,CONN SEAL

нет в наличии, поставок нет
30 0513666

Клемма, Blade (TERMINAL, Blade)

нет в наличии, поставок нет
30 3852252

   (последний код) TERMINAL,BLA

нет в наличии, поставок нет
31 0330100

Клемма, Кольцо, 5 / 16 (TERMINAL, Ring, 5/16)

нет в наличии, поставок нет
31 3852198

   (последний код) TERMINAL,RIN

нет в наличии, поставок нет
32 0510818

Клемма, Кольцо, 1 / 4 (TERMINAL, Ring, 1/4)

нет в наличии, поставок нет
32 3854243

   (последний код) TERMINAL,RIN

нет в наличии, поставок нет
33 0510781

Гильза, Клемма (SLEEVE, Terminal)

нет в наличии, поставок нет
34 0341992

Винт, Креплениеing, M5 (SCREW, Mounting, M5)

нет в наличии, поставок нет
35 0512741

Фиксатор, Коннектор (RETAINER, Connector)

нет в наличии, поставок нет
36 0327283

Шайба с блокировкой (LOCK WASHER)

нет в наличии, поставок нет
evinrude

Время выполнения запроса 2.5725409984589 сек.


 
 

данный сайт носит информационный характер и не является публичной офертой

склад запчастей для водомоторной техники