вконтакте

Контактный телефон: +7 (981) 121-46-93, +7 (800) 200-90-76 , Email: parts-katalog@yandex.ru, где купить

 
 

  Логин:

Пароль:

Регистрация

www.partskatalog.ru Все каталоги Запчасти Mercury Запчасти Suzuki Запчасти Tohatsu Запчасти Honda Контакты


Все разделы каталога запчастей на этот двигатель

назад Раздел:   вперёд

вернуться к списку узлов и деталей

ДЕТАЛИРОВКА ДЛЯ МОДЕЛИ: EVINRUDE E65WRLEES 1999

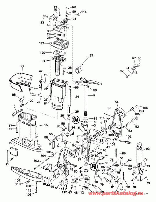
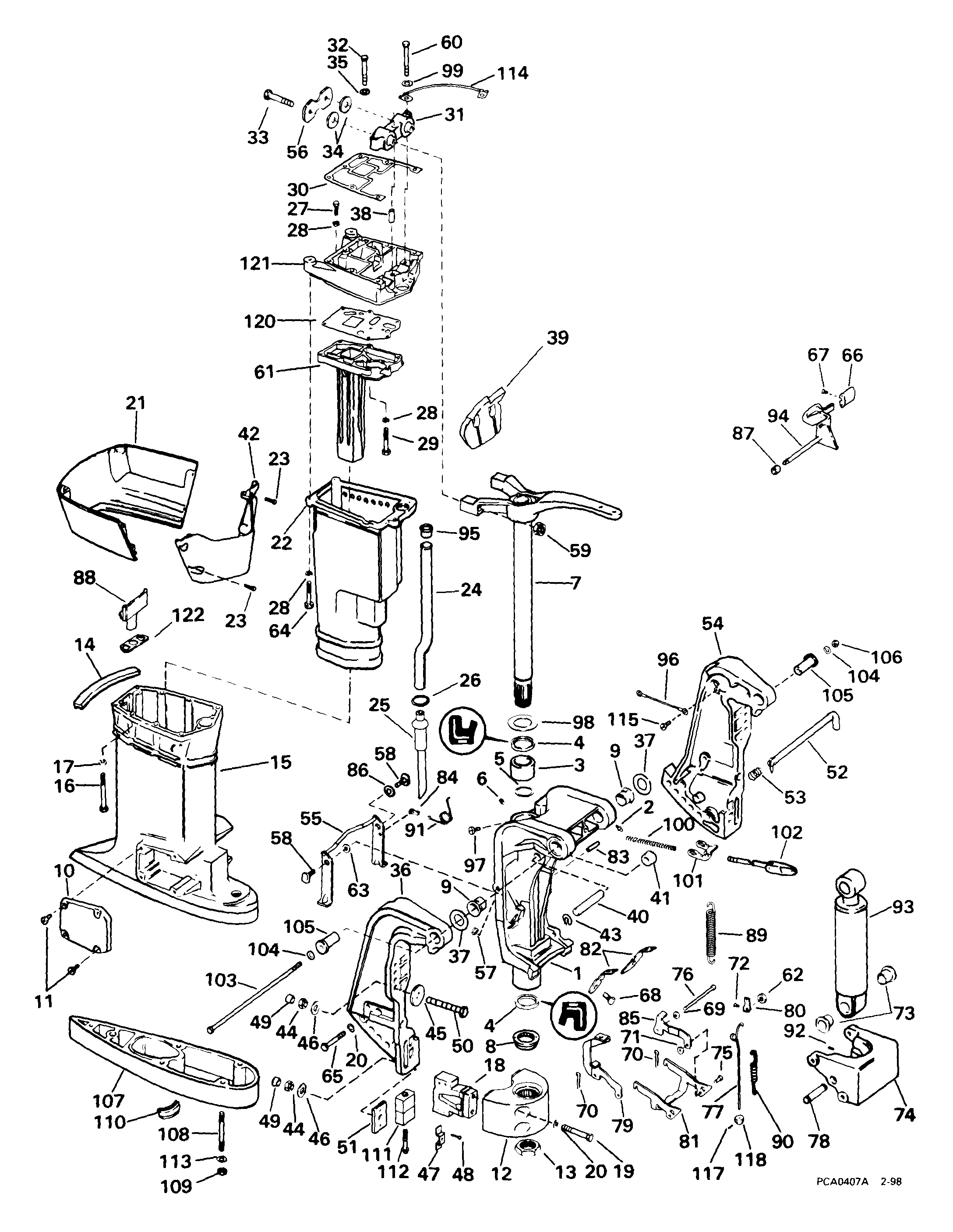
MIDSECTION | MIDSECTION;


Двигатель Evinrude E65WRLEES 1999  - dsection / dsection

Номер на
рисунке
АртикулНаименованиеКол-во
на складе
Цена
1 0396961

Поворотный кронштейн (SWIVEL BRACKET)

нет в наличии, поставок нет
2 0313607

LUBRICATION FITTING (LUBRICATION FITTING)

нет в наличии, поставок нет
2 3852121

   (последний код) FITTING,LUB

нет в наличии, поставок нет
3 0329291

Втулка, Поворотный кронштейн (BUSHING, Swivel bracket)

нет в наличии, поставок нет
4 0320937

Сальник (SEAL)

нет в наличии, поставок нет
5 0329292

SвышеPORT Кольцо (SUPPORT RING)

нет в наличии, поставок нет
6 0330605

Установочный винт (SET SCREW)

нет в наличии, поставок нет
6 0329664

   (последний код) SCREW SET

нет в наличии, поставок нет
7 0392517

Рулевая система Рычаг ASSEMBLY (STEERING ARM ASSEMBLY)

нет в наличии, поставок нет
7 0388647

   (последний код) STRG-ARM&SHA

нет в наличии, поставок нет
8 0327696

KEEPER, Стержень Вал (KEEPER, Pivot shaft)

нет в наличии, поставок нет
9 0321035

Втулка, Поворотный кронштейн (BUSHING, Swivel bracket)

нет в наличии, поставок нет
10 0321673

Крышка, Монтажный кронштейн, нижний (COVER, Mount bracket, lower)

нет в наличии, поставок нет
10 0329288

   (последний код) COVER

нет в наличии, поставок нет
11 0329894

Винт, Крышка (SCREW, Cover)

нет в наличии, поставок нет
11 0302510

   (последний код) SCREW

нет в наличии, поставок нет
12 0340773

Монтажный кронштейн (MOUNT BRACKET)

нет в наличии, поставок нет
13 0320746

Гайка, Монтажный кронштейн (NUT, Mount bracket)

нет в наличии, поставок нет
14 0314024

Сальник, Удлинитель корпуса (SEAL, Exhaust housing)

нет в наличии, поставок нет
15 0340772

Удлинитель корпуса, Outer (EXHAUST HOUSING, Outer)

нет в наличии, поставок нет
16 0326900

Винт, Удлинитель корпуса (SCREW, Exhaust housing)

нет в наличии, поставок нет
16 0330714

   (последний код) SCREW

нет в наличии, поставок нет
17 0307708

Шайба, Удлинитель корпуса (WASHER, Exhaust housing)

нет в наличии, поставок нет
17 0302865

   (последний код) LOCKWASHER

нет в наличии, поставок нет
18 0387796

RUBBER Крепление нижнее (RUBBER MOUNT, Lower)

нет в наличии, поставок нет
19 0318612

Винт, Крепление (SCREW, Mount)

нет в наличии, поставок нет
19 0321737

   (последний код) SCREW

нет в наличии, поставок нет
20 0307708

Шайба с блокировкой, Крепление (LOCK WASHER, Mount)

нет в наличии, поставок нет
20 0302865

   (последний код) LOCKWASHER

нет в наличии, поставок нет
21 0340777

Крышка, Задний корпус (COVER, Housing, rear)

нет в наличии, поставок нет
21 0206006

   (последний код) COVER EXH HSG

нет в наличии, поставок нет
22 0337023

Удлинитель корпуса (EXHAUST HOUSING)

нет в наличии, поставок нет
22 0336319

   (последний код) HOUSING,EXHAUST

нет в наличии, поставок нет
23 0328694

Винт, Front to rear Крышка (SCREW, Front to rear cover)

нет в наличии, поставок нет
23 0911122

   (последний код) SCREW

нет в наличии, поставок нет
24 0319281

Водяная трубка, Std. (WATER TUBE, Std.)

нет в наличии, поставок нет
25 0335384

Водяная трубка Удлинитель. 65WRY Model Only (WATER TUBE EXTENSION. 65WRY Model Only .)

нет в наличии, поставок нет
26 0326649

Уплотнительное кольцо, Удлинитель. 65WRY Model Only (O-RING, Extension. 65WRY Model Only .)

нет в наличии, поставок нет
26 0553127

   (последний код) O RING

нет в наличии, поставок нет
27 0329894

Винт, Adapter to Корпус (SCREW, Adapter to housing)

нет в наличии, поставок нет
27 0302510

   (последний код) SCREW

нет в наличии, поставок нет
28 0302290

Шайба с блокировкой (LOCK WASHER)

нет в наличии, поставок нет
28 0338307

   (последний код) WASHER,LOCK

нет в наличии, поставок нет
29 0324334

Винт, Megaphone to adapter (SCREW, Megaphone to adapter)

нет в наличии, поставок нет
29 0302820

   (последний код) SCREW

нет в наличии, поставок нет
30 0329828

Прокладка, Adapter to powerhead (GASKET, Adapter to powerhead)

нет в наличии, поставок нет
31 0436394

Монтажная резинка в сборе., верхний (RUBBER MOUNT ASSY., Upper)

нет в наличии, поставок нет
31 0395873

   (последний код) RUBBER MOUNT

нет в наличии, поставок нет
32 0306836

Винт, верхний Крепление (SCREW, Upper mount)

нет в наличии, поставок нет
33 0321653

Винт, верхний Крепление (SCREW, Upper mount)

нет в наличии, поставок нет
34 0313580

Шайба, Крепление Винт (WASHER, Mount screw)

нет в наличии, поставок нет
35 0320397

LOCK Шайба верхнего крепежа (LOCK WASHER, Upper mount)

нет в наличии, поставок нет
35 3852162

   (последний код) WASHER

нет в наличии, поставок нет
36 0395844

Кронштейн транца, Starboard (STERN BRACKET, Starboard)

нет в наличии, поставок нет
36 0397948

   (последний код) STERN-BRKT

нет в наличии, поставок нет
37 0910992

Упорная шайба, Кронштейн транца (THRUST WASHER, Stern bracket)

нет в наличии, поставок нет
37 0327699

   (последний код) THRUST-WASHE

нет в наличии, поставок нет
38 0331019

DOWEL, Adapter to верхний Крепление (DOWEL, Adapter to upper mount)

нет в наличии, поставок нет
39 0336309

Сальник, Рулевая система Рычаг to Нижняя часть корпуса (SEAL, Steering arm to lower cover)

нет в наличии, поставок нет
40 0320792

Штифт, Цилиндр наклона (PIN, Tilt cylinder)

нет в наличии, поставок нет
41 0322481

Втулка, Цилиндр наклона (BUSHING, Tilt cylinder)

нет в наличии, поставок нет
41 0320941

   (последний код) BUSHING

нет в наличии, поставок нет
42 0340778

Выхлопная крышка Передний корпус (COVER, Exhaust housing, front)

нет в наличии, поставок нет
43 0321054

Пружина Зажим (SPRING CLIP)

нет в наличии, поставок нет
44 0313623

Гайка, Кронштейн транца Винт (NUT, Stern bracket screw)

нет в наличии, поставок нет
44 0321861

   (последний код) NUT

нет в наличии, поставок нет
45 0307238

Шайба, Гайка (WASHER, Nut)

нет в наличии, поставок нет
46 0320248

Шайба (WASHER)

нет в наличии, поставок нет
46 0312910

   (последний код) WASHER

нет в наличии, поставок нет
47 0318273

Фиксатор (RETAINER)

нет в наличии, поставок нет
48 0319886

Винт (SCREW)

нет в наличии, поставок нет
49 0318572

Монтажная крышка Винтs (CAP, Mounting screws)

нет в наличии, поставок нет
50 0336676

Винт, Кронштейн to transom, 4 3 / 4 дюйм (121 мм) (SCREW, Bracket to transom, 4 3/4 in. (121mm))

нет в наличии, поставок нет
50 0336675

   (последний код) BOLT

нет в наличии, поставок нет
50 0331578

Винт, Кронштейн to transom, 5 дюйм (127 мм) (SCREW, Bracket to transom, 5 in. (127mm))

нет в наличии, поставок нет
50 0321577

Винт, Кронштейн to transom, 6 дюйм (152 мм) (SCREW, Bracket to transom, 6 in. (152mm))

нет в наличии, поставок нет
51 0318272

Пластина (PLATE)

нет в наличии, поставок нет
52 0436541

Стержень тяги ASSEMBLY (THRUST ROD ASSEMBLY)

нет в наличии, поставок нет
52 0387278

   (последний код) TH-ROD&RETAI

нет в наличии, поставок нет
53 0321053

Пружина, Стержень тяги (SPRING, Thrust rod)

нет в наличии, поставок нет
54 0396309

Кронштейн транца в сборе., Port (STERN BRACKET ASSY., Port)

нет в наличии, поставок нет
54 0395843

   (последний код) STERN-BRACKE

нет в наличии, поставок нет
55 0390442

TRAIL LOCK Рычаг (TRAIL LOCK LEVER)

нет в наличии, поставок нет
55 5004427

   (последний код) LEVER&ROD AY

нет в наличии, поставок нет
56 0321935

RETAINING Пластина, Крепление Винт (RETAINING PLATE, Mount screw)

нет в наличии, поставок нет
57 0552938

Гайка (NUT)

нет в наличии, поставок нет
57 0306319

   (последний код) NUT

нет в наличии, поставок нет
58 0329109

SHOULDER Винт, Trail lock (SHOULDER SCREW, Trail lock)

нет в наличии, поставок нет
58 0321389

   (последний код) HH-SHOULDER

нет в наличии, поставок нет
59 0315511

Гайка, Винт, верхний Крепление (NUT, Screw, upper mount)

нет в наличии, поставок нет
60 0306423

Винт (SCREW)

нет в наличии, поставок нет
61 0337024

MEGAPHONE Пластина в сборе. (MEGAPHONE PLATE ASSY.)

нет в наличии, поставок нет
61 0336346

   (последний код) MEGAPHONE

нет в наличии, поставок нет
62 0332690

Проставка, Tilt lock Вал (SPACER, Tilt lock shaft)

нет в наличии, поставок нет
63 0552993

Шайба, Винт to Кронштейн (WASHER, Screw to bracket)

нет в наличии, поставок нет
63 0330266

   (последний код) WASHER

нет в наличии, поставок нет
64 0319358

Винт, Внутренности машинки газ-реверс to adapter (SCREW, Inner housing to adapter)

нет в наличии, поставок нет
64 0329110

   (последний код) SCREW

нет в наличии, поставок нет
65 0552968

Винт, Проставка, 1 7 / 16 дюйм (37 мм) (SCREW, Spacer, 1 7/16 in. (37mm))

нет в наличии, поставок нет
65 0321675

   (последний код) SCREW

нет в наличии, поставок нет
65 0318612

Винт, Проставка, 2 3 / 4 дюйм (70 мм) (SCREW, Spacer, 2 3/4 in. (70mm))

нет в наличии, поставок нет
65 0321737

   (последний код) SCREW

нет в наличии, поставок нет
66 0329012

Ручка наклона lock (KNOB, Tilt lock)

нет в наличии, поставок нет
66 0318157

   (последний код) KNOB

нет в наличии, поставок нет
67 0318238

Винт, Ручка (SCREW, Knob)

нет в наличии, поставок нет
68 0123077

Винт, Пружина (SCREW, Spring)

нет в наличии, поставок нет
69 0204757

Пружинная шайба (SPRING WASHER)

нет в наличии, поставок нет
70 0302858

Шплинт (COTTER PIN)

нет в наличии, поставок нет
70 3854480

   (последний код) PIN,COTTER

нет в наличии, поставок нет
71 0303887

Шайба, Блокировка задней передачи Штифт (WASHER, Reverse lock pin)

нет в наличии, поставок нет
72 0319108

Винт, BellКривошип (SCREW, Bellcrank)

нет в наличии, поставок нет
72 0311512

   (последний код) SCREW

нет в наличии, поставок нет
73 0321246

Втулка, Цилиндр наклона (BUSHING, Tilt cylinder)

нет в наличии, поставок нет
74 0329519

Проставка, Кронштейн транца (SPACER, Stern bracket)

нет в наличии, поставок нет
74 0326689

   (последний код) SPACER

нет в наличии, поставок нет
75 0321591

Штифт тяги to locking Рычаг (PIN, Link to locking lever)

нет в наличии, поставок нет
76 0321592

Штифт тяги to Поворотный кронштейн (PIN, Link to swivel bracket)

нет в наличии, поставок нет
77 0332692

Тяга, Блокировка задней передачи release (ROD, Reverse lock release)

нет в наличии, поставок нет
78 0321695

Штифт, Цилиндр, нижний (PIN, Cylinder, lower)

нет в наличии, поставок нет
79 0332687

Соединитель, Блокировка задней передачи, starboard (LINK, Reverse lock, starboard)

нет в наличии, поставок нет
80 0332691

BELLКривошип, Releasing Тяга (BELLCRANK, Releasing rod)

нет в наличии, поставок нет
81 0321750

LOCKING Рычаг, Блокировка задней передачи (LOCKING LEVER, Reverse lock)

нет в наличии, поставок нет
82 0334345

Фиксатор, Пружина блокировка задней передачи (RETAINER, Reverse lock spring)

нет в наличии, поставок нет
82 0323594

   (последний код) RETAINER-REV

нет в наличии, поставок нет
83 0312863

Штифт, Trail lock stop (PIN, Trail lock stop)

нет в наличии, поставок нет
84 0332697

Фиксатор пружины, trail lock (RETAINER, Spring, trail lock)

нет в наличии, поставок нет
85 0332875

Соединитель, Блокировка задней передачи, port (LINK, Reverse lock, port)

нет в наличии, поставок нет
86 0553766

Волнистая шайба, Shoulder Винт to Рычаг, port (WAVE WASHER, Shoulder screw to lever, port)

нет в наличии, поставок нет
86 0123886

   (последний код) SPRING-WASHE

нет в наличии, поставок нет
87 0332688

Проставка, Handle (SPACER, Handle)

нет в наличии, поставок нет
88 0336448

BAFFLE, Outer Выхлоп (BAFFLE, Outer exhaust)

нет в наличии, поставок нет
89 0321920

Пружина блокировки задней передачи (SPRING, Reverse lock)

нет в наличии, поставок нет
90 0332689

Пружина, Trail lock return (SPRING, Trail lock return)

нет в наличии, поставок нет
91 0332698

Пружина, Trail lock (SPRING, Trail lock)

нет в наличии, поставок нет
91 0349180

   (последний код) SPRING

нет в наличии, поставок нет
92 0909676

Установочный винт, Проставка (SET SCREW, Spacer)

нет в наличии, поставок нет
93 0387791

SHOCK ABSORBER (SHOCK ABSORBER)

нет в наличии, поставок нет
94 0397730

Рычаг и Вал (LEVER AND SHAFT)

нет в наличии, поставок нет
95 0319043

Сальник, Водяная трубка, верхний (SEAL, Water tube, upper)

нет в наличии, поставок нет
96 0584120

LEAD ASSEMBLY, Заземление (LEAD ASSEMBLY, Ground)

нет в наличии, поставок нет
97 0306014

Винт, Заземление leads (SCREW, Ground leads)

нет в наличии, поставок нет
98 0320866

THRUST Опорная шайба Вал (THRUST WASHER, Pivot shaft)

нет в наличии, поставок нет
99 0306470

LOCK Шайба верхнего крепежа (LOCK WASHER, Upper mount)

нет в наличии, поставок нет
99 3852061

   (последний код) LOCKWASHER

нет в наличии, поставок нет
100 0329793

Пружина, Рулевая система friction (SPRING, Steering friction)

нет в наличии, поставок нет
101 0330296

GUARD, Handle (GUARD, Handle)

нет в наличии, поставок нет
102 0394036

HANDLE и Винт в сборе. (HANDLE AND SCREW ASSY.)

нет в наличии, поставок нет
103 0329529

Болт, Tilt Вал (BOLT, Tilt shaft)

нет в наличии, поставок нет
104 0343600

Шайба, Tilt Болт (WASHER, Tilt bolt)

нет в наличии, поставок нет
104 0305273

   (последний код) WASHER

нет в наличии, поставок нет
105 0329530

Втулка, Tilt Вал (BUSHING, Tilt shaft)

нет в наличии, поставок нет
106 0313990

Гайка, Tilt Вал (NUT, Tilt shaft)

нет в наличии, поставок нет
107 0340774

Удлинитель. 65WRY Model Only (EXTENSION. 65WRY Model Only .)

нет в наличии, поставок нет
107 0351395

   (последний код) EXTENSION,GEARCASE

нет в наличии, поставок нет
108 0333270

Шпилька, Удлинитель корпуса. 65WRY Model Only (STUD, Exhaust housing. 65WRY Model Only .)

нет в наличии, поставок нет
109 0307160

Гайка, Удлинитель корпуса. 65WRY Model Only (NUT, Exhaust housing. 65WRY Model Only .)

нет в наличии, поставок нет
110 0329234

Сальник, Удлинитель to Редуктор. 65WRY Model Only (SEAL, Extension to gearcase. 65WRY Model Only .)

нет в наличии, поставок нет
110 0329026

   (последний код) SEAL-EXT-TO

нет в наличии, поставок нет
111 0433458

Анод, Кронштейн транца (ANODE, Stern bracket)

нет в наличии, поставок нет
111 0398331

   (последний код) ANODE & INSERT AY

нет в наличии, поставок нет
112 0333350

Винт, Анод (SCREW, Anode)

нет в наличии, поставок нет
113 0308688

Шайба шестерниcase. 65WRY Model Only (WASHER, Gearcase. 65WRY Model Only .)

нет в наличии, поставок нет
114 0584119

LEAD, Adapter to Поворотный кронштейн (LEAD, Adapter to swivel bracket)

нет в наличии, поставок нет
114 0583360

   (последний код) LEAD-AY

нет в наличии, поставок нет
115 0306014

Винт, Заземление lead (SCREW, Ground lead)

нет в наличии, поставок нет
117 0304221

Винт, Блокировка задней передачи Воротник (SCREW, Reverse lock collar)

нет в наличии, поставок нет
118 0332693

Воротник блокировки реверса release (COLLAR, Reverse lock release)

нет в наличии, поставок нет
120 0336308

Прокладка (GASKET)

нет в наличии, поставок нет
120 0330984

   (последний код) GASKET

нет в наличии, поставок нет
121 0344363

ADAPTER, Удлинитель корпуса (ADAPTER, Exhaust housing)

нет в наличии, поставок нет
121 0439194

   (последний код) ADAPTOR&SEAL AY

нет в наличии, поставок нет
122 0336418

Прокладка, Baffle (GASKET, Baffle)

нет в наличии, поставок нет
evinrude

Время выполнения запроса 4.6811308860779 сек.


 
 

данный сайт носит информационный характер и не является публичной офертой

склад запчастей для водомоторной техники