вконтакте

Контактный телефон: +7 (981) 121-46-93, +7 (800) 200-90-76 , Email: parts-katalog@yandex.ru, где купить

 
 

  Логин:

Пароль:

Регистрация

www.partskatalog.ru Все каталоги Запчасти Mercury Запчасти Suzuki Запчасти Tohatsu Запчасти Honda Контакты


Все разделы каталога запчастей на этот двигатель

назад Раздел:   вперёд

вернуться к списку узлов и деталей

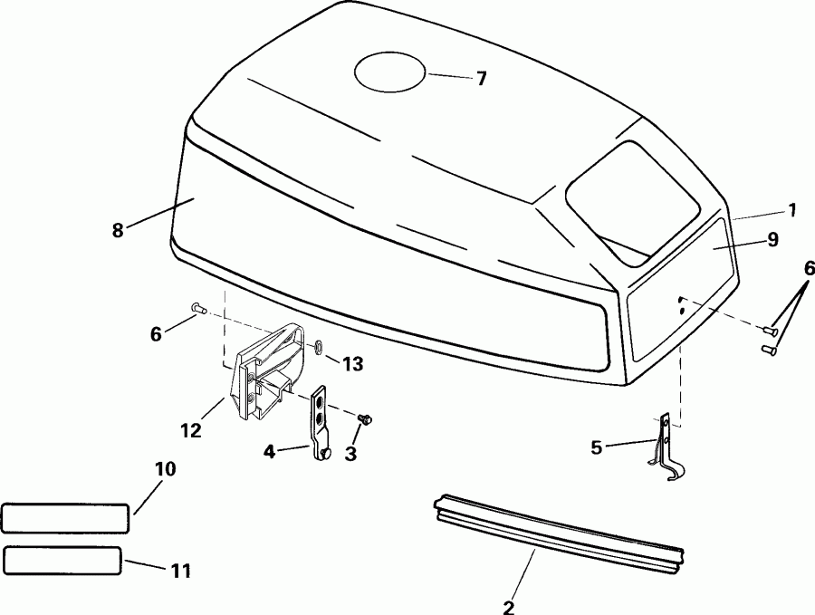
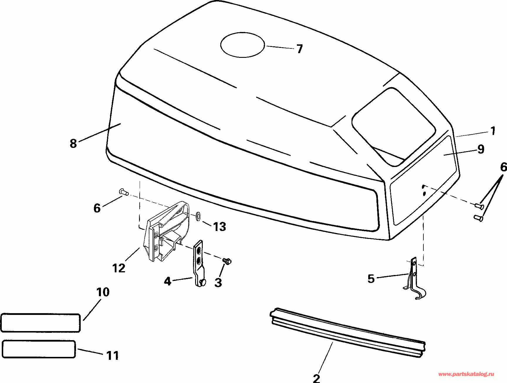
ДЕТАЛИРОВКА ДЛЯ МОДЕЛИ: EVINRUDE E15WRLSSC Commercial, Rope Start, Tiller

КРЫШКА ДВИГАТЕЛЯ (КАПОТ) - EVINRUDE | ENGINE COVER - EVINRUDE;


Лодочный подвесной мотор EVINRUDE E15WRLSSC Commercial, Rope Start, Tiller  - Evinrude - Evinrude

Номер на
рисунке
АртикулНаименованиеКол-во
на складе
Цена
1 0285073

Крышка двигателя (капот) в сборе. (ENGINE COVER ASSY.)

нет в наличии, поставок нет
2 0339204

*Сальник (SEAL)

нет в наличии, поставок нет
3 0329217

*Винт, Rear Крючок (SCREW, Rear hook)

нет в наличии, поставок нет
3 0333707

   (последний код) SCREW

нет в наличии, поставок нет
4 0438947

*Крючок, Rear (HOOK, Rear)

нет в наличии, поставок нет
5 0436301

*Крючок спереди (HOOK, Front)

нет в наличии, поставок нет
6 0339068

*Заклёпка, Front Крючок (RIVET, Front hook)

нет в наличии, поставок нет
7 0213238

*LENS (LENS)

нет в наличии, поставок нет
7 0213238

*LENS (LENS)

нет в наличии, поставок нет
8 0

*Наклейка, Sides. Use P / N 285088 Комплект наклеек (DECAL, Sides. Use P/N 285088 Decal Set)

нет в наличии, поставок нет
9 0

*Наклейка, Front. Use P / N 285088 Комплект наклеек (DECAL, Front. Use P/N 285088 Decal Set)

нет в наличии, поставок нет
10 0333978

Наклейка, Start warning (DECAL, Start warning)

нет в наличии, поставок нет
11 0334435

Наклейка, Owner attn. (DECAL, Owner attn.)

нет в наличии, поставок нет
11 0911902

   (последний код) DECAL

нет в наличии, поставок нет
12 0342142

*Кронштейн в сборе., Latch, rear (BRACKET ASSY., Latch, rear)

нет в наличии, поставок нет
13 0303715

*Шайба, Заклёпка, Кронштейн в сборе. (WASHER, Rivet, bracket assy.)

нет в наличии, поставок нет
evinrude

Время выполнения запроса 1.2723898887634 сек.


 
 

данный сайт носит информационный характер и не является публичной офертой

склад запчастей для водомоторной техники