вконтакте

Контактный телефон: +7 (981) 121-46-93, +7 (800) 200-90-76 , Email: parts-katalog@yandex.ru, где купить

 
 

  Логин:

Пароль:

Регистрация

www.partskatalog.ru Все каталоги Запчасти Mercury Запчасти Suzuki Запчасти Tohatsu Запчасти Honda Контакты


Все разделы каталога запчастей на этот двигатель

назад Раздел:   вперёд

вернуться к списку узлов и деталей

ДЕТАЛИРОВКА ДЛЯ МОДЕЛИ: EVINRUDE E8RL4SIE 4-stroke, rope start, tiller, 2

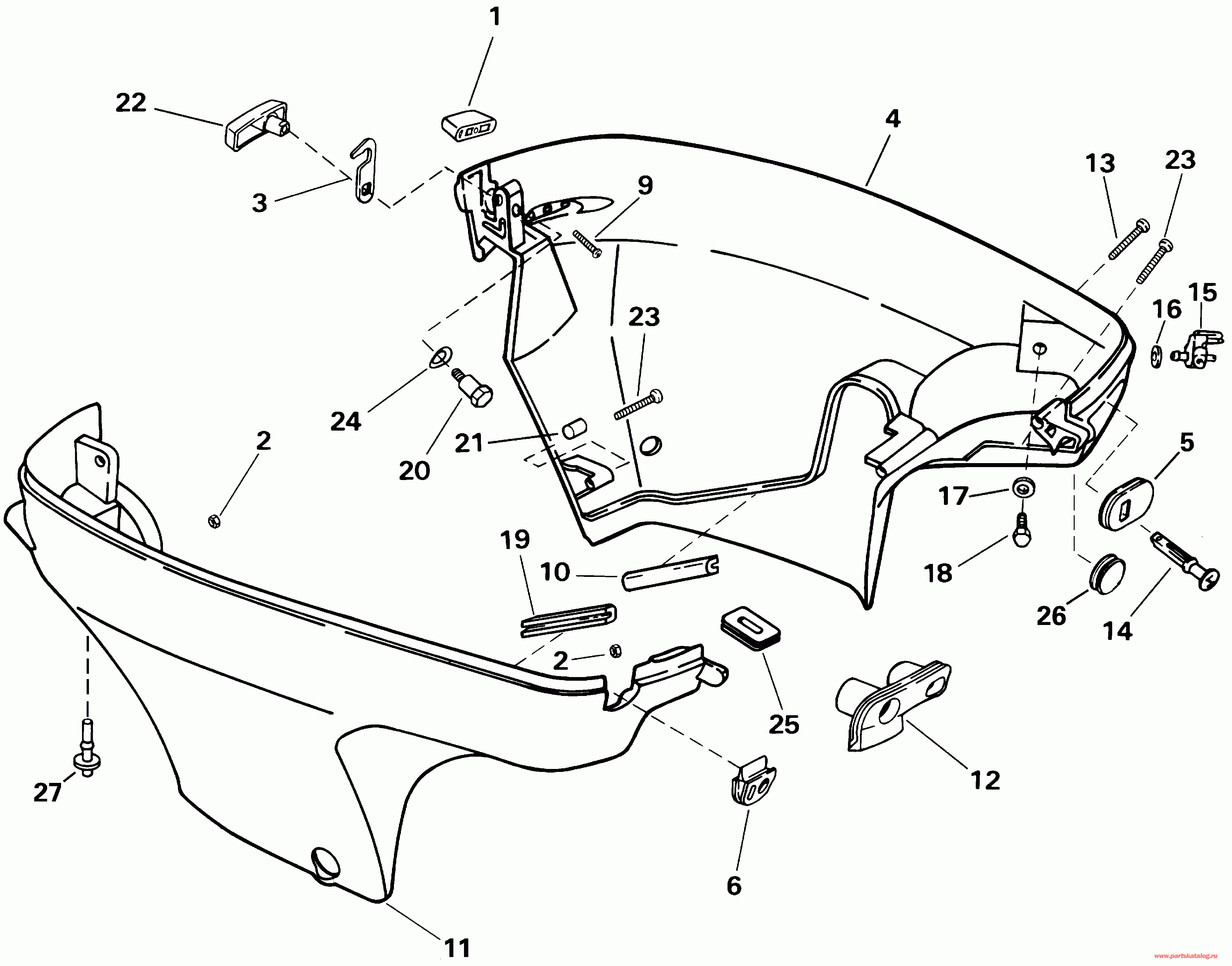
НИЖНЯЯ КРЫШКА ДВИГАТЕЛЯ | LOWER ENGINE COVER;


Подвесной двигатель Эвинруд E8RL4SIE 4-stroke, rope start, tiller, 2  - wer Крышка двигателя (капот) - wer Engine Cover

Номер на
рисунке
АртикулНаименованиеКол-во
на складе
Цена
1 0337413

Бампер, Крышка (BUMPER, Cover)

нет в наличии, поставок нет
2 0115340

Гайка, Винт (NUT, Screw)

2 шт660 руб.
2 0446248

   (последний код) NUT,M5

нет в наличии, поставок нет
3 0337414

LATCH, Rear (LATCH, Rear)

нет в наличии, поставок нет
4 0449533

Крышка двигателя (капот), нижний , port (ENGINE COVER, Lower, port)

нет в наличии, поставок нет
4 0446454

   (последний код) COVER AY,MOTOR-LWR

нет в наличии, поставок нет
5 0446446

*Пыльник ручки заслонки (GROMMET, Choke knob)

нет в наличии, поставок нет
6 0446253

Пыльник, Двигатель стартера Кабели (GROMMET, Starter motor cable)

нет в наличии, поставок нет
9 0337358

Винт, Бампер (SCREW, Bumper)

нет в наличии, поставок нет
10 0446240

Сальник, Крышка, port (SEAL, Cover, port)

нет в наличии, поставок нет
11 0446453

Крышка двигателя (капот), нижний , stbd. (ENGINE COVER, Lower, stbd.)

нет в наличии, поставок нет
11 0446435

   (последний код) COVER MOTOR-LOWER

нет в наличии, поставок нет
12 0446242

Пыльник, Дроссель (GROMMET, Throttle)

нет в наличии, поставок нет
13 0446246

Винт, Крышка (SCREW, Cover)

нет в наличии, поставок нет
14 0338965

CHOKE Ручка (CHOKE KNOB)

нет в наличии, поставок нет
14 0336147

   (последний код) KNOB,CHOKE

нет в наличии, поставок нет
15 0438793

Топливный коннектор в сборе. (FUEL CONNECTOR ASSY.)

нет в наличии, поставок нет
15 5030328

   (последний код) PLUG,FUEL CONN

нет в наличии, поставок нет
16 0343736

*Сальник, Топливный коннектор (SEAL, Fuel connector)

нет в наличии, поставок нет
17 0328703

*Шайба (WASHER)

нет в наличии, поставок нет
17 3852184

   (последний код) WASHER

нет в наличии, поставок нет
18 0336165

*Винт, Топливный коннектор (SCREW, Fuel connector)

нет в наличии, поставок нет
18 5030329

   (последний код) BOLT,FUEL CONN PL

нет в наличии, поставок нет
19 0446241

Сальник, Крышка, stbd. (SEAL, Cover, stbd.)

нет в наличии, поставок нет
20 0441226

Винт, Handle to Крышка (SCREW, Handle to cover)

нет в наличии, поставок нет
21 0446286

ISOLATOR (ISOLATOR)

нет в наличии, поставок нет
22 0437002

HANDLE в сборе. (HANDLE ASSY.)

нет в наличии, поставок нет
23 0446245

Винт, Крышка (SCREW, Cover)

нет в наличии, поставок нет
24 0330234

Шайба, Винт, handle (WASHER, Screw, handle)

нет в наличии, поставок нет
25 0446322

Пыльник, Переключающая тяга (GROMMET, Shift rod)

нет в наличии, поставок нет
25 0446497

   (последний код) GROMMET

нет в наличии, поставок нет
26 0446432

Пыльник (GROMMET)

нет в наличии, поставок нет
27 0336597

Ниппель, Overboard Индикатор (NIPPLE, Overboard Indicator)

нет в наличии, поставок нет
evinrude

Время выполнения запроса 2.2563199996948 сек.


 
 

данный сайт носит информационный характер и не является публичной офертой

склад запчастей для водомоторной техники