вконтакте

Контактный телефон: +7 (981) 121-46-93, +7 (800) 200-90-76 , Email: parts-katalog@yandex.ru, где купить

 
 

  Логин:

Пароль:

Регистрация

www.partskatalog.ru Все каталоги Запчасти Mercury Запчасти Suzuki Запчасти Tohatsu Запчасти Honda Контакты


Все разделы каталога запчастей на этот двигатель

назад Раздел:   вперёд

вернуться к списку узлов и деталей

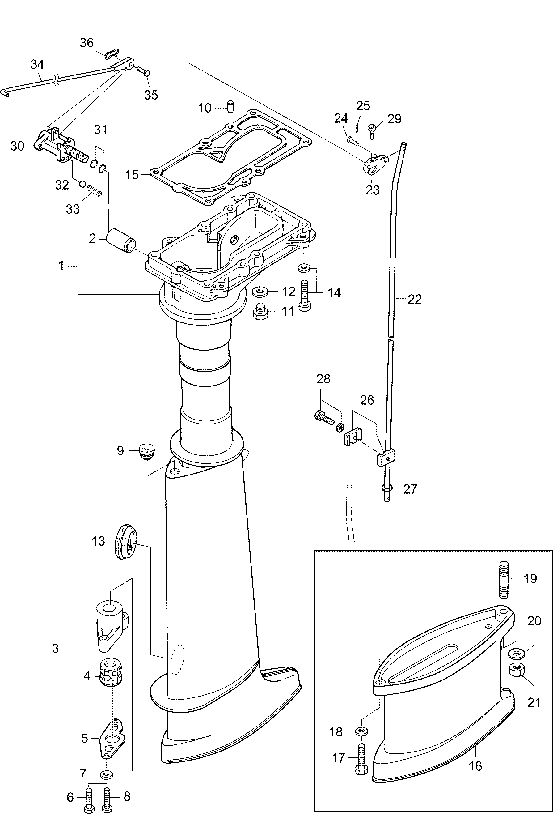
ДЕТАЛИРОВКА ДЛЯ МОДЕЛИ: EVINRUDE B6R4AAA

16-0 КОРПУС ВАЛА ПЕРЕДАЧИ | 16-0 DRIVESHAFT HOUSING;


Лодочный подвесной мотор EVINRUDE B6R4AAA  - Корпус вала передачи - driveshaft Housing

Номер на
рисунке
АртикулНаименованиеКол-во
на складе
Цена
1 5041056

Корпус вала передачи, в сбореembly. 15" Models (Drive Shaft Housing Assembly. 15" Models)

нет в наличии, поставок нет
1 5041057

Корпус вала передачи, в сбореembly. 20" Models (Drive Shaft Housing Assembly. 20" Models)

нет в наличии, поставок нет
2 5040006

*Врулка рычага переключения (Bushing Shift Lever)

нет в наличии, поставок нет
3 5040172

Втулка корпуса вала передачи Assembly. 20" Models (Drive Shaft Bushing Assembly. 20" Models)

нет в наличии, поставок нет
3 5040498

Втулка корпуса вала передачи Assembly. 25" Models (Drive Shaft Bushing Assembly. 25" Models)

нет в наличии, поставок нет
4 5040142

*Втулка корпуса вала передачи (Gray) 20" Models (Drive Shaft Bushing (Gray). 20" Models)

нет в наличии, поставок нет
4 5040405

*Втулка корпуса вала передачи ( коричневый) 25" Models (Drive Shaft Bushing ( Brown). 25" Models)

нет в наличии, поставок нет
5 5040173

Стопор вала передачи (Stopper Drive Shaft)

нет в наличии, поставок нет
6 5041034

Винт Precoated 5-25. 20, 25" Models (Screw Precoated 5-25. 20, 25" Models)

нет в наличии, поставок нет
7 5041667

Шайба (Washer)

нет в наличии, поставок нет
8 5041626

Винт. 15" Models (Screw. 15" Models)

нет в наличии, поставок нет
9 5040198

Пыльник колпачка тяги (Grommet Cam Rod)

нет в наличии, поставок нет
10 5040056

Шпонка 6-12 (Dowel Pin 6-12)

нет в наличии, поставок нет
11 5041578

Болт (Bolt)

нет в наличии, поставок нет
12 5040030

Прокладка 8.1-15-1 (Gasket 8.1-15-1)

нет в наличии, поставок нет
13 5040148

Пыльник 29.3 (Grommet 29.3)

нет в наличии, поставок нет
14 5041562

Болт (Bolt)

нет в наличии, поставок нет
15 5041016

Прокладка корпуса вала передачи (Drive Shaft Housing Gasket)

нет в наличии, поставок нет
16 5040228

Удлинитель корпуса. 25" Models (Extension Housing. 25" Models)

нет в наличии, поставок нет
17 5041582

Болт. 25" Models (Bolt. 25" Models)

нет в наличии, поставок нет
18 5041668

Шайба. 25" Models (Washer. 25" Models)

нет в наличии, поставок нет
19 5041581

Стержневой болт. 25" Models (Stud Bolt. 25" Models)

нет в наличии, поставок нет
20 5041669

Шайба. 25" Models (Washer. 25" Models)

нет в наличии, поставок нет
21 5041648

Гайка. 25" Models (Nut. 25" Models)

нет в наличии, поставок нет
22 5040201

Переключающая тяга (S) 15" Models (Shift Rod (S). 15" Models)

нет в наличии, поставок нет
22 5040880

Переключающая тяга (L) 20" Models (Shift Rod (L). 20" Models)

нет в наличии, поставок нет
23 5040203

Рычаг тяги переключения (Shift Rod Lever)

нет в наличии, поставок нет
24 5040202

Стопор переключающего рычага (Pin Shift Lever)

нет в наличии, поставок нет
25 5041698

Шплинт (Split Pin)

нет в наличии, поставок нет
26 5040204

Переключатель соединительной тяги Ass’y (Shift Rod Joint Ass’y)

нет в наличии, поставок нет
27 5041661

Шайба (Washer)

нет в наличии, поставок нет
28 5041532

Болт 5-16 (Bolt 5-16)

нет в наличии, поставок нет
29 5041579

Болт (Bolt)

нет в наличии, поставок нет
30 5040878

Рычаг переключения вала, в сбореembly (Shift Lever Shaft Assembly)

нет в наличии, поставок нет
31 5040010

Уплотнительное кольцо 1.9-8.8 (O-Ring 1.9-8.8)

нет в наличии, поставок нет
32 5040877

Керамический шарик 7.7 (Ceramic Ball 7.7)

нет в наличии, поставок нет
33 5040876

Пружина стопора рычага переключения (Spring Shift Lever Stopper)

нет в наличии, поставок нет
34 5040879

Тяга рычага переключения (Shift Lever Rod)

нет в наличии, поставок нет
35 5040881

Штифт, Рычаг тяги переключения (Pin, Shift Rod Lever)

нет в наличии, поставок нет
36 5040806

Шплинт (Snap Pin)

нет в наличии, поставок нет
evinrude

Время выполнения запроса 0.56486320495605 сек.


 
 

данный сайт носит информационный характер и не является публичной офертой

склад запчастей для водомоторной техники