| |
Все разделы каталога запчастей на этот двигатель
вернуться к списку узлов и деталей ДЕТАЛИРОВКА ДЛЯ МОДЕЛИ: EVINRUDE E115DCXAFH
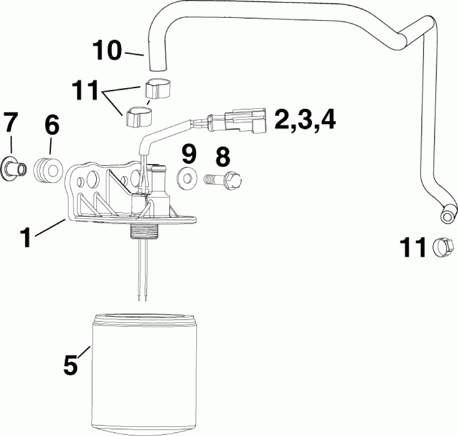
03-1 ТОПЛИВНЫЙ ФИЛЬТР | 03-1 FUEL FILTER;
Номер на рисунке | Артикул | Наименование | Кол-во на складе | Цена |
| 1 | 5007013 | Фильтр / Датчик в сборе, Fuel (FILTER / SENSOR Assy, Fuel) | нет в наличии, поставок нет |
| 2 | 3011148 | *CONTACT, Tab (CONTACT, Tab) | нет в наличии, поставок нет |
| 3 | 3011149 | *Сальник провода (SEAL, Wire) | нет в наличии, поставок нет |
| 4 | 3011154 | *Коннектор, два положения крышки (CONNECTOR, 2 Position cap) | нет в наличии, поставок нет |
| 5 | 0502906 | *Топливный фильтр (FILTER, Fuel) | нет в наличии, поставок нет |
| 5 | 5009676 | (последний код) FILTER AY,FUEL | нет в наличии, поставок нет |
| 6 | 0333040 | *ISOLATOR (ISOLATOR) | нет в наличии, поставок нет |
| 7 | 0338558 | *Проставка (SPACER) | нет в наличии, поставок нет |
| 8 | 0331025 | Винт, Топливный фильтр (SCREW, Fuel filter) | нет в наличии, поставок нет |
| 8 | 0308751 | (последний код) SCREW | нет в наличии, поставок нет |
| 9 | 0328703 | Шайба, Фильтр Винт (WASHER, Filter screw) | нет в наличии, поставок нет |
| 9 | 3852184 | (последний код) WASHER | нет в наличии, поставок нет |
| 10 | 0354068 | Шланг Фильтр to Пароотделитель (HOSE Filter to vapor separator) | нет в наличии, поставок нет |
| 11 | 0348839 | *Струбцина, 17 мм - Топливный фильтр (CLAMP, 17mm - fuel filter) | нет в наличии, поставок нет |

Время выполнения запроса 0.53261494636536 сек.
|
|