вконтакте

Контактный телефон: +7 (981) 121-46-93, +7 (800) 200-90-76 , Email: parts-katalog@yandex.ru, где купить

 
 

  Логин:

Пароль:

Регистрация

www.partskatalog.ru Все каталоги Запчасти Mercury Запчасти Suzuki Запчасти Tohatsu Запчасти Honda Контакты


ОРИГИНАЛЬНЫЕ ЗАПЧАСТИ НА ГАЗОНОКОСИЛКУ HONDA


Вернуться к началу выбора


Техника: бензиновые и электрические газонокосилки Honda UMK425

Модификация:   Honda UMK425E UEET

Установлен двигатель: Honda GX25T GY4

Модели с серийным номером двигателя: GCALT от 1000001 до 9999999

Модели с серийным номером рамы: HADF от 1100001 до 9999999

РЕЖИМЫ ПРОСМОТРА

Все узлы и детали

Двигатель

Внешние части


Выберите раздел


E-02 Крышка Головки Цилиндра/Комплект коленвала (1) (E-02 Cover Головки Цилиндра/Crankshaft (1))

E-02 Крышка Головки Цилиндра/Комплект коленвала (1) (E-02 Cover Головки Цилиндра/Crankshaft (1))

E-07 Коленвал / Поршень (1) (E-07 Crankshaft / Piston (1))

E-07 Коленвал / Поршень (1) (E-07 Crankshaft / Piston (1))

E-10 Шкив распредвала (E-10 Pulley Camshaft)

E-10 Шкив распредвала (E-10 Pulley Camshaft)

E-11 Барабанный стартер (1) (E-11 Recoil Starter (1))

E-11 Барабанный стартер (1) (E-11 Recoil Starter (1))

E-12 Крышка вентилятора / Сцепление (1) (E-12 Cover Fan / Clutch (1))

E-12 Крышка вентилятора / Сцепление (1) (E-12 Cover Fan / Clutch (1))

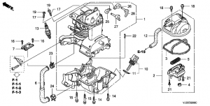
E-14 Карбюратор (1) (E-14 Carburetor (1))

E-14 Карбюратор (1) (E-14 Carburetor (1))

E-15 Воздухоочиститель (1) (E-15 Air Cleaner (1))

E-15 Воздухоочиститель (1) (E-15 Air Cleaner (1))

E-16 Глушитель (1) (E-16 Muffler (1))

E-16 Глушитель (1) (E-16 Muffler (1))

E-17 Топливный бак (1) (E-17 Fuel Tank (1))

E-17 Топливный бак (1) (E-17 Fuel Tank (1))

E-19 Маховик / Катушка зажигания (1) (E-19 Flywheel / Ignition Cool (1))

E-19 Маховик / Катушка зажигания (1) (E-19 Flywheel / Ignition Cool (1))

E-27 Крышка (E-27 Cover)

E-27 Крышка (E-27 Cover)

E-28 Этикетка (1) (E-28 Label (1))

E-28 Этикетка (1) (E-28 Label (1))

F-01-1 Труба руля (1) (F-01-1 Handlebar (1))

F-01-1 Труба руля (1) (F-01-1 Handlebar (1))

F-02-1 Картер (2) (F-02-1 CrankCase (2))

F-02-1 Картер (2) (F-02-1 CrankCase (2))

F-03 Труба рамы (F-03 Tube frames)

F-03 Труба рамы (F-03 Tube frames)

F-03-10 Крышка вентилятора (F-03-10 Fan Cover)

F-03-10 Крышка вентилятора (F-03-10 Fan Cover)

F-04 Нож Режущего Механизма/Режущий механизм с нейлоновыми ножами (1) (F-04 Blade Режущего Механизма/Cutting Mechanism With Nylon Blades (1))

F-04 Нож Режущего Механизма/Режущий механизм с нейлоновыми ножами (1) (F-04 Blade Режущего Механизма/Cutting Mechanism With Nylon Blades (1))

F-28 Этикетка (1) (F-28 Label (1))

F-28 Этикетка (1) (F-28 Label (1))

F-29 Инструмент (F-29 Instruments)

F-29 Инструмент (F-29 Instruments)

F-40 Плечевой ремень (F-40 Shoulder Strap)

F-40 Плечевой ремень (F-40 Shoulder Strap)


honda power
 
 

данный сайт носит информационный характер и не является публичной офертой

склад запчастей для водомоторной техники