Номер на рисунке | Артикул | Наименование | Кол-во на складе | Цена |
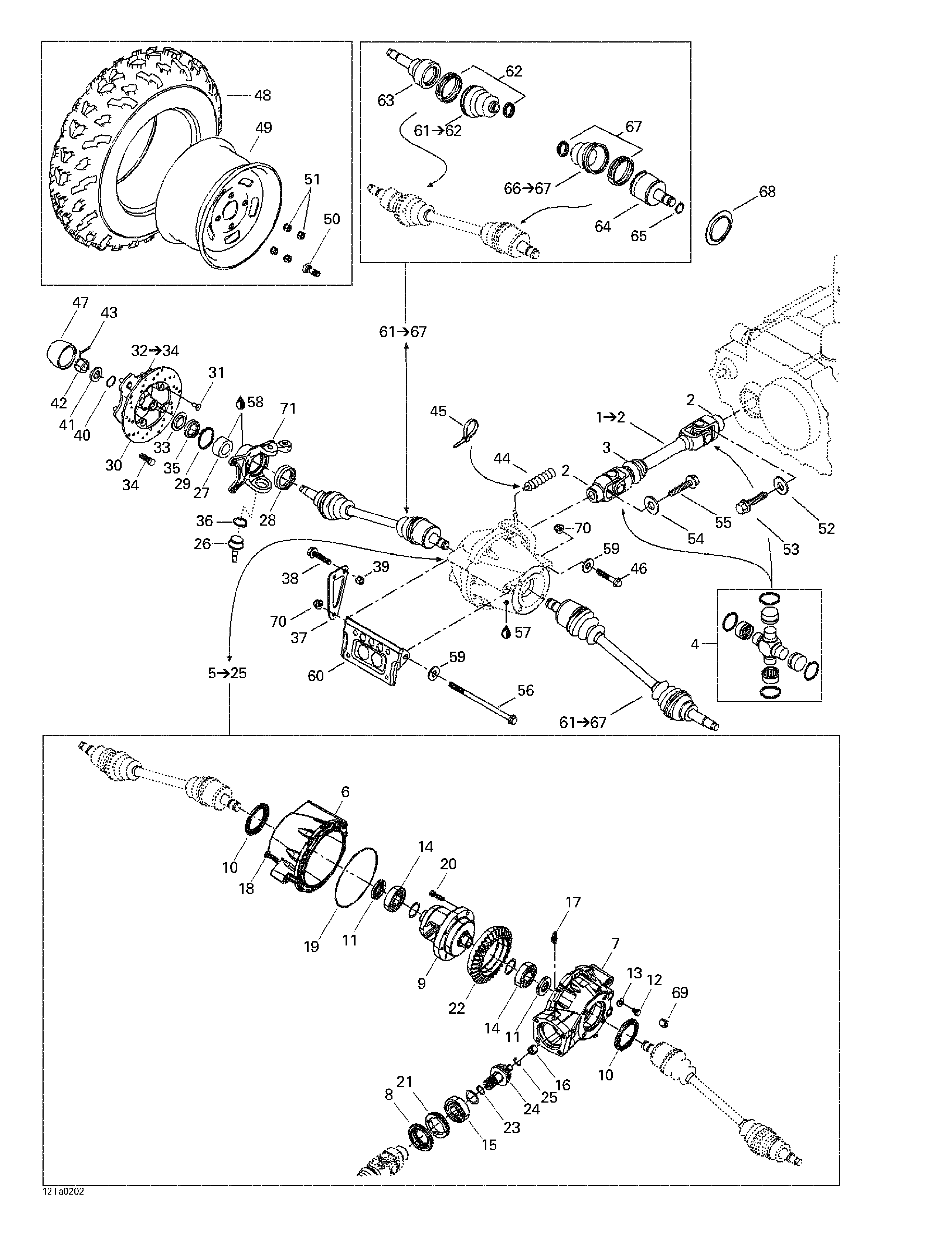
| 1 | 703500001 | Front Вал гребного винта Kit. Includes 1 - 2. (Front Propeller Shaft Kit. Includes 1 - 2.) | под заказ | по запросу | |
| 1 | 703500703 | (последний код) Front Вал гребного винта Kit. Includes 1 - 2. (Front Propeller Shaft Kit. Includes 1 - 2.) | под заказ | по запросу | |
| 2 | 705400036 | Wear Гильза (Wear Sleeve) | под заказ | 1460 руб. | |
| 3 | 705400051 | Защита (Protector) | под заказ | 1580 руб. | |
| 4 | 703500002 | Universal Соединитель Прокладка Kit (Universal Joint Packing Kit) | под заказ | по запросу | |
| 4 | 703000024 | (последний код) Universal Соединитель Прокладка Kit (Universal Joint Packing Kit) | под заказ | 5750 руб. | |
| 4 | AT-08532 | (не оригинальный аналог) Крестовина карданного вала BRP AT-08532 | под заказ | 2270 руб. |
| 5 | 705400003 | Front Differential в сборе. Includes 5 - 25. (Front Differential Assy. Includes 5 - 25.) | под заказ | 166400 руб. | |
| 5 | 705400026 | (последний код) Front Differential в сборе. Includes 5 - 25. (Front Differential Assy. Includes 5 - 25.) | под заказ | 30300 руб. | |
| 6 | 705400025 | Differential Колпачок (Differential Cap) | под заказ | 30300 руб. | |
| 6 | 705400003 | (последний код) Differential Колпачок (Differential Cap) | под заказ | 166400 руб. | |
| 7 | 705400026 | Differential Carrier (Differential Carrier) | под заказ | 30300 руб. | |
| 7 | 705400003 | (последний код) Differential Carrier (Differential Carrier) | под заказ | 166400 руб. | |
| 8 | 705400027 | Сальник (Oil Seal) | под заказ | 1950 руб. | |
| 8 | 705401481 | (последний код) Сальник (Oil Seal) | под заказ | 2300 руб. | |
| 8 | AT-03590 | (не оригинальный аналог) Комплект сальников редуктора BRP AT-03590 | под заказ | 1180 руб. |
| 9 | 705400004 | Differential (Differential) | под заказ | 84200 руб. | |
| 9 | 705400404 | (последний код) Differential (Differential) | под заказ | 110200 руб. | |
| 10 | 705400019 | Сальник (Oil Seal) | под заказ | 1860 руб. | |
| 11 | 705500081 | Сальник (Oil Seal) | под заказ | 1800 руб. | |
| 11 | 705500255 | (последний код) Сальник (Oil Seal) | под заказ | 1950 руб. | |
| 11 | AT-03588 | (не оригинальный аналог) Комплект сальников редуктора BRP AT-03588 | под заказ | 1130 руб. |
| 12 | 705500298 | Drain Заглушка (Drain Plug) | под заказ | 550 руб. | |
| 13 | 705500299 | Кольцевой сальник (Seal Ring) | под заказ | 580 руб. | |
| 14 | 705500080 | Шариковый подшипник (Ball Bearing) | под заказ | 3480 руб. | |
| 14 | 705500259 | (последний код) Шариковый подшипник (Ball Bearing) | под заказ | 3790 руб. | |
| 14 | AT-03A28 | (не оригинальный аналог) Ремкомплект редуктора BRP AT-03A28 | под заказ | 7260 руб. |
| 15 | 705500074 | Шариковый подшипник (Ball Bearing) | под заказ | 6650 руб. | |
| 16 | 705500077 | Игольчатый подшипник (Needle Bearing) | под заказ | 1410 руб. | |
| 17 | 705500124 | Vent Клапан (Vent Valve) | под заказ | 1230 руб. | |
| 18 | 705500088 | Винт (Screw) | под заказ | 1000 руб. | |
| 19 | 705500091 | Сальник (Seal) | под заказ | 1440 руб. | |
| 20 | 705500090 | Кольцо Шестерня Винт (Ring Gear Screw) | под заказ | 1000 руб. | |
| 21 | 705500072 | Гайка (Nut) | под заказ | по запросу | |
| 22 | 705500087 | Шестерня (36 Teeth) (Gear (36 Teeth)) | под заказ | 20200 руб. | |
| 22 | 705400192 | (последний код) Шестерня (36 Teeth) (Gear (36 Teeth)) | под заказ | 25800 руб. | |
| 23 | 705500073 | Уплотнительное кольцо (O-Ring) | под заказ | 530 руб. | |
| 24 | 705500076 | Шестерня (10 Teeth) (Gear (10 Teeth)) | под заказ | 21500 руб. | |
| 25 | 705500102 | Стопорное кольцо (Retaining Ring) | под заказ | 550 руб. | |
| 26 | 706200091 | Шаровое соединение (Ball Joint) | под заказ | 2700 руб. | |
| 26 | 706200653 | (последний код) Шаровое соединение (Ball Joint) | под заказ | 3790 руб. | |
| 26 | AT-08810 | (не оригинальный аналог) Шаровая опора BRP AT-08810 | под заказ | 2040 руб. |
| 27 | 705400088 | Angle Подшипник (Angle Bearing) | под заказ | 5110 руб. | |
| 27 | 293350040 | (последний код) Angle Подшипник (Angle Bearing) | под заказ | 5560 руб. | |
| 27 | AT-06631 | (не оригинальный аналог) Ступичный подшипник BRP AT-06631 | под заказ | 3140 руб. |
| 28 | 293250090 | Сальник (Seal) | под заказ | 970 руб. | |
| 29 | 293370019 | Стопорное кольцо (Circlip) | под заказ | 450 руб. | |
| 30 | 705600171 | тормоз Disk 205 mm (Brake Disk 205 mm) | под заказ | 8650 руб. | |
| 30 | 705600003 | (последний код) тормоз Disk 205 mm (Brake Disk 205 mm) | под заказ | 6770 руб. | |
| 31 | 235381646 | Винт M8 x 16 (Scotch Рукоятка) (Screw M8 x 16 (Scotch Grip)) | под заказ | 290 руб. | |
| 31 | 250000025 | (последний код) Винт M8 x 16 (Scotch Рукоятка) (Screw M8 x 16 (Scotch Grip)) | под заказ | 230 руб. | |
| 32 | 705400090 | Front Wheel Hub. Includes 32 - 34. (Front Wheel Hub. Includes 32 - 34.) | под заказ | 33800 руб. | |
| 32 | 705500634 | (последний код) Front Wheel Hub. Includes 32 - 34. (Front Wheel Hub. Includes 32 - 34.) | под заказ | 43200 руб. | |
| 33 | 705500100 | Wear Гильза (Wear Sleeve) | под заказ | 1580 руб. | |
| 34 | 211300020 | Шпилька Wheel M10 x 30 (Stud Wheel M10 x 30) | под заказ | по запросу | |
| 34 | 250300045 | (последний код) Шпилька Wheel M10 x 30 (Stud Wheel M10 x 30) | под заказ | 290 руб. | |
| 35 | 705500099 | Сальник (Seal) | под заказ | 1960 руб. | |
| 35 | 705500015 | (последний код) Сальник (Seal) | под заказ | 1460 руб. | |
| 36 | 293370009 | Стопорное кольцо (Circlip) | под заказ | 90 руб. | |
| 37 | 705400069 | Кронштейн, differential (Bracket, differential) | под заказ | 1230 руб. | |
| 37 | 705400052 | (последний код) Кронштейн, differential (Bracket, differential) | под заказ | 1010 руб. | |
| 38 | 207682044 | Фланецd Шестигранный винт M8 x 20 (Flanged Hex. Screw M8 x 20) | под заказ | 290 руб. | |
| 38 | 732601285 | (последний код) Фланецd Шестигранный винт M8 x 20 (Flanged Hex. Screw M8 x 20) | под заказ | 230 руб. | |
| 39 | 233281414 | Фланецd Гайка M8 (Flanged Nut M8) | под заказ | 290 руб. | |
| 39 | M33201 | (последний код) | под заказ | по запросу | |
| 40 | 705500271 | Уплотнительное кольцо (O-Ring) | под заказ | 420 руб. | |
| 40 | 293300052 | (последний код) Уплотнительное кольцо (O-Ring) | под заказ | 310 руб. | |
| 41 | 250200019 | Шайба (Washer) | под заказ | 860 руб. | |
| 41 | 211200049 | (последний код) Шайба (Washer) | под заказ | 680 руб. | |
| 42 | 232291413 | Hex. Castellated Гайка M18 (Hex. Castellated Nut M18) | под заказ | 750 руб. | |
| 42 | 250100047 | (последний код) Hex. Castellated Гайка M18 (Hex. Castellated Nut M18) | под заказ | 740 руб. | |
| 43 | 250400016 | Шплинт (Cotter Pin) | под заказ | 190 руб. | |
| 43 | 250400036 | (последний код) Шплинт (Cotter Pin) | под заказ | 290 руб. | |
| 44 | 705400066 | Rubber Bellows (Rubber Bellows) | под заказ | 680 руб. | |
| 44 | 705400352 | (последний код) Rubber Bellows (Rubber Bellows) | под заказ | 860 руб. | |
| 44 | AT-MZ1208 | (не оригинальный аналог) Сапун редуктора BRP AT-MZ1208 | под заказ | 600 руб. |
| 45 | 293750001 | Tie Rap, 94 mm (Tie Rap, 94 mm) | под заказ | 90 руб. | |
| 45 | 420866718 | (последний код) Tie Rap, 94 mm (Tie Rap, 94 mm) | под заказ | 110 руб. | |
| 46 | 207506044 | Hex. Фланецd Винт M10 x 60 (Scotch Рукоятка) (Hex. Flanged Screw M10 x 60 (Scotch Grip)) | под заказ | 580 руб. | |
| 47 | 705400012 | Wheel Колпачок (Wheel Cap) | под заказ | 760 руб. | |
| 48 | 705400009 | Front Tire (Front Tire) | под заказ | 8620 руб. | |
| 48 | 705401625 | (последний код) Front Tire (Front Tire) | под заказ | 13030 руб. | |
| 49 | 705400010 | Front Rim (Front Rim) | под заказ | 4850 руб. | |
| 49 | 705400290 | (последний код) Front Rim (Front Rim) | под заказ | 11560 руб. | |
| 50 | 705400053 | Клапан (Rim) (Valve (Rim)) | под заказ | по запросу | |
| 51 | 705400013 | Гайка M10 (Nut M10) | под заказ | 610 руб. | |
| 52 | 211200041 | Шайба (Washer) | под заказ | 290 руб. | |
| 53 | 207581646 | Фланецd Шестигранный винт M8 x 16 (Scotch Рукоятка) (Flanged Hex. Screw M8 x 16 (Scotch Grip)) | под заказ | 290 руб. | |
| 54 | 250200014 | плоский Шайба (Flat Washer) | под заказ | 860 руб. | |
| 54 | 705400033 | (последний код) плоский Шайба (Flat Washer) | под заказ | 680 руб. | |
| 55 | 250000060 | Фланецd Винт M10 x 16 (Scotch Рукоятка) (Flanged Screw M10 x 16 (Scotch Grip)) | под заказ | 290 руб. | |
| 55 | 705400034 | (последний код) Фланецd Винт M10 x 16 (Scotch Рукоятка) (Flanged Screw M10 x 16 (Scotch Grip)) | под заказ | 230 руб. | |
| 56 | 250000024 | Фланецd Шестигранный винт M10 x 200 (Scotch Рукоятка) (Flanged Hex. Screw M10 x 200 (Scotch Grip)) | под заказ | 860 руб. | |
| 57 | 293600011 | красныйline Помпа Oil, 75W90, 12 x 6 oz (Redline Pump Oil, 75W90, 12 x 6 oz) | под заказ | 1390 руб. | |
| 57 | 619590095 | (последний код) красныйline Помпа Oil, 75W90, 12 x 6 oz (Redline Pump Oil, 75W90, 12 x 6 oz) | под заказ | 1650 руб. | |
| 58 | 293550010 | Synthtic Смазка, 400 g (Synthtic Grease, 400 g) | под заказ | 2490 руб. | |
| 58 | 293550018 | (последний код) Synthtic Смазка, 400 g (Synthtic Grease, 400 g) | под заказ | 1950 руб. | |
| 59 | 250200003 | плоский Шайба (Flat Washer) | под заказ | по запросу | |
| 60 | 705400068 | Кронштейн (Differential) (Bracket (Differential)) | под заказ | 1310 руб. | |
| 61 | 705400125 | R.H. CV Соединитель. Includes 61 - 67. (R.H. CV Joint. Includes 61 - 67.) | под заказ | 66100 руб. | |
| | 705400124 | L.H. CV Соединитель (L.H. CV Joint) | под заказ | 65800 руб. | |
| 61 | 705400127 | Wheel Boot Kit. Includes 61 - 62. (Wheel Boot Kit. Includes 61 - 62.) | под заказ | 3400 руб. | |
| 61 | AT-08525-1 | (не оригинальный аналог) Пыльник шрус AT-08525-1 | под заказ | 1480 руб. |
| 62 | 705400063 | Струбцина (big) (Clamp (big)) | под заказ | 160 руб. | |
| | 705400064 | Струбцина (Small) (Clamp (Small)) | под заказ | 580 руб. | |
| 63 | 705400093 | CV Соединитель (CV Joint) | под заказ | 12760 руб. | |
| 64 | 705400128 | R.H. Plunging Соединитель (R.H. Plunging Joint) | под заказ | 51700 руб. | |
| 64 | 705400125 | (последний код) R.H. Plunging Соединитель (R.H. Plunging Joint) | под заказ | 66100 руб. | |
| | 705400129 | L.H. Plunging Соединитель (L.H. Plunging Joint) | под заказ | 48800 руб. | |
| | 705400124 | (последний код) L.H. Plunging Соединитель (L.H. Plunging Joint) | под заказ | 65800 руб. | |
| 65 | 705400042 | Стопорное кольцо (Circlip) | под заказ | 200 руб. | |
| 66 | 705400126 | Differential Boot Kit. Includes 66 - 67. (Differential Boot Kit. Includes 66 - 67.) | под заказ | 4560 руб. | |
| 66 | AT-08541 | (не оригинальный аналог) Пыльник шрус AT-08541 | под заказ | 1460 руб. |
| 67 | 705400064 | Струбцина (Small) (Clamp (Small)) | под заказ | 580 руб. | |
| | 705400065 | Струбцина (Big) (Clamp (Big)) | под заказ | 460 руб. | |
| 68 | 705400016 | Wear Гильза (Wear Sleeve) | под заказ | 2610 руб. | |
| 69 | 705500143 | Filler / Level Заглушка (Filler/Level Plug) | под заказ | 820 руб. | |
| 69 | 705500092 | (последний код) Filler / Level Заглушка (Filler/Level Plug) | под заказ | 640 руб. | |
| 70 | 233101414 | Elastic Фланецd Stop Гайка M10 (Elastic Flanged Stop Nut M10) | под заказ | 290 руб. | |
| 70 | 711242851 | (последний код) Elastic Фланецd Stop Гайка M10 (Elastic Flanged Stop Nut M10) | под заказ | 230 руб. | |
| 71 | 709400095 | Knuckle RH (Knuckle RH) | под заказ | 16330 руб. | |
| | 709400097 | Knuckle LH (Knuckle LH) | под заказ | 16330 руб. | |