вконтакте

Контактный телефон: +7 (981) 121-46-93, +7 (800) 200-90-76 , Email: parts-katalog@yandex.ru, где купить

 
 

  Логин:

Пароль:

Регистрация

www.partskatalog.ru Все каталоги Запчасти Mercury Запчасти Suzuki Запчасти Tohatsu Запчасти Honda Контакты


Выбрать другую модель

назад Раздел:   вперёд

вернуться к списку узлов и деталей

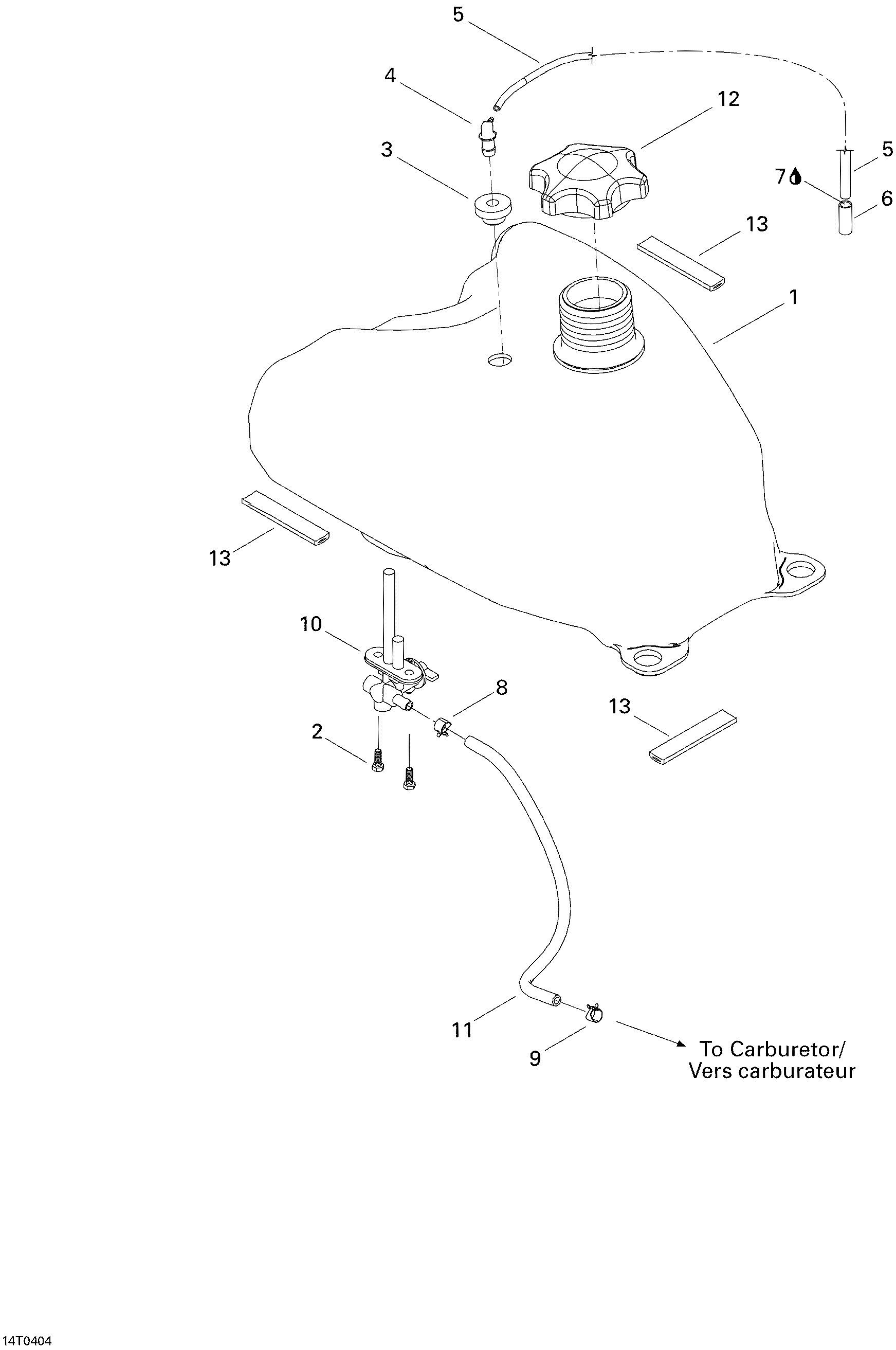
ДЕТАЛИРОВКА ДЛЯ МОДЕЛИ: BRP ATV DS 650/DS 650 Baja/X, 2004

Раздел: Топливная система | Fuel System


BRP DS 650/DS 650 Baja/X, 2004 - Топливная система

Номер на
рисунке
АртикулНаименованиеКол-во
на складе
Цена
1 709000010

Топливный бак (Fuel Tank)

под заказ25500 руб.
2 207151444

Hex Винт M5 X 14 (Hex Screw M5 X 14)

под заказ290 руб.
2 222051465

(последний код) Hex Винт M5 X 14 (Hex Screw M5 X 14)

под заказ230 руб.
3 570045500

Пыльник (Grommet)

под заказ430 руб.
4 414814100

Male Коннектор (Male Connector)

под заказ300 руб.
5 415080100

Line (Line)

под заказ190 руб.
5 420256032

(последний код) Line (Line)

под заказ150 руб.
6 415110000

Polyurathane Шланг 5.2 mm (Polyurathane Hose 5.2 mm)

под заказ280 руб.
6 709000017

(последний код) Polyurathane Шланг 5.2 mm (Polyurathane Hose 5.2 mm)

под заказ220 руб.
7 413705800

Loctite 414, 29.5 Cc (Loctite 414, 29.5 Cc)

под заказ2430 руб.
8 414655700

Пружина Зажим (Spring Clip)

под заказ140 руб.
8 27414655700

(последний код) Пружина Зажим (Spring Clip)

под заказ110 руб.
9 293650125

Oetiker Струбцина (Oetiker Clamp)

под заказ290 руб.
9 420853303

(последний код) Oetiker Струбцина (Oetiker Clamp)

под заказ230 руб.
10 709000011

Fuel Клапан (Fuel Valve)

под заказ4080 руб.
11 513033022

Шланг 8 mm (Прибор) (Hose 8 mm (Meter))

под заказ1150 руб.
11 39049

(последний код) Шланг 8 mm (Прибор) (Hose 8 mm (Meter))

под заказ900 руб.
12 513033024

Fuel Колпачок (Fuel Cap)

под заказпо запросу
12 572073900

(последний код) Fuel Колпачок (Fuel Cap)

под заказпо запросу
12 AT-07559

   (не оригинальный аналог) Крышка топливного бака универсальная AT-07559

под заказ3830 руб.
13 293200003

Сальник (Прибор) (Seal (Meter))

под заказ720 руб.
13 415129559

(последний код) Сальник (Прибор) (Seal (Meter))

под заказпо запросу
brp atv

Время выполнения запроса 1.5493450164795 сек.


 
 

данный сайт носит информационный характер и не является публичной офертой

склад запчастей для водомоторной техники