вконтакте

Контактный телефон: +7 (981) 121-46-93, +7 (800) 200-90-76 , Email: parts-katalog@yandex.ru, где купить

 
 

  Логин:

Пароль:

Регистрация

www.partskatalog.ru Все каталоги Запчасти Mercury Запчасти Suzuki Запчасти Tohatsu Запчасти Honda Контакты



УВАЖАЕМЫЕ КЛИЕНТЫ!
C 19 ДЕКАБРЯ 2025 ПО 02 МАРТА 2026 ГОДА ОТДЕЛ ЗАПЧАСТЕЙ И СЕРВИС РАБОТАТЬ НЕ БУДУТ
ПРОДАЖА ЛОДОЧНЫХ МОТОРОВ В ШТАТНОМ РЕЖИМЕ
ОБ ИЗМЕНЕНИЯХ В ГРАФИКЕ РАБОТЫ ЧИТАЙТЕ НА САЙТА




Выбрать другую модель

назад Раздел:   вперёд

вернуться к списку узлов и деталей

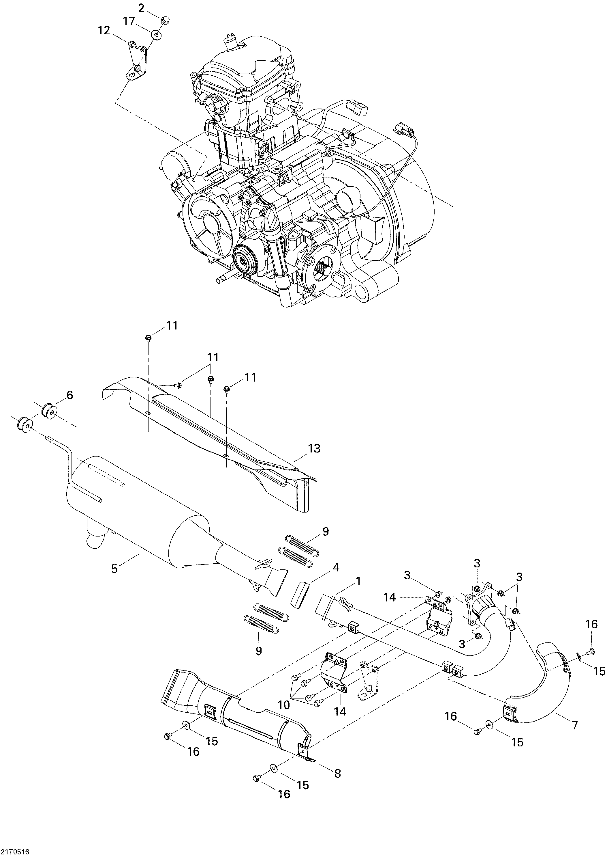
ДЕТАЛИРОВКА ДЛЯ МОДЕЛИ: BRP ATV Traxter CVT (500, 650, 650 XT), 2005

Раздел: Выхлопная система | Exhaust System


Квадроцикл - Выхлопная система

Номер на
рисунке
АртикулНаименованиеКол-во
на складе
Цена
1 707600084

Tuned Трубка (Tuned Pipe)

под заказ19960 руб.
2 207581646

Фланецd Винт M8 X 16 (scotch Рукоятка) (Flanged Screw M8 X 16 (scotch Grip))

под заказ290 руб.
3 233061414

Hexagonal Фланец Гайка M6 (Hexagonal Flange Nut M6)

под заказ290 руб.
3 442110

(последний код) Hexagonal Фланец Гайка M6 (Hexagonal Flange Nut M6)

под заказ230 руб.
4 707600164

Трубка Прокладка (Pipe Gasket)

под заказ1720 руб.
5 707600230

Tuned Трубка (Tuned Pipe)

под заказ49700 руб.
5 707600225

(последний код) Tuned Трубка (Tuned Pipe)

под заказ38900 руб.
6 707600012

Anti-Vibration Rubber (Anti-Vibration Rubber)

под заказ370 руб.
6 707600702

(последний код) Anti-Vibration Rubber (Anti-Vibration Rubber)

под заказ580 руб.
7 707600167

Heat Shield (Heat Shield)

под заказ2720 руб.
8 707600168

Heat Shield (Heat Shield)

под заказ2150 руб.
9 707600177

Пружина (Spring)

под заказ930 руб.
10 207661646

Hex Фланец Винт M6 X 16 (Hex Flange Screw M6 X 16)

под заказ290 руб.
11 210261080

Hex Фланецd дляming Винт M6 X 10 (Hex Flanged Forming Screw M6 X 10)

под заказ250 руб.
12 707600131

Выхлоп Sвышеport (Exhaust Support)

под заказ1090 руб.
13 707600076

Heat Shield (Heat Shield)

под заказ2580 руб.
13 707600051

(последний код) Heat Shield (Heat Shield)

под заказ2020 руб.
14 707600165

Выхлоп Струбцина (Exhaust Clamp)

под заказ690 руб.
15 224060201

плоский Шайба (Flat Washer)

под заказ280 руб.
15 224060200

(последний код) плоский Шайба (Flat Washer)

под заказ220 руб.
16 250000073

Hex Фланецd Винт M6 X 12 (Hex Flanged Screw M6 X 12)

под заказ610 руб.
17 234082410

плоский Шайба 8 mm (Flat Washer 8 mm)

под заказ270 руб.
17 702000064

(последний код) плоский Шайба 8 mm (Flat Washer 8 mm)

под заказ210 руб.
brp atv

Время выполнения запроса 1.627100944519 сек.


 
 

данный сайт носит информационный характер и не является публичной офертой

склад запчастей для водомоторной техники