вконтакте

Контактный телефон: +7 (981) 121-46-93, +7 (800) 200-90-76 , Email: parts-katalog@yandex.ru, где купить

 
 

  Логин:

Пароль:

Регистрация

www.partskatalog.ru Все каталоги Запчасти Mercury Запчасти Suzuki Запчасти Tohatsu Запчасти Honda Контакты



УВАЖАЕМЫЕ КЛИЕНТЫ!
C 19 ДЕКАБРЯ 2025 ПО 02 МАРТА 2026 ГОДА ОТДЕЛ ЗАПЧАСТЕЙ И СЕРВИС РАБОТАТЬ НЕ БУДУТ
ПРОДАЖА ЛОДОЧНЫХ МОТОРОВ В ШТАТНОМ РЕЖИМЕ
ОБ ИЗМЕНЕНИЯХ В ГРАФИКЕ РАБОТЫ ЧИТАЙТЕ НА САЙТА




Выбрать другую модель

назад Раздел:   вперёд

вернуться к списку узлов и деталей

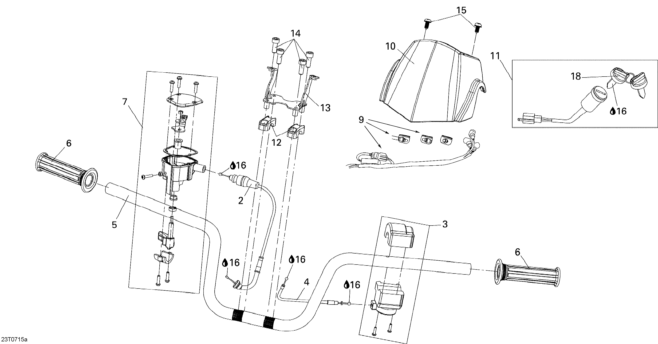
ДЕТАЛИРОВКА ДЛЯ МОДЕЛИ: BRP ATV DS 250 NA / Inter, 2007

Раздел: Handlebar | Handlebar


Квадроцикл  DS 250 NA / Inter, 2007 - Handlebar

Номер на
рисунке
АртикулНаименованиеКол-во
на складе
Цена
2 S17910RCA000

Тросик дросселя (Throttle Cable)

под заказ2120 руб.
3 S35200RCB000

Multifunction Переключатель в сборе. (Multifunction Switch Assy.)

под заказ13560 руб.
4 S44850RCA000

Choke Кабели (Choke Cable)

под заказ1210 руб.
5 S53100RCA000

Handle Bar (Handle Bar)

под заказпо запросу
6 S53166N01000

Handle Рукоятка (Handle Grip)

под заказ1360 руб.
7 S53190RCA000

Рычаг дросселя в сборе (Throttle Lever Assy)

под заказ8770 руб.
9 S37224RCB000

Position Light Жгут проводов в сборе (Position Light Harness Assy)

под заказ10900 руб.
10 S53210RCB000

Рулевая система Крышка (Steering Cover)

под заказ1230 руб.
11 S35010RCB000

Ignition Переключатель и Ключ Set (Ignition Switch And Key Set)

под заказ8910 руб.
12 S53131RCA000

Handle Bar верхний Струбцина (Handle Bar Upper Clamp)

под заказпо запросу
13 S53106RCB000

Рулевая система Крышка Sвышеport (Steering Cover Support)

под заказ1840 руб.
14 S967000804007

Socket Болт M8 X 40 (Socket Bolt M8 X 40)

под заказ300 руб.
15 S938910501207

Фланецd Болт M5 X 12 (Flanged Bolt M5 X 12)

под заказ290 руб.
16 293550004

Dielectric Смазка, 150 g (Dielectric Grease, 150 g)

под заказ4740 руб.
16 747018002

(последний код) Dielectric Смазка, 150 g (Dielectric Grease, 150 g)

под заказ3710 руб.
18 S35115RCA0000A

Blank Ignition Ключ A (Blank Ignition Key A)

под заказ1860 руб.
18 S35115RCA0000B

Blank Ignition Ключ B (Blank Ignition Key B)

под заказ1860 руб.
18 S35115RCA0000C

Blank Ignition Ключ C (Blank Ignition Key C)

под заказ1860 руб.
18 S35115RCA0000D

Blank Ignition Ключ D (Blank Ignition Key D)

под заказ1720 руб.
brp atv

Время выполнения запроса 2.6375079154968 сек.


 
 

данный сайт носит информационный характер и не является публичной офертой

склад запчастей для водомоторной техники