вконтакте

Контактный телефон: +7 (981) 121-46-93, +7 (800) 200-90-76 , Email: parts-katalog@yandex.ru, где купить

 
 

  Логин:

Пароль:

Регистрация

www.partskatalog.ru Все каталоги Запчасти Mercury Запчасти Suzuki Запчасти Tohatsu Запчасти Honda Контакты



УВАЖАЕМЫЕ КЛИЕНТЫ!
C 19 ДЕКАБРЯ 2025 ПО 02 МАРТА 2026 ГОДА ОТДЕЛ ЗАПЧАСТЕЙ И СЕРВИС РАБОТАТЬ НЕ БУДУТ
ПРОДАЖА ЛОДОЧНЫХ МОТОРОВ В ШТАТНОМ РЕЖИМЕ
ОБ ИЗМЕНЕНИЯХ В ГРАФИКЕ РАБОТЫ ЧИТАЙТЕ НА САЙТА




Выбрать другую модель

назад Раздел:   вперёд

вернуться к списку узлов и деталей

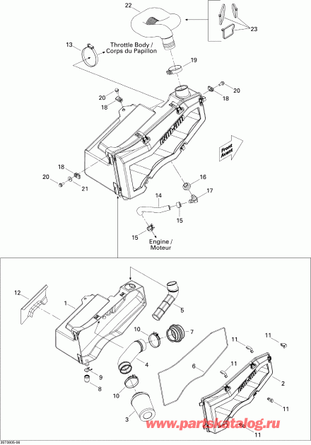
ДЕТАЛИРОВКА ДЛЯ МОДЕЛИ: BRP ATV Outlander MAX 400 EFI XT, 2008

Раздел: Air Впуск глушителя | Air Intake Silencer


модификация Outlander MAX 400 EFI XT, 2008 - Air Впуск глушителя

Номер на
рисунке
АртикулНаименованиеКол-во
на складе
Цена
1 707800262

Air Впуск глушителя Основание (Air Intake Silencer Base)

под заказ5070 руб.
2 707800263

Air Впуск крышки глушителя (Air Intake Silencer Cover)

под заказ2610 руб.
3 707800264

Воздушный фильтр (Air Filter)

под заказ2000 руб.
4 707800265

Rigid Адаптер (Rigid Adaptor)

под заказ920 руб.
5 707800266

Front Система впуска Адаптер (Front Intake Adaptor)

под заказ2150 руб.
6 293250178

Прокладка (Gasket)

под заказ1210 руб.
7 707800177

Система впуска Адаптер (Intake Adaptor)

под заказ1690 руб.
8 707800080

Drain Трубка (Drain Tube)

под заказ760 руб.
9 707800278

Фиксатор Зажим (Retainer Clip)

под заказ1190 руб.
10 293650175

Струбцина (Clamp)

под заказ1060 руб.
11 707800249

Крышка Кронштейн (Cover Bracket)

под заказ920 руб.
12 707800276

Heat Защита (Heat Protector)

под заказ1380 руб.
13 293650091

Norma Струбцина (Norma Clamp)

под заказ650 руб.
13 293650206

(последний код) Norma Струбцина (Norma Clamp)

под заказпо запросу
14 707800268

Vent Шланг (Vent Hose)

под заказ1690 руб.
15 293650110

Norma Струбцина (Norma Clamp)

под заказ430 руб.
16 570273900

Пыльник (Grommet)

под заказ980 руб.
16 707800347

(последний код) Пыльник (Grommet)

под заказ1150 руб.
16 SM-07402

   (не оригинальный аналог) Втулка топливной системы BRP SM-07402

под заказ140 руб.
17 414523600

Elbow Fitting (Elbow Fitting)

под заказ430 руб.
17 28414523600

(последний код) Elbow Fitting (Elbow Fitting)

под заказ340 руб.
18 250000048

Panel Гайка M6 X 1.0 (Panel Nut M6 X 1.0)

под заказ250 руб.
18 250100113

(последний код) Panel Гайка M6 X 1.0 (Panel Nut M6 X 1.0)

под заказ250 руб.
19 293650160

Gemi Струбцина (Gemi Clamp)

под заказ760 руб.
19 293650106

(последний код) Gemi Струбцина (Gemi Clamp)

под заказ560 руб.
20 207661646

Шестигранный флавцевый винт M6 X 16 (Hex. Flange Screw M6 X 16)

под заказ290 руб.
21 391302000

плоский Шайба (Flat Washer)

под заказ210 руб.
21 250200082

(последний код) плоский Шайба (Flat Washer)

под заказ270 руб.
22 707800287

Vent Шланг (Vent Hose)

под заказ1840 руб.
23 293750008

Tie-Rap 350 mm (Tie-Rap 350 mm)

под заказ140 руб.
23 748001001

(последний код) Tie-Rap 350 mm (Tie-Rap 350 mm)

под заказ110 руб.
brp atv

Время выполнения запроса 1.4628200531006 сек.


 
 

данный сайт носит информационный характер и не является публичной офертой

склад запчастей для водомоторной техники