| |
Выбрать другую модель
вернуться к списку узлов и деталей ДЕТАЛИРОВКА ДЛЯ МОДЕЛИ: BRP ATV Mini DS X 90cc 4T Black, 2008
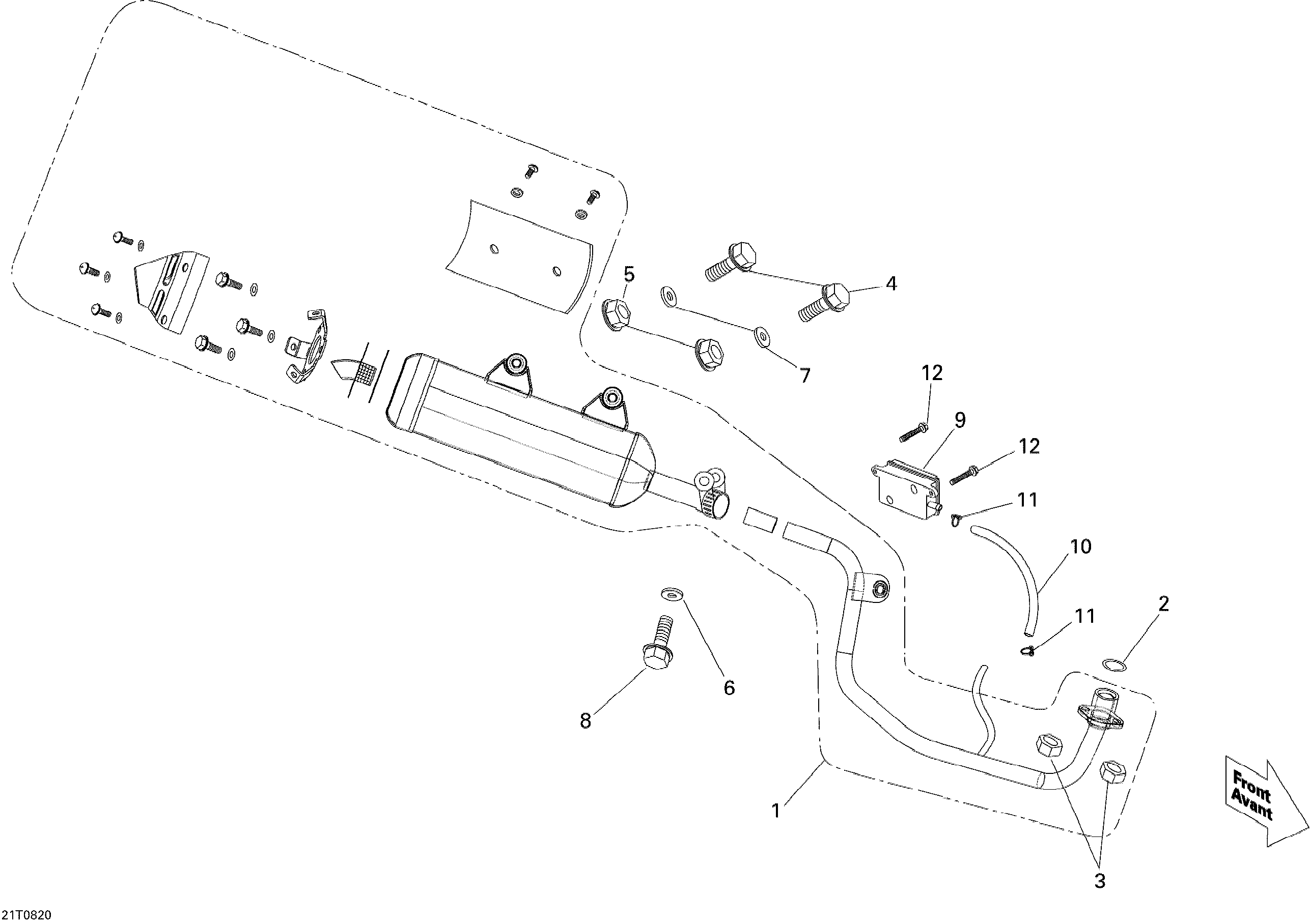
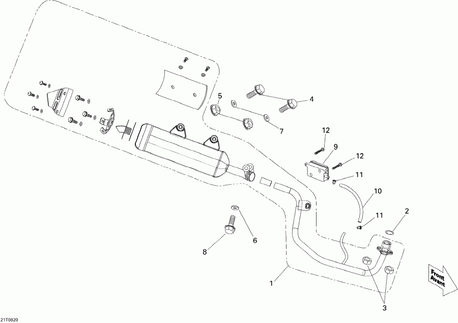
Раздел: Выхлопная система | Exhaust System
Номер на рисунке | Артикул | Наименование | Кол-во на складе | Цена |
| 1 | V18301DGF00H | Muffler (Muffler) | под заказ | по запросу | |
| 2 | V18291MAD000 | Прокладка выхлопной трубы (Exhaust Pipe Gasket) | под заказ | 1210 руб. | |
| 3 | V9400106000 | Hex. Гайка (Hex. Nut) | под заказ | по запросу | |
| 4 | 207683544 | Hex. Фланецd Винт M8 X 35 (Hex. Flanged Screw M8 X 35) | под заказ | 290 руб. | |
| 5 | 232581414 | Hex. Elastic Гайка M8 (Hex. Elastic Nut M8) | под заказ | 140 руб. | |
| 5 | 420942030 | (последний код) Hex. Elastic Гайка M8 (Hex. Elastic Nut M8) | под заказ | 110 руб. | |
| 6 | 234181601 | Шайба с блокировкой 8 mm (Lock Washer 8 mm) | под заказ | 290 руб. | |
| 6 | 213100001 | (последний код) Шайба с блокировкой 8 mm (Lock Washer 8 mm) | под заказ | 230 руб. | |
| 7 | V941010817016 | Шайба (Washer) | под заказ | 860 руб. | |
| 8 | 207684044 | Hex. Фланецd Винт M8 X 40 (Hex. Flanged Screw M8 X 40) | под заказ | 290 руб. | |
| 8 | 732601307 | (последний код) Hex. Фланецd Винт M8 X 40 (Hex. Flanged Screw M8 X 40) | под заказ | 230 руб. | |
| 9 | V18350DGF000 | Воздушный фильтр Box (Air Cleaner Box) | под заказ | по запросу | |
| 10 | V18401DGF030 | Air Шланг (Air Hose) | под заказ | по запросу | |
| 11 | V0940115101 | Зажим (Clip) | под заказ | 450 руб. | |
| 12 | 207661644 | Hex. Фланецd Винт M6 X 16 (Hex. Flanged Screw M6 X 16) | под заказ | 280 руб. | |

Время выполнения запроса 1.8058428764343 сек.
|
|