вконтакте

Контактный телефон: +7 (981) 121-46-93, +7 (800) 200-90-76 , Email: parts-katalog@yandex.ru, где купить

 
 

  Логин:

Пароль:

Регистрация

www.partskatalog.ru Все каталоги Запчасти Mercury Запчасти Suzuki Запчасти Tohatsu Запчасти Honda Контакты



УВАЖАЕМЫЕ КЛИЕНТЫ!
C 19 ДЕКАБРЯ 2025 ПО 02 МАРТА 2026 ГОДА ОТДЕЛ ЗАПЧАСТЕЙ И СЕРВИС РАБОТАТЬ НЕ БУДУТ
ПРОДАЖА ЛОДОЧНЫХ МОТОРОВ В ШТАТНОМ РЕЖИМЕ
ОБ ИЗМЕНЕНИЯХ В ГРАФИКЕ РАБОТЫ ЧИТАЙТЕ НА САЙТА




Выбрать другую модель

назад Раздел:   вперёд

вернуться к списку узлов и деталей

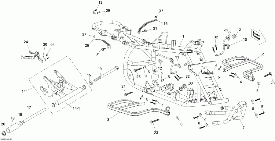
ДЕТАЛИРОВКА ДЛЯ МОДЕЛИ: BRP ATV DS 70, 2009

Раздел: Рама | Frame


Квадроцикл BRP DS 70, 2009 раздел - Рама

Номер на
рисунке
АртикулНаименованиеКол-во
на складе
Цена
1 V50100DGF290

Рама (Frame)

под заказпо запросу
2 V50099DGF050BK

LH Footrest Sвышеport (LH Footrest Support)

под заказпо запросу
3 V50107DGF040BK

RH Footrest Sвышеport (RH Footrest Support)

под заказпо запросу
4 207683544

Hex. Фланецd Винт M8 X 35 (Hex. Flanged Screw M8 X 35)

под заказ290 руб.
5 232581414

Hex. Elastic Гайка M8 (Hex. Elastic Nut M8)

под заказ140 руб.
5 420942030

(последний код) Hex. Elastic Гайка M8 (Hex. Elastic Nut M8)

под заказ110 руб.
6 V64312DGF010

Заглушка (Plug)

под заказпо запросу
7 V50270DGF030BK

Front Бампер (Front Bumper)

под заказпо запросу
8 V9600008014

Hexagonal Фланецd Винт (Hexagonal Flanged Screw)

под заказ300 руб.
9 234181601

Шайба с блокировкой 8 mm (Lock Washer 8 mm)

под заказ290 руб.
9 213100001

(последний код) Шайба с блокировкой 8 mm (Lock Washer 8 mm)

под заказ230 руб.
10 V50280DGF040BK

RH Head Lamp Sвышеport (RH Head Lamp Support)

под заказпо запросу
11 V50290DGF040BK

LH Head Lamp Sвышеport (LH Head Lamp Support)

под заказпо запросу
12 V15235DGF010

Rubber Подушка (Rubber Cushion)

под заказпо запросу
13 V50266DGF020

Reflector Кронштейн (Reflector Bracket)

под заказ620 руб.
14 V52370DGF000

Swing Рычаг (Swing Arm)

под заказпо запросу
14-1 V22135MAA000

Втулка (Bushing)

под заказ1070 руб.
15 V11400MAA000

Swing Рычаг Сальник Крышка (Swing Arm Seal Cover)

под заказ920 руб.
16 V50260DGF040BK

LH верхний Fixed Пластина (LH Upper Fixed Plate)

под заказпо запросу
17 V44170MAA000

Swing Рычаг Проставка (Swing Arm Spacer)

под заказ1660 руб.
18 V53436MAA000

Rubber Гильза (Rubber Sleeve)

под заказпо запросу
19 V9600014290

Hexagonal Фланецd Винт (Hexagonal Flanged Screw)

под заказпо запросу
20 232571414

Эластичная гайка со стопором M14 (Elastic Stop Nut M14)

под заказпо запросу
21 V9600008100

Hexagonal Фланецd Винт (Hexagonal Flanged Screw)

под заказ610 руб.
22 A9035010000

Гайка Nylon M10 (Nut Nylon M10)

под заказпо запросу
23 V958211006090

Hexagonal Фланецd Винт (Hexagonal Flanged Screw)

под заказпо запросу
24 V50268DGE000

Цепь Крышка Кронштейн (Chain Cover Bracket)

под заказпо запросу
25 207661244

Hex. Фланецd Винт M6 X 12 (Hex. Flanged Screw M6 X 12)

под заказ290 руб.
25 420640593

(последний код) Hex. Фланецd Винт M6 X 12 (Hex. Flanged Screw M6 X 12)

под заказ230 руб.
26 V9600108125

Hexagonal Фланецd Винт (Hexagonal Flanged Screw)

под заказ610 руб.
27 V85278DGF000

Rubber Подушка (Rubber Cushion)

под заказпо запросу
28 V50261DGF040BK

RH верхний Fixed Пластина (RH Upper Fixed Plate)

под заказпо запросу
29 V9309304012

Саморез (Tapping Screw)

под заказпо запросу
30 234161601

Шайба с блокировкой Helical M6 (Lock Washer Helical M6)

под заказ270 руб.
30 217361500

(последний код) Шайба с блокировкой Helical M6 (Lock Washer Helical M6)

под заказ210 руб.
31 207681244

Hex. Фланецd Винт (Hex. Flanged Screw)

под заказ290 руб.
32 207661644

Hex. Фланецd Винт M6 X 16 (Hex. Flanged Screw M6 X 16)

под заказ280 руб.
brp atv

Время выполнения запроса 2.0717420578003 сек.


 
 

данный сайт носит информационный характер и не является публичной офертой

склад запчастей для водомоторной техники