вконтакте

Контактный телефон: +7 (981) 121-46-93, +7 (800) 200-90-76 , Email: parts-katalog@yandex.ru, где купить

 
 

  Логин:

Пароль:

Регистрация

www.partskatalog.ru Все каталоги Запчасти Mercury Запчасти Suzuki Запчасти Tohatsu Запчасти Honda Контакты



УВАЖАЕМЫЕ КЛИЕНТЫ!
C 19 ДЕКАБРЯ 2025 ПО 02 МАРТА 2026 ГОДА ОТДЕЛ ЗАПЧАСТЕЙ И СЕРВИС РАБОТАТЬ НЕ БУДУТ
ПРОДАЖА ЛОДОЧНЫХ МОТОРОВ В ШТАТНОМ РЕЖИМЕ
ОБ ИЗМЕНЕНИЯХ В ГРАФИКЕ РАБОТЫ ЧИТАЙТЕ НА САЙТА




Выбрать другую модель

назад Раздел:   вперёд

вернуться к списку узлов и деталей

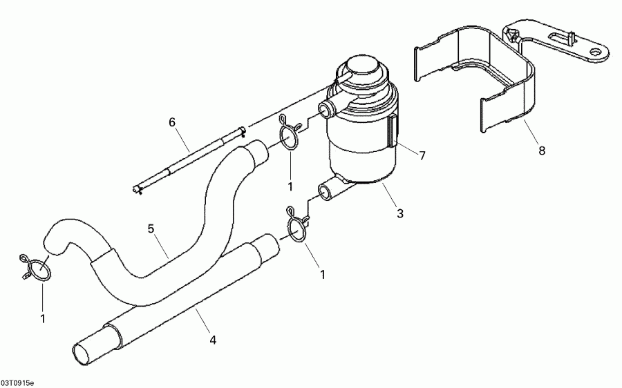
ДЕТАЛИРОВКА ДЛЯ МОДЕЛИ: BRP ATV DS 250 NA, CE & INT, 2009

Раздел: Air Injection System | Air Injection System


Мотовездеход Bombardier модель DS 250 NA, CE & INT, 2009 - Air Injection System

Номер на
рисунке
АртикулНаименованиеКол-во
на складе
Цена
1 S18533M7Q000

Зажим (Clip)

под заказпо запросу
3 S18650HMA000

Tank (Tank)

под заказ34800 руб.
4 S18655RCA000

Трубка (Tube)

под заказ1360 руб.
5 S18656RCA000

Трубка (Tube)

под заказ1660 руб.
6 S18657RCA000

Трубка (Tube)

под заказпо запросу
7 S18811N14000

AICV Setting Ремешок (AICV Setting Band)

под заказ610 руб.
8 S18659RCA000

Tank Sвышеport (Tank Support)

под заказ1210 руб.
brp atv

Время выполнения запроса 0.56438493728638 сек.


 
 

данный сайт носит информационный характер и не является публичной офертой

склад запчастей для водомоторной техники