| |
Выбрать другую модель
вернуться к списку узлов и деталей ДЕТАЛИРОВКА ДЛЯ МОДЕЛИ: BRP ATV DS 250 NA, EUR & INT, 2014
Раздел: Рама Европа | Frame Europe
Номер на рисунке | Артикул | Наименование | Кол-во на складе | Цена |
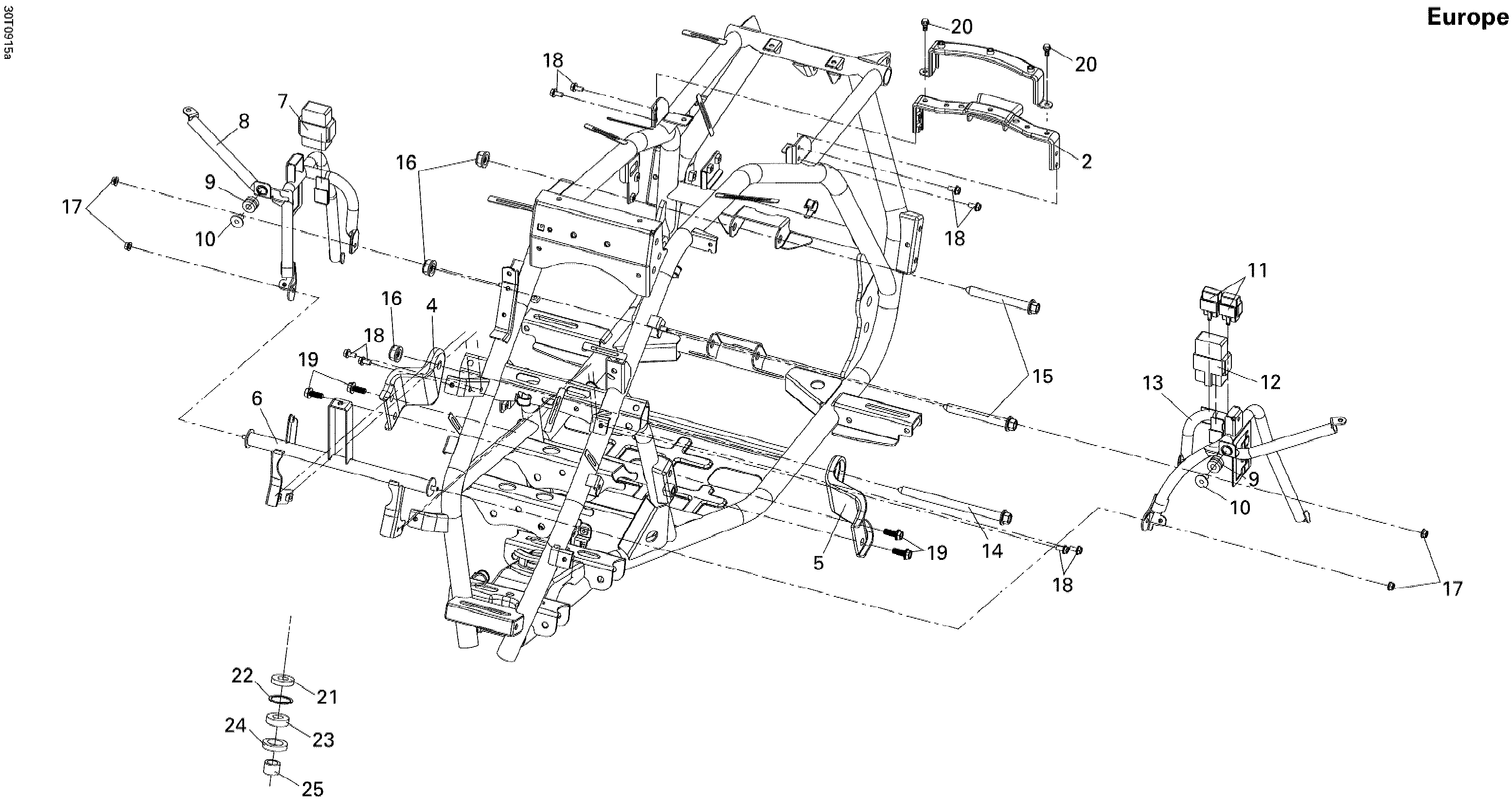
| 2 | S50171RCA000 | Tank Крышка Кронштейн (Tank Cover Bracket) | под заказ | 1530 руб. | |
| 4 | S50350RCA000 | RH Кронштейн двигателя (RH Engine Bracket) | под заказ | 1530 руб. | |
| 5 | S50360RCA000 | LH Кронштейн двигателя (LH Engine Bracket) | под заказ | 1530 руб. | |
| 6 | S50510RCA000 | Front Fender Sвышеport (Front Fender Support) | под заказ | 8370 руб. | |
| 7 | S3576ARCA000 | Переключатель Шестерня Управление Unit (Shift Gear Control Unit) | под заказ | 11700 руб. | |
| 8 | S50520RCA900 | RH Front Fender Sвышеport (RH Front Fender Support) | под заказ | 11700 руб. | |
| 9 | S80103X01000 | Rubber Шайба (Rubber Washer) | под заказ | 300 руб. | |
| 10 | S80104X01000 | Fender Воротник (Fender Collar) | под заказ | 310 руб. | |
| 11 | S3850AHLA000 | Электрика Реле в сборе (Electrical Relay Assy) | под заказ | 2120 руб. | |
| 12 | S3872ARA1010 | Hazard Управление Unit в сборе (Hazard Control Unit Assy) | под заказ | 10770 руб. | |
| 13 | S50522RCA900 | LH Front Fender Sвышеport (LH Front Fender Support) | под заказ | 9970 руб. | |
| 14 | S90101RCA000 | Болт M12 X 162 (Bolt M12 X 162) | под заказ | 610 руб. | |
| 15 | S90102RCA000 | Болт M12 X 98 (Bolt M12 X 98) | под заказ | 910 руб. | |
| 16 | S90306M9Q000 | Self Стопорная гайка M12 (Self Lock Nut M12) | под заказ | 610 руб. | |
| 17 | S9405006070 | Фланецd Гайка 6 mm (Flanged Nut 6 mm) | под заказ | 300 руб. | |
| 18 | S958010601207 | Фланецd Болт M6 X 12 (Flanged Bolt M6 X 12) | под заказ | 300 руб. | |
| 19 | S958011001607 | Фланецd Болт M10 X 16 (Flanged Bolt M10 X 16) | под заказ | 300 руб. | |
| 20 | S958010601207 | Фланецd Болт M6 X 12 (Flanged Bolt M6 X 12) | под заказ | 300 руб. | |
| 21 | S91210RCA000 | Сальник (Oil Seal) | под заказ | 610 руб. | |
| 22 | S9452032000 | Стопорное кольцо (Circlip) | под заказ | 300 руб. | |
| 23 | S961306002310 | Шариковый подшипник (Ball Bearing) | под заказ | 1360 руб. | |
| 24 | S91211RCA000 | Сальник (Oil Seal) | под заказ | 1360 руб. | |
| 25 | S53207RCA000 | Рулевая система Column Воротник (Steering Column Collar) | под заказ | 770 руб. | |

Время выполнения запроса 2.7253558635712 сек.
|
|