| |
Выбрать другую модель
вернуться к списку узлов и деталей ДЕТАЛИРОВКА ДЛЯ МОДЕЛИ: SKIDOO Touring E, 2000
Раздел: Электрика System | Electrical System
Номер на рисунке | Артикул | Наименование | Кол-во на складе | Цена |
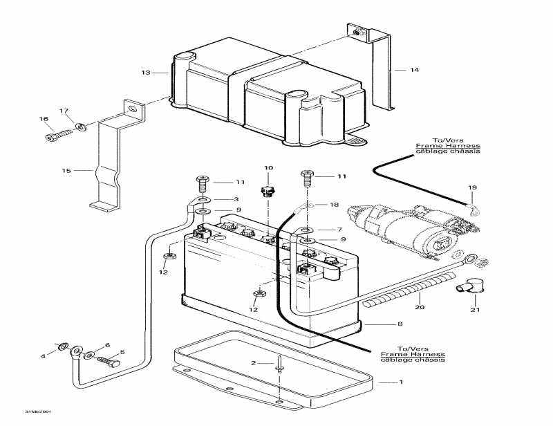
| 1 | 517286200 | Battery Седло (Battery Seat) | под заказ | по запросу |
| 2 | 390402200 | Pop Заклёпка (Pop Rivet) | под заказ | 138 руб. |
| 3 | 515157425 | Провод заземления (Ground Wire) | под заказ | по запросу |
| 4 | 394001900 | Ext. Tooth Шайба с блокировкой (Ext. Tooth Lock Washer) | под заказ | 130 руб. |
| 5 | 207161444 | Шестигранный винт M6 x 14 (Hex. Screw M6 x 14) | под заказ | 130 руб. |
| 5 | 222061465 | SCREW-HEX.CAP DIN.933 | под заказ | 110 руб. |
| 6 | 234161471 | Шайба с блокировкой 6 mm (Lock Washer 6 mm) | под заказ | 130 руб. |
| 6 | 224761110 | WASHER-LOCK THIN BLACK DIN.127 | под заказ | 110 руб. |
| 7 | 515175488 | Battery Провод (Battery Wire) | под заказ | по запросу |
| 8 | 410301100 | Battery. Includes 8 - 12. (Battery. Includes 8 - 12.) | под заказ | 5730 руб. |
| 8 | 410301201 | BATTERY (DRY) Y50-N18L-A | под заказ | 8110 руб. |
| 8 | FTX24HL-BS | (не оригинальная запчасть) Аккумулятор FTX24HL-BS (YTX24HL-BS) | под заказ | 10 260 руб. |
| 8 | F50-N18L-A | (не оригинальная запчасть) Аккумулятор F50-N18L-A (Y50-N18L-A) | под заказ | 7 960 руб. |
| 9 | 391302100 | плоский Шайба (Flat Washer) | под заказ | 130 руб. |
| 9 | 399901500 | WASHER-FLAT | под заказ | 110 руб. |
| 10 | 410300800 | Battery Колпачок (Battery Cap) | под заказ | 315 руб. |
| 11 | 207161644 | Шестигранный винт M6 x 16 (Hex. Screw M6 x 16) | под заказ | 284 руб. |
| 11 | 420241186 | SCREW-HEX.M6 X 16 | под заказ | 230 руб. |
| 12 | 232061414 | Hex. Гайка M6 (Hex. Nut M6) | под заказ | 284 руб. |
| 12 | 540802021 | NUT-HEX.M6 | под заказ | 230 руб. |
| 13 | 570022000 | Battery Крышка (Battery Cover) | под заказ | по запросу |
| 14 | 517286000 | Steel Stip (Steel Stip) | под заказ | 834 руб. |
| 15 | 517286100 | Steel Strip (Steel Strip) | под заказ | по запросу |
| 16 | 207152044 | Шестигранный винт M5 x 20 (Hex. Screw M5 x 20) | под заказ | 138 руб. |
| 16 | 222052065 | SCREW-HEX.CAP DIN.933 | под заказ | 110 руб. |
| 17 | 234151401 | Шайба с блокировкой 5 mm (Lock Washer 5 mm) | под заказ | 130 руб. |
| 17 | 224751090 | WASHER-LOCK BLACK DIN.127A | под заказ | 110 руб. |
| 18 | 409012600 | Open Barrel (Open Barrel) | под заказ | 335 руб. |
| 18 | 278001392 | COSSE A ANNEAU *BARREL-OPEN | под заказ | 430 руб. |
| 19 | 409012500 | Open Barrel (Open Barrel) | под заказ | 229 руб. |
| 20 | 409901700 | Трубопровод (Tubing) | под заказ | 715 руб. |
| 21 | 507151000 | Protection Колпачок (Protection Cap) | под заказ | по запросу |

Время выполнения запроса 9.6998670101166 сек.
|
|