вконтакте

Контактный телефон: +7 (981) 121-46-93, +7 (800) 200-90-76 , Email: parts-katalog@yandex.ru, где купить

 
 

  Логин:

Пароль:

Регистрация

www.partskatalog.ru Все каталоги Запчасти Mercury Запчасти Suzuki Запчасти Tohatsu Запчасти Honda Контакты


Выбрать другую модель

назад Раздел:  

вернуться к списку узлов и деталей

ДЕТАЛИРОВКА ДЛЯ МОДЕЛИ: SKIDOO Formula Deluxe 500 F, 2001

Раздел: Battery | Battery


snowmobile  модель Formula Deluxe 500 F, 2001 - Battery

Номер на
рисунке
АртикулНаименованиеКол-во
на складе
Цена
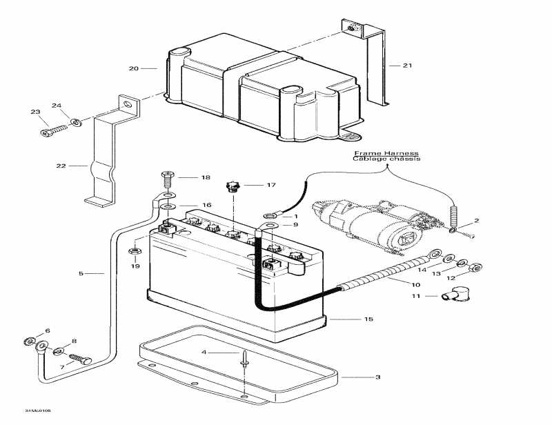
1 409012600

Open Barrel. дляmula DLX 500 F. (Open Barrel. Formula DLX 500 F.)

под заказ335 руб.
1 278001392

COSSE A ANNEAU *BARREL-OPEN

под заказ430 руб.
2 409012500

Open Barrel. дляmula DLX 500 F. (Open Barrel. Formula DLX 500 F.)

под заказ229 руб.
3 517286200

Battery Седло. дляmula DLX 500 F. (Battery Seat. Formula DLX 500 F.)

под заказпо запросу
4 390402200

Заклёпка. дляmula DLX 500 F. (Rivet. Formula DLX 500 F.)

под заказ138 руб.
5 515175425

Провод заземления. дляmula DLX 500 F. (Ground Wire. Formula DLX 500 F.)

под заказпо запросу
6 394001900

Шайба с блокировкой. дляmula DLX 500 F. (Lock Washer. Formula DLX 500 F.)

под заказ130 руб.
7 207161444

Шестигранный винт M6 x 14. дляmula DLX 500 F. (Hex. Screw M6 x 14. Formula DLX 500 F.)

под заказ130 руб.
7 222061465

SCREW-HEX.CAP DIN.933

под заказ110 руб.
8 234161471

Шайба с блокировкой 6 mm. дляmula DLX 500 F. (Lock Washer 6 mm. Formula DLX 500 F.)

под заказ130 руб.
8 224761110

WASHER-LOCK THIN BLACK DIN.127

под заказ110 руб.
9 515175488

Current Провод. дляmula DLX 500 F. (Current Wire. Formula DLX 500 F.)

под заказпо запросу
10409901700

Трубопровод. дляmula DLX 500 F. (Tubing. Formula DLX 500 F.)

под заказ715 руб.
11570151000

Защита Колпачок. дляmula DLX 500 F. (Protector Cap. Formula DLX 500 F.)

под заказ1350 руб.
11673580

CAPUCHON PROT. *CAP-PROTECTION

под заказ810 руб.
12232081414

Гайка M8. дляmula DLX 500 F. (Nut M8. Formula DLX 500 F.)

под заказ130 руб.
12702000780

ECROU *NUT

под заказ110 руб.
13420945752

Шайба с блокировкой 8 mm. дляmula DLX 500 F. (Lock Washer 8 mm. Formula DLX 500 F.)

под заказ118 руб.
13402001600

RONDELLE-FREIN *WASHER-LOCK#8

под заказ110 руб.
14234081410

плоский Шайба 8 mm. дляmula DLX 500 F. (Flat Washer 8 mm. Formula DLX 500 F.)

под заказ130 руб.
15410301100

Battery. Includes 15 - 18. дляmula DLX 500 F. (Battery. Includes 15 - 18. Formula DLX 500 F.)

под заказ5730 руб.
15410301201

BATTERY (DRY) Y50-N18L-A

под заказ8110 руб.
15FTX24HL-BS

     (не оригинальная запчасть) Аккумулятор FTX24HL-BS (YTX24HL-BS)

под заказ10 260 руб.
15F50-N18L-A

     (не оригинальная запчасть) Аккумулятор F50-N18L-A (Y50-N18L-A)

под заказ7 960 руб.
16391302100

Шайба. дляmula DLX 500 F. (Washer. Formula DLX 500 F.)

под заказ130 руб.
16399901500

WASHER-FLAT

под заказ110 руб.
17410300800

Battery Колпачок. дляmula DLX 500 F. (Battery Cap. Formula DLX 500 F.)

под заказ315 руб.
18207161644

Hex Винт M6 x 16. дляmula DLX 500 F. (Hex Screw M6 x 16. Formula DLX 500 F.)

под заказ284 руб.
18420241186

SCREW-HEX.M6 X 16

под заказ230 руб.
19232061414

Гайка M6. дляmula DLX 500 F. (Nut M6. Formula DLX 500 F.)

под заказ284 руб.
19540802021

NUT-HEX.M6

под заказ230 руб.
20570022000

Battery Крышка. дляmula DLX 500 F. (Battery Cover. Formula DLX 500 F.)

под заказпо запросу
21517286000

Steel Stip. дляmula DLX 500 F. (Steel Stip. Formula DLX 500 F.)

под заказ834 руб.
22517286100

Steel Strip. дляmula DLX 500 F. (Steel Strip. Formula DLX 500 F.)

под заказпо запросу
23207152044

Винт Hex. M5 x 20. дляmula DLX 500 F. (Screw Hex. M5 x 20. Formula DLX 500 F.)

под заказ138 руб.
23222052065

SCREW-HEX.CAP DIN.933

под заказ110 руб.
24234151401

Шайба с блокировкой 5 mm (чёрный) дляmula DLX 500 F. (Lock Washer 5 mm (Black). Formula DLX 500 F.)

под заказ130 руб.
24224751090

WASHER-LOCK BLACK DIN.127A

под заказ110 руб.
ski-doo

Время выполнения запроса 1.0896990299225 сек.


 
 

данный сайт носит информационный характер и не является публичной офертой

склад запчастей для водомоторной техники