вконтакте

Контактный телефон: +7 (981) 121-46-93, +7 (800) 200-90-76 , Email: parts-katalog@yandex.ru, где купить

 
 

  Логин:

Пароль:

Регистрация

www.partskatalog.ru Все каталоги Запчасти Mercury Запчасти Suzuki Запчасти Tohatsu Запчасти Honda Контакты


Выбрать другую модель

назад Раздел:   вперёд

вернуться к списку узлов и деталей

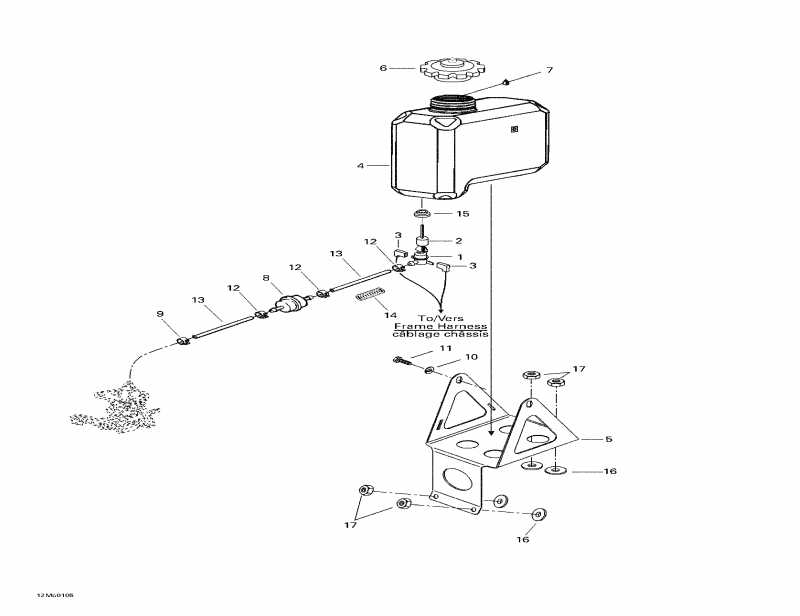
ДЕТАЛИРОВКА ДЛЯ МОДЕЛИ: SKIDOO Formula Deluxe 500 F, 2001

Раздел: Масляный бак и Sвышеport | Oil Tank And Support


снегоход Skidoo Formula Deluxe 500 F, 2001 раздел - Oil Tank And Support

Номер на
рисунке
АртикулНаименованиеКол-во
на складе
Цена
1 414681800

Oil Level Датчик (Oil Level Sensor)

под заказпо запросу
1 216818

OIL LEVEL SENSOR 414681800 BBD

под заказпо запросу
2 414681900

Поплавок (Float)

под заказпо запросу
2 2196819

KOHO SENSORILLE(USE 414681900)

под заказпо запросу
3 409010300

Female Клемма Корпус (1Circuit) (Female Terminal Housing (1Circuit))

под заказ428 руб.
4 572106700

Injection Масляный бак (Injection Oil Tank)

под заказпо запросу
4 572091600

RESERVOIR HUILE*TANK-OIL

под заказпо запросу
5 517284700

Oil Резервуар Sвышеport (Oil Reservoir Support)

под заказпо запросу
6 572071000

Масляный бак Колпачок (Oil Tank Cap)

под заказ1930 руб.
6 519000044

BOUCHON *CAP

под заказ3350 руб.
6 07-288-01

     (не оригинальная запчасть) Крышка топливного/масляного бака BRP 07-288-01

под заказ660 руб.
7 413803100

Blizzard Oil (12 x 500 ml) (Blizzard Oil (12 x 500 ml))

под заказпо запросу
7 496014500

HUIL BLI.500X12*OIL-BLIZ.

под заказпо запросу
413802900

Injection Oil (12 x 1 л) (Injection Oil (12 x 1 Liter))

под заказ910 руб.
619590101

XPS 2 stroke Mineral 3*1 gallon (293600118)

под заказ2200 руб.
413803000

Injection Oil (3 x 4 л) (Injection Oil (3 x 4 Liter))

под заказ2020 руб.
619590101

XPS 2 stroke Mineral 3*1 gallon (293600118)

под заказ2200 руб.
413803200

Injection Oil (205 л) (Injection Oil (205 Liter))

под заказ102100 руб.
293600119

HUILE 2T BARIL *OIL 2T DRUM MINERALE

под заказ102100 руб.
413711000

Synthetic Injection Oil (3 x 4 л) (Synthetic Injection Oil (3 x 4 Liter))

под заказ3170 руб.
293600133

XPS 2 stroke Synthetic 3*1 gallon (619590107)

под заказ3460 руб.
3150 руб.
413710700

Synthetic Injection Oil (205 л) (Synthetic Injection Oil (205 Liter))

под заказ161900 руб.
293600134

XPS 2 stroke Synthetic Drum 205 Liters (619590108)

под заказ161900 руб.
413710500

Synthetic Injection Oil (12 x 1 л) Bombardier-Rotax дляmula XP-S (Synthetic Injection Oil (12 x 1 Liter). Bombardier-Rotax Formula XP-S)

под заказ863 руб.
293600132

XPS 2 stroke Synthetic 12*1 quart (619590106)

под заказ1100 руб.
8 414536500

Фильтр (Filter)

под заказ308 руб.
8 07-246-05

     (не оригинальная запчасть) Фильтр масляный универсальный 07-246-05

под заказ370 руб.
8 07-246-06

     (не оригинальная запчасть) Фильтр масляный BRP 07-246-06

под заказ470 руб.
8 07-246-08

     (не оригинальная запчасть) Масляный фильтр 07-246-08

под заказ470 руб.
9 414420700

Пружина Зажим (Spring Clip)

под заказ138 руб.
9 27414420700

SPRING CLIP 414420700

под заказ110 руб.
10234161471

Шайба с блокировкой 6 mm (Lock Washer 6 mm)

под заказ130 руб.
10224761110

WASHER-LOCK THIN BLACK DIN.127

под заказ110 руб.
11207161044

Шестигранный винт M6 x 10 (Hex. Screw M6 x 10)

под заказ130 руб.
11420240771

SCREW-HEX.M6 X 10

под заказпо запросу
12414415200

Пружина Зажим (Spring Clip)

под заказ138 руб.
13415080700

Oil Line (Oil Line)

под заказ1150 руб.
13519000230

BOYAU *HOSE

под заказ900 руб.
14414940300

Пружина (Spring)

под заказ234 руб.
15570023000

Пыльник (Grommet)

под заказ572 руб.
152890230

GROMMET (USE 570023000)

под заказ450 руб.
15SM-07403

     (не оригинальная запчасть) Уплотнительная втулка масляного бачка BRP SM-07403

под заказ140 руб.
16414454400

Rubber Шайба (Rubber Washer)

под заказ308 руб.
16570123000

ENTRETOISE CAOU*SPACER-RUBBER

под заказпо запросу
17232561414

Эластичная гайка со стопором M6 (Elastic Stop Nut M6)

под заказ130 руб.
17420842040

NUT-STOP ELASTIC DIN.985

под заказ110 руб.
ski-doo

Время выполнения запроса 2.2493891716003 сек.


 
 

данный сайт носит информационный характер и не является публичной офертой

склад запчастей для водомоторной техники