вконтакте

Контактный телефон: +7 (981) 121-46-93, +7 (800) 200-90-76 , Email: parts-katalog@yandex.ru, где купить

 
 

  Логин:

Пароль:

Регистрация

www.partskatalog.ru Все каталоги Запчасти Mercury Запчасти Suzuki Запчасти Tohatsu Запчасти Honda Контакты


Выбрать другую модель

назад Раздел:   вперёд

вернуться к списку узлов и деталей

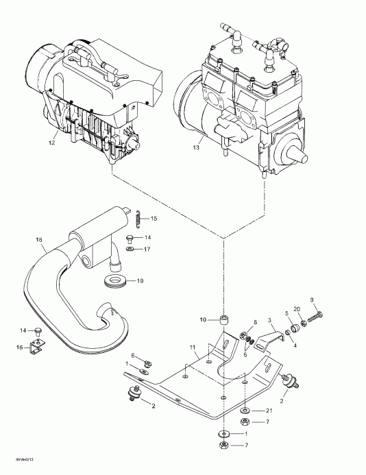
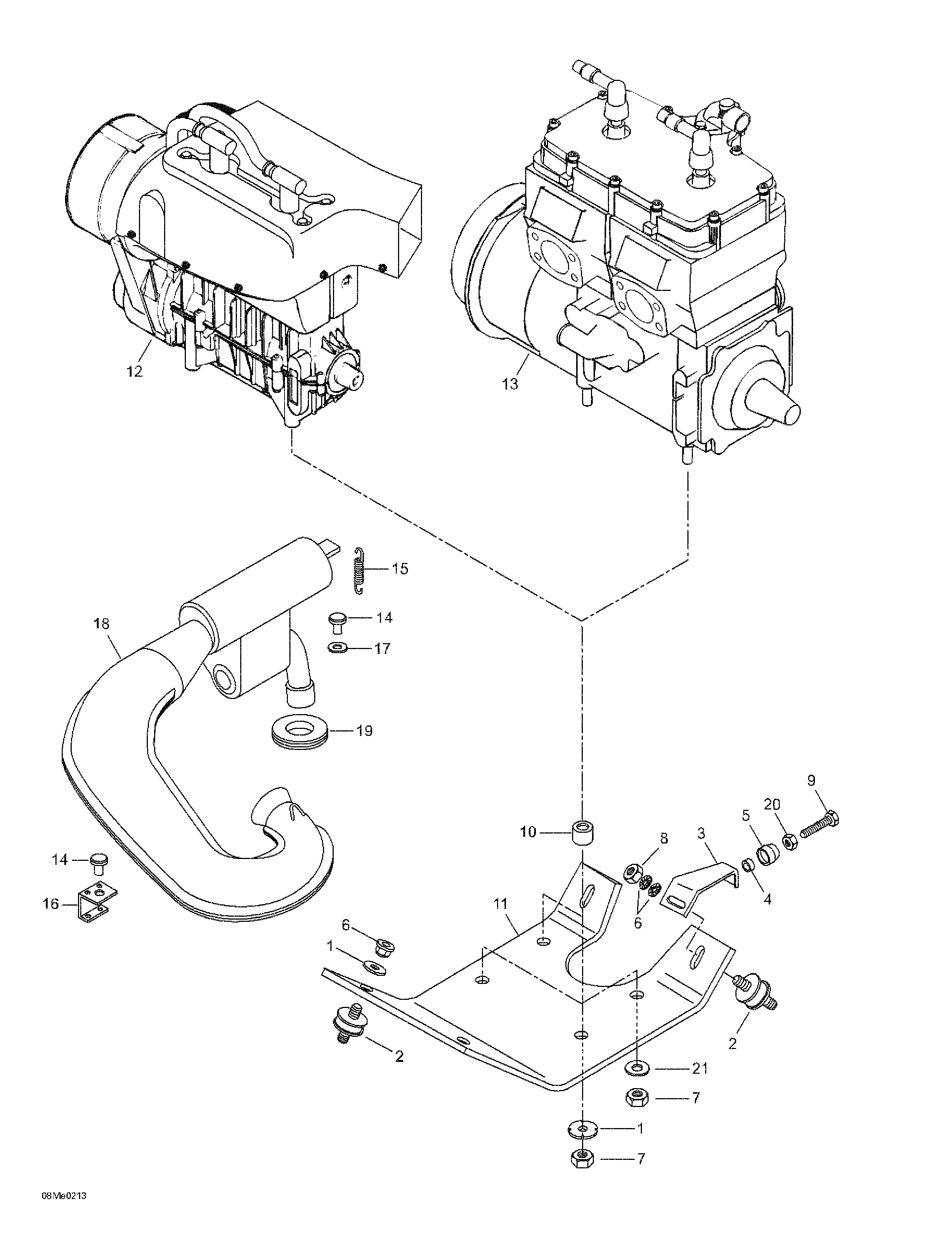
ДЕТАЛИРОВКА ДЛЯ МОДЕЛИ: SKIDOO Skandic 500/600, 2002

Раздел: Двигатель Sвышеport | Engine Support


снегоход Skidoo Skandic 500/600, 2002 раздел - Двигатель Sвышеport

Номер на
рисунке
АртикулНаименованиеКол-во
на складе
Цена
1 512056700

Шайба с блокировкой (Lock Washer)

под заказ548 руб.
1 517168000

RONDELLE-FREIN *WASHER-LOCK

под заказ430 руб.
2 570127700

Монтажная резинка (Rubber Mount)

под заказ2440 руб.
2 570128700

TAMPON ANCRAGE *MOUNT-RUBBER

под заказ4070 руб.
2 09-217

     (не оригинальная запчасть) Опора (подушка) двигателя BRP 09-217

под заказ760 руб.
3 M539902

Sвышеport (Support)

под заказпо запросу
4 M2846014

Rubber Шайба (Rubber Washer)

под заказпо запросу
5 M5440091

Гильза (Sleeve)

под заказпо запросу
6 M20068

Шайба (Washer)

под заказпо запросу
7 233601416

Эластичная гайка со стопором M10 (Elastic Stop Nut M10)

под заказ284 руб.
7 228501045

NUT-LOCKING ELASTIC DIN.982

под заказпо запросу
8 232006414

Гайка M10 (Nut M10)

под заказ284 руб.
8 420242091

NUT-HEX.M10

под заказ230 руб.
9 M40121

Шестигранный винт M8 x 25 (Hex. Screw M8 x 25)

под заказпо запросу
10M5440678

Гильза. Skandic 500F. Skandic 500F (SWT) (Sleeve. Skandic 500F. Skandic 500F (SWT).)

под заказ1030 руб.
M5446347

Гильза. Skandic 600. (Sleeve. Skandic 600.)

под заказ853 руб.
11M5342951

Двигатель Sвышеport. Skandic 500F. Skandic 500F (SWT) (Engine Support. Skandic 500F. Skandic 500F (SWT).)

под заказ10420 руб.
M5346175

Двигатель Sвышеport. Skandic 600. (Engine Support. Skandic 600.)

под заказпо запросу
12XXX

<<503>> Двигатель. Skandic 500F. Skandic 500F (SWT) (<<503>> Engine. Skandic 500F. Skandic 500F (SWT).)

13400509733

<<593>> Двигатель. Skandic 600. (<<593>> Engine. Skandic 600.)

под заказпо запросу
14570048700

Rubber Бампер (Rubber Bumper)

под заказ898 руб.
14514053654

BUTOIR CAOUT. *BUMPER RUBBER

под заказ1150 руб.
15420938795

Пружина (Spring)

под заказ601 руб.
1502-106-02

     (не оригинальная запчасть) Пружина крепления глушителя BRP 02-106-02

под заказ90 руб.
16M5444483

Sвышеport. Skandic 500F. Skandic 500F (SWT) (Support. Skandic 500F. Skandic 500F (SWT).)

под заказпо запросу
M5442681

Sвышеport. Skandic 600. (Support. Skandic 600.)

под заказпо запросу
17M20087

Шайба (Washer)

под заказпо запросу
18420979853

Tuned Трубка. Skandic 500F. Skandic 500F (SWT) (Tuned Pipe. Skandic 500F. Skandic 500F (SWT).)

под заказ48600 руб.
18605150131

TUYAU ECHAPP.AS*PIPE-TUNED AS

под заказ53000 руб.
420979856

Tuned Трубка. Skandic 600. (Tuned Pipe. Skandic 600.)

под заказ46500 руб.
5142543

TUYAU ECHAPP.AS*PIPE-TUNED AS

под заказ36400 руб.
19570039000

Выхлоп Шайба (Exhaust Washer)

под заказ1570 руб.
19570035600

RONDELLE ECHAPP*GROMMET-EXHAUS

под заказ1220 руб.
20M33003

Гайка (Nut)

под заказпо запросу
21M20105

плоский Шайба (Flat Washer)

под заказпо запросу
ski-doo

Время выполнения запроса 1.9582829475403 сек.


 
 

данный сайт носит информационный характер и не является публичной офертой

склад запчастей для водомоторной техники